ASTM G115-10(2018)
(Guide)Standard Guide for Measuring and Reporting Friction Coefficients
Standard Guide for Measuring and Reporting Friction Coefficients
SIGNIFICANCE AND USE
5.1 In this guide, factors that shall be considered in conducting a valid test for the determination of the coefficient of friction of a tribosystem are covered, and the use of a standard reporting format for friction data is encouraged.
5.2 The factors that are important for a valid test may not be obvious to non-tribologists, and the friction tests referenced will assist in selecting the apparatus and test technique that is most appropriate to simulate a tribosystem of interest.
5.3 The tribology literature is replete with friction data that cannot readily be used by others because specifics are not presented on the tribosystem that was used to develop the data. The overall goal of this guide is to provide a reporting format that will enable computer databases to be readily established. These databases can be searched for material couples and tribosystems of interest. Their use will significantly reduce the need for each laboratory to do its own testing. Sufficient information on test conditions will be available to determine applicability of the friction data to the engineer's specific needs.
SCOPE
1.1 This guide covers information to assist in the selection of a method for measuring the frictional properties of materials. Requirements for minimum data and a format for presenting these data are suggested. The use of the suggested reporting form will increase the long-term usefulness of the test results within a given laboratory and will facilitate the exchange of test results between laboratories. It is hoped that the use of a uniform reporting format will provide the basis for the preparation of handbooks and computerized databases.
1.2 This guide applies to most solid materials and to most friction measuring techniques and test equipment.
1.3 Units—The values stated in SI units are to be regarded as standard. No other units of measurement are included in this standard.
1.4 This standard does not purport to address all of the safety concerns, if any, associated with its use. It is the responsibility of the user of this standard to establish appropriate safety, health, and environmental practices and determine the applicability of regulatory limitations prior to use.
1.5 This international standard was developed in accordance with internationally recognized principles on standardization established in the Decision on Principles for the Development of International Standards, Guides and Recommendations issued by the World Trade Organization Technical Barriers to Trade (TBT) Committee.
General Information
- Status
- Published
- Publication Date
- 31-May-2018
- Technical Committee
- G02 - Wear and Erosion
- Drafting Committee
- G02.50 - Friction
Relations
- Effective Date
- 01-Jun-2018
- Refers
ASTM G164-99(2023) - Standard Test Method for Determination of Surface Lubrication on Flexible Webs - Effective Date
- 01-Nov-2023
- Effective Date
- 01-Nov-2023
- Effective Date
- 01-Nov-2023
- Effective Date
- 01-Nov-2023
- Effective Date
- 01-Feb-2020
- Effective Date
- 01-Feb-2020
- Effective Date
- 15-Dec-2019
- Effective Date
- 01-May-2019
- Effective Date
- 01-May-2019
- Effective Date
- 01-Jun-2018
- Refers
ASTM G164-99(2018) - Standard Test Method for Determination of Surface Lubrication on Flexible Webs - Effective Date
- 01-Jun-2018
- Effective Date
- 01-Nov-2017
- Effective Date
- 01-Nov-2017
- Effective Date
- 01-Oct-2017
Overview
ASTM G115-10(2018), Standard Guide for Measuring and Reporting Friction Coefficients, provides essential guidance for conducting, documenting, and exchanging friction test data for a wide range of solid materials. This international standard, developed by ASTM, is designed to assist engineers, researchers, and laboratories in selecting proper friction measurement methods and implementing standardized reporting practices. By establishing minimum data requirements and a uniform format, ASTM G115 supports the creation of reliable friction coefficient databases, facilitating effective data sharing and reducing the need for redundant testing.
Key Topics
- Friction Testing Procedures: Lists and references a broad range of ASTM and related friction test methods for various materials (metals, plastics, ceramics, lubricants, textiles, and more).
- Tribosystem Simulation: Emphasizes the importance of simulating the tribosystem of interest, including geometry, motion type, force, environment, and surface characteristics.
- Specimen Preparation: Details best practices for sample cleaning, handling, and geometry to ensure meaningful and repeatable results.
- Reporting Format: Provides a comprehensive list of required data for reporting, covering material descriptions, test conditions, apparatus configuration, and ancillary observations (e.g., stick-slip, surface alteration).
- Data Quality and Exchange: Advocates for standardized data formats to enable computerized databases, handbooks, and easy comparison across studies and laboratories.
- Precision and Validity: Discusses repeatability and variability factors, including surface wear, apparatus selection, and test-specific cautions.
Applications
ASTM G115 is widely applicable to both research and industrial settings where measurement and reporting of friction coefficients are crucial. Key applications include:
- Quality Control and Material Selection: Enables manufacturers and engineers to compare frictional properties of materials, select appropriate material couples, and validate product performance for applications such as bearings, seals, flooring, and textiles.
- Database Creation and Data Mining: The standardized reporting format allows organizations to build friction coefficient databases for internal research, product development, or public reference, minimizing duplication of testing.
- Tribology Research: Facilitates reproducibility and peer review by providing guidelines for thorough reporting of friction tests in academic and scientific research.
- Inter-laboratory Comparisons: Eases data exchange and benchmarking between companies, laboratories, and international partners by using common reporting standards.
- Product Certification and Regulatory Compliance: Supports compliance with safety, performance, and regulatory standards by ensuring accurate and detailed presentation of friction test data.
Industries benefiting from ASTM G115 include automotive, aerospace, construction, medical devices (prosthetics joint materials), paper and packaging, footwear and walkway safety, among others.
Related Standards
ASTM G115 references and is complemented by a collection of specific ASTM standards for different material groups and test setups. Notable related standards include:
- ASTM G99: Wear testing with a pin-on-disk apparatus
- ASTM G133: Linearly reciprocating ball-on-flat sliding wear
- ASTM D1894: Static and kinetic coefficients of friction of plastic film and sheeting
- ASTM D2047: Static coefficient of friction of polish-coated flooring surfaces
- ASTM E303: Measuring surface frictional properties using the British Pendulum Tester
- ASTM F732: Wear testing of polymeric materials for total joint prostheses
Other referenced standards cover calibration procedures, wear testing, surface preparation, and specialized friction measurements for textiles, paper products, lubricants, and more.
Summary
By implementing ASTM G115-10(2018), organizations gain a robust foundation for reliable measurement and reporting of friction coefficients across a wide spectrum of solid materials and tribosystems. Adoption of this standard enhances data quality, supports efficient research and development, and streamlines collaboration within the tribology community. For further method-specific details, users should consult the directly referenced ASTM standards tailored to their application.
Buy Documents
ASTM G115-10(2018) - Standard Guide for Measuring and Reporting Friction Coefficients
Get Certified
Connect with accredited certification bodies for this standard
BSMI (Bureau of Standards, Metrology and Inspection)
Taiwan's standards and inspection authority.
IMP NDT d.o.o.
Non-destructive testing services. Radiography, ultrasonic, magnetic particle, penetrant, visual inspection.
Inštitut za kovinske materiale in tehnologije
Institute of Metals and Technology. Materials testing, metallurgical analysis, NDT.
Sponsored listings
Frequently Asked Questions
ASTM G115-10(2018) is a guide published by ASTM International. Its full title is "Standard Guide for Measuring and Reporting Friction Coefficients". This standard covers: SIGNIFICANCE AND USE 5.1 In this guide, factors that shall be considered in conducting a valid test for the determination of the coefficient of friction of a tribosystem are covered, and the use of a standard reporting format for friction data is encouraged. 5.2 The factors that are important for a valid test may not be obvious to non-tribologists, and the friction tests referenced will assist in selecting the apparatus and test technique that is most appropriate to simulate a tribosystem of interest. 5.3 The tribology literature is replete with friction data that cannot readily be used by others because specifics are not presented on the tribosystem that was used to develop the data. The overall goal of this guide is to provide a reporting format that will enable computer databases to be readily established. These databases can be searched for material couples and tribosystems of interest. Their use will significantly reduce the need for each laboratory to do its own testing. Sufficient information on test conditions will be available to determine applicability of the friction data to the engineer's specific needs. SCOPE 1.1 This guide covers information to assist in the selection of a method for measuring the frictional properties of materials. Requirements for minimum data and a format for presenting these data are suggested. The use of the suggested reporting form will increase the long-term usefulness of the test results within a given laboratory and will facilitate the exchange of test results between laboratories. It is hoped that the use of a uniform reporting format will provide the basis for the preparation of handbooks and computerized databases. 1.2 This guide applies to most solid materials and to most friction measuring techniques and test equipment. 1.3 Units—The values stated in SI units are to be regarded as standard. No other units of measurement are included in this standard. 1.4 This standard does not purport to address all of the safety concerns, if any, associated with its use. It is the responsibility of the user of this standard to establish appropriate safety, health, and environmental practices and determine the applicability of regulatory limitations prior to use. 1.5 This international standard was developed in accordance with internationally recognized principles on standardization established in the Decision on Principles for the Development of International Standards, Guides and Recommendations issued by the World Trade Organization Technical Barriers to Trade (TBT) Committee.
SIGNIFICANCE AND USE 5.1 In this guide, factors that shall be considered in conducting a valid test for the determination of the coefficient of friction of a tribosystem are covered, and the use of a standard reporting format for friction data is encouraged. 5.2 The factors that are important for a valid test may not be obvious to non-tribologists, and the friction tests referenced will assist in selecting the apparatus and test technique that is most appropriate to simulate a tribosystem of interest. 5.3 The tribology literature is replete with friction data that cannot readily be used by others because specifics are not presented on the tribosystem that was used to develop the data. The overall goal of this guide is to provide a reporting format that will enable computer databases to be readily established. These databases can be searched for material couples and tribosystems of interest. Their use will significantly reduce the need for each laboratory to do its own testing. Sufficient information on test conditions will be available to determine applicability of the friction data to the engineer's specific needs. SCOPE 1.1 This guide covers information to assist in the selection of a method for measuring the frictional properties of materials. Requirements for minimum data and a format for presenting these data are suggested. The use of the suggested reporting form will increase the long-term usefulness of the test results within a given laboratory and will facilitate the exchange of test results between laboratories. It is hoped that the use of a uniform reporting format will provide the basis for the preparation of handbooks and computerized databases. 1.2 This guide applies to most solid materials and to most friction measuring techniques and test equipment. 1.3 Units—The values stated in SI units are to be regarded as standard. No other units of measurement are included in this standard. 1.4 This standard does not purport to address all of the safety concerns, if any, associated with its use. It is the responsibility of the user of this standard to establish appropriate safety, health, and environmental practices and determine the applicability of regulatory limitations prior to use. 1.5 This international standard was developed in accordance with internationally recognized principles on standardization established in the Decision on Principles for the Development of International Standards, Guides and Recommendations issued by the World Trade Organization Technical Barriers to Trade (TBT) Committee.
ASTM G115-10(2018) is classified under the following ICS (International Classification for Standards) categories: 17.040.20 - Properties of surfaces; 19.060 - Mechanical testing. The ICS classification helps identify the subject area and facilitates finding related standards.
ASTM G115-10(2018) has the following relationships with other standards: It is inter standard links to ASTM G115-10(2013), ASTM G164-99(2023), ASTM D6425-23, ASTM G99-23, ASTM G143-23, ASTM D3412/D3412M-13(2020), ASTM D3108/D3108M-13(2020), ASTM D6425-19, ASTM D3702-94(2019), ASTM D2714-94(2019), ASTM G182-13(2018), ASTM G164-99(2018), ASTM D2047-17, ASTM G176-03(2017), ASTM D6425-17. Understanding these relationships helps ensure you are using the most current and applicable version of the standard.
ASTM G115-10(2018) is available in PDF format for immediate download after purchase. The document can be added to your cart and obtained through the secure checkout process. Digital delivery ensures instant access to the complete standard document.
Standards Content (Sample)
This international standard was developed in accordance with internationally recognized principles on standardization established in the Decision on Principles for the
Development of International Standards, Guides and Recommendations issued by the World Trade Organization Technical Barriers to Trade (TBT) Committee.
Designation: G115 − 10 (Reapproved 2018)
Standard Guide for
Measuring and Reporting Friction Coefficients
This standard is issued under the fixed designation G115; the number immediately following the designation indicates the year of
original adoption or, in the case of revision, the year of last revision. A number in parentheses indicates the year of last reapproval. A
superscript epsilon (´) indicates an editorial change since the last revision or reapproval.
1. Scope Horizontal Dynamometer Pull-Meter Method (Withdrawn
2014)
1.1 This guide covers information to assist in the selection
D1894 Test Method for Static and Kinetic Coefficients of
of a method for measuring the frictional properties of materi-
Friction of Plastic Film and Sheeting
als. Requirements for minimum data and a format for present-
D2047 Test Method for Static Coefficient of Friction of
ingthesedataaresuggested.Theuseofthesuggestedreporting
Polish-Coated Flooring Surfaces as Measured by the
form will increase the long-term usefulness of the test results
James Machine
within a given laboratory and will facilitate the exchange of
D2394 Test Methods for Simulated ServiceTesting ofWood
test results between laboratories. It is hoped that the use of a
and Wood-Based Finish Flooring
uniform reporting format will provide the basis for the prepa-
D2534 Test Method for Coefficient of Kinetic Friction for
ration of handbooks and computerized databases.
Wax Coatings
1.2 This guide applies to most solid materials and to most
D2714 Test Method for Calibration and Operation of the
friction measuring techniques and test equipment.
Falex Block-on-Ring Friction and Wear Testing Machine
D3108/D3108M Test Method for Coefficient of Friction,
1.3 Units—The values stated in SI units are to be regarded
as standard. No other units of measurement are included in this Yarn to Solid Material
D3412/D3412M Test Method for Coefficient of Friction,
standard.
Yarn to Yarn
1.4 This standard does not purport to address all of the
D3702 Test Method for Wear Rate and Coefficient of Fric-
safety concerns, if any, associated with its use. It is the
tion of Materials in Self-Lubricated Rubbing Contact
responsibility of the user of this standard to establish appro-
Using a Thrust Washer Testing Machine
priate safety, health, and environmental practices and deter-
D4103 Practice for Preparation of Substrate Surfaces for
mine the applicability of regulatory limitations prior to use.
Coefficient of Friction Testing
1.5 This international standard was developed in accor-
D4917 Test Method for Coefficient of Static and Kinetic
dance with internationally recognized principles on standard-
FrictionofUncoatedWritingandPrintingPaperbyUseof
ization established in the Decision on Principles for the
the Horizontal Plane Method (Withdrawn 2010)
Development of International Standards, Guides and Recom-
D4918 Test Method for Coefficient of Static Friction of
mendations issued by the World Trade Organization Technical
Uncoated Writing and Printing Paper by Use of the
Barriers to Trade (TBT) Committee.
Inclined Plane Method (Withdrawn 2010)
D5183 Test Method for Determination of the Coefficient of
2. Referenced Documents
Friction of Lubricants Using the Four-Ball Wear Test
2.1 ASTM Standards:
Machine
C808 Guide for Reporting Friction and Wear Test Results of
D6425 Test Method for Measuring Friction and Wear Prop-
Manufactured Carbon and Graphite Bearing and Seal
erties of Extreme Pressure (EP) Lubricating Oils Using
Materials
SRV Test Machine
C1028 TestMethodforDeterminingtheStaticCoefficientof
E122 Practice for Calculating Sample Size to Estimate,With
Friction of Ceramic Tile and Other Like Surfaces by the
Specified Precision, the Average for a Characteristic of a
Lot or Process
This guide is under the jurisdiction of ASTM Committee G02 on Wear and E303 Test Method for Measuring Surface Frictional Proper-
Erosion and is the direct responsibility of Subcommittee G02.50 on Friction.
ties Using the British Pendulum Tester
CurrenteditionapprovedJune1,2018.PublishedJuly2018.Originallyapproved
E670 Test Method for Testing Side Force Friction on Paved
in 1993. Last previous edition was approved in 2013 as G115 – 10 (2013). DOI:
Surfaces Using the Mu-Meter
10.1520/G0115-10R18.
For referenced ASTM standards, visit the ASTM website, www.astm.org, or
contact ASTM Customer Service at service@astm.org. For Annual Book of ASTM
Standards volume information, refer to the standard’s Document Summary page on The last approved version of this historical standard is referenced on
the ASTM website. www.astm.org.
Copyright © ASTM International, 100 Barr Harbor Drive, PO Box C700, West Conshohocken, PA 19428-2959. United States
G115 − 10 (2018)
E1911 Test Method for Measuring Paved Surface Frictional
Properties Using the Dynamic Friction Tester (Withdrawn
2018)
E2100 Practice for Calculating the International Runway
Friction Index
E2101 Test Method for Measuring the Frictional Properties
of Winter Contaminated Pavement Surfaces Using an
Averaging-Type Spot Measuring Decelerometer
F609 Test Method for Using a Horizontal Pull Slipmeter
(HPS)
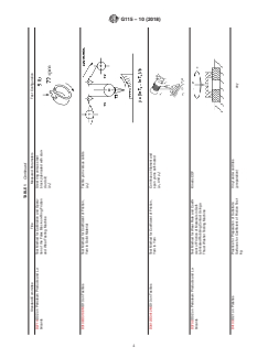
F695 Practice for Ranking of Test Data Obtained for Mea-
FIG. 1 Typical Force versus Distance Behavior for a System that
surement of Slip Resistance of Footwear Sole, Heel, and
Exhibits Stick-Slip Behavior
Related Materials (Withdrawn 2018)
F732 Test Method for Wear Testing of Polymeric Materials
accepted test may be used. General friction testing precautions
Used in Total Joint Prostheses
are cited and a prescribed method of recording friction data is
G40 Terminology Relating to Wear and Erosion
recommended.Thisguideisintendedtopromotetheuseofthis
G77 Test Method for Ranking Resistance of Materials to
standard reporting system and standard friction test methods.
Sliding Wear Using Block-on-Ring Wear Test
4.2 The use of one of the test methods (Table 1) cited in this
G99 Test Method for Wear Testing with a Pin-on-Disk
guide will give assurance of a testing procedure that has been
Apparatus
agreed-to for a particular application. In addition, it is impor-
G133 Test Method for Linearly Reciprocating Ball-on-Flat
tant to keep in mind that friction is a system property. The
Sliding Wear
coefficient of friction of polystyrene on mild steel measured on
G137 Test Method for Ranking Resistance of Plastic Mate-
a sled test (Test Method D1894) will probably be different than
rials to Sliding Wear Using a Block-On-Ring Configura-
the coefficient of the same couple measured on a block-on-ring
tion
tester (Test Method G176) since the coeffıcient of friction is a
G143 Test Method for Measurement of Web/Roller Friction
system effect.
Characteristics
G163 Guide for Digital Data Acquisition in Wear and
4.3 Data developed by others can be useful if sufficient
Friction Measurements (Withdrawn 2016) informationispresentedtocharacterizethetribosystemusedin
G164 Test Method for Determination of Surface Lubrication
testing. Conformance with this guide in testing and reporting
on Flexible Webs should produce data that can be reviewed for applicability to a
G176 Test Method for Ranking Resistance of Plastics to
particular tribosystem.
Sliding Wear Using Block-on-Ring Wear Test—
5. Significance and Use
Cumulative Wear Method
G181 Test Method for Conducting Friction Tests of Piston
5.1 In this guide, factors that shall be considered in con-
Ring and Cylinder Liner Materials Under Lubricated
ducting a valid test for the determination of the coefficient of
Conditions
friction of a tribosystem are covered, and the use of a standard
G182 Test Method for Determination of the Breakaway
reporting format for friction data is encouraged.
Friction Characteristics of Rolling Element Bearings
5.2 The factors that are important for a valid test may not be
G194 Test Method for Measuring Rolling Friction Charac-
obvious to non-tribologists, and the friction tests referenced
teristics of a Spherical Shape on a Flat Horizontal Plane
will assist in selecting the apparatus and test technique that is
most appropriate to simulate a tribosystem of interest.
3. Terminology
5.3 The tribology literature is replete with friction data that
3.1 For definitions relating to frictional properties of
cannot readily be used by others because specifics are not
materials, refer to Terminology G40.
presented on the tribosystem that was used to develop the data.
3.2 Definitions:
The overall goal of this guide is to provide a reporting format
3.2.1 stick-slip, n—relaxation oscillation usually associated
that will enable computer databases to be readily established.
with a decrease in the coefficient of friction as the relative
These databases can be searched for material couples and
velocity increases.
tribosystems of interest. Their use will significantly reduce the
3.2.1.1 Discussion—The usual manifestation is a cycling
need for each laboratory to do its own testing. Sufficient
decreaseandsubsequentincreaseinthefrictionforceassliding
information on test conditions will be available to determine
proceeds (Fig. 1).
applicability of the friction data to the engineer’s specific
needs.
4. Summary of Guide
6. Apparatus
4.1 Current ASTM International friction test standards are
tabulated in this guide so that users can review available test 6.1 Any of the devices shown schematically in Table 1 can
methods and determine which method may be most applicable be used to measure the friction forces in a sliding system.Wear
for a particular application. Any of the listed tests or other test machines are often equipped with sensors to measure
G115 − 10 (2018)
TABLE 1 ASTM Friction Tests and Applicable Materials
Standard/Committee Title Measured Parameters Test Configuration
C808/D02.F0 on Manufactured Carbon and Guide for Reporting Friction and Wear Carbon versus other mate-
Graphite Products Test Results of Manufactured Carbon rials
any
and Graphite Bearing and Seal Materi- (µ and µ )
s k
als
C1028/C21 on Ceramic Whitewares and Re- Test Method for Determining the Static Static COF wet and dry
lated Products Coefficient of Friction of Ceramic Tile
and Other Like Surfaces by the Hori-
zontal Dynamometer Pull-Meter
Method
D1894/D20 on Plastics Test Method for Static and Kinetic Co- Plastic film versus stiff or
efficients of Friction of Plastic Film and other solids
Sheeting (µ and µ )
s k
D2047/D21 on Polishes Test Method for Static Coefficient of Walking materials versus
Friction of Polish-Coated Flooring Sur- shoe heels and soles
faces as Measured by the James Ma- (µ and µ )
s k
chine
D2394/D07 on Wood Test Methods for Simulated Service Wood and wood base
Testing of Wood and Wood-Base Fin- flooring versus sole leather
ish Flooring (µ and µ )
s k
D2534/D02 on Petroleum Products and Lu- Test Method for Coefficient of Kinetic Kinetic coefficient of fric-
bricants Friction for Wax Coatings tion
G115 − 10 (2018)
TABLE 1 Continued
Standard/Committee Title Measured Parameters Test Configuration
D2714/D02 on Petroleum Products and Lu- Test Method for Calibration and Opera- Steel ring versus steel
bricants tion of the Falex Block-on-Ring Friction block (lubricated with stan-
and Wear Testing Machine dard oil)
(µ )
k
D3108/D3108M/D13 on Textiles Test Method for Coefficient of Friction, Textile yarn versus solids
Yarn to Solid Material (µ )
k
D3412/D3412M/D13 on Textiles Test Method for Coefficient of Friction, Continuous filament and
Yarn to Yarn spun yarns self-mated
(µ and µ )
s k
D3702/D02 on Petroleum Products and Lu- Test Method for Wear Rate and Coeffi- Kinetic COF
bricants cient of Friction of Materials in Self-
Lubricated Rubbing Contact Using a
Thrust Washer Testing Machine
D4103/D21 on Polishes Practice for Preparation of Substrate Vinyl and wood tiles
Surfaces for Coefficient of Friction Test- (preparation) any
ing
G115 − 10 (2018)
TABLE 1 Continued
Standard/Committee Title Measured Parameters Test Configuration
D4917/D06 on Paper and Paper Products Test Method for Coefficient of Static µ and µ
s k
and Kinetic Friction of Uncoated Writ-
ing and Printing Paper by Use of the
Horizontal Plane Method
D4918/D06 on Paper and Paper Products Test Method for Coefficient of Static Static COF
Friction of Uncoated Writing and Print-
ing Paper by Use of the Inclined Plane
Method
D5183/D02 on Petroleum Products and Lu- Test Method for Determination of the Coefficient of force for
bricants Coefficient of Friction of Lubricants Us- each increment of 10 kgf
ing the Four-Ball Wear Test Machine
D6425/D02 on Petroleum Products and Lu- Test Method for Measuring Friction and Coefficient of friction for
bricants Wear Properties of Extreme Pressure test (min, max, and at in-
(EP) Lubricating Oils Using SRV Test crements throughout the
Machine test)
E303/E17 on Vehicle-Pavement Systems Test Method for Measuring Surface Rubber versus pavement
Frictional Properties Using the British (BPN British Pendulum
Pendulum Tester Number)
G115 − 10 (2018)
TABLE 1 Continued
Standard/Committee Title Measured Parameters Test Configuration
E670/E17 on Vehicle-Pavement Systems Test Method for Testing Side Force Tires versus pavement
Friction on Paved Surfaces Using the Mu Number (F dry − F
Mu-Meter wet)
E1911/E17 on Vehicle-Pavement Systems Test Method for Measuring Paved Sur- Dynamic friction numbers
face Frictional Properties Using the (DNF) at 12, 24, 36, and
Dynamic Friction Tester 48 mph
E2100/E17 on Vehicle-Pavement Systems Practice for Calculating the Interna- Friction index for snow on
tional Runway Friction Index a runway
E2101/E17 on Vehicle-Pavement Systems Test Method for Measuring the Friction Friction index for pave-
Properties of Winter Contaminated ment
Pavement Surfaces Using an
Averaging-Type Spot Measuring Decel-
erometer
F609/F13 on Pedestrian/Walkway Safety and Test Method for Using a Horizontal Pull Footwear materials versus Same as D2047
Footwear Slipmeter (HPS) walking surfaces
(µ )
s
F695/F13 on Pedestrian/Walkway Safety and Practice for Ranking of Test Data Ob- Footwear materials versus
Footwear tained for Measurement of Slip Resis- walking surfaces (reliable
tance of Footwear Sole, Heel, and Re- ranking of footwear for slip Same as D2047
lated Materials resistance)
(µ )
k
G115 − 10 (2018)
TABLE 1 Continued
Standard/Committee Title Measured Parameters Test Configuration
F732/F04 on Medical and Surgical Materials Test Method for Wear Testing of Poly- Materials for human joints
and Devices meric Materials Used in Total Joint (µ )
k
Prostheses
G77/G02 on Wear and Erosion Test Method for Ranking Resistance of µ initial
s
Materials to Sliding Wear Using Block- µ final
k
on-Ring Wear Test µ final
k
G99/G02 on Wear and Erosion Test Method for Wear Testing with a COF
Pin-on-Disk Apparatus
G133/G02 Wear and Erosion Test Method for Linearly Reciprocating µ Same as F732
k
Ball-on-Flat Sliding Wear
G137/G02 Wear and Erosion Test Method for Ranking Resistance of µ
k
Plastic Materials to Sliding Wear Using
a Block-On-Ring Configuration
G115 − 10 (2018)
TABLE 1 Continued
Standard/Committee Title Measured Parameters Test Configuration
G143/G02 on Wear and Erosion Test Method for Measurement of Web/ µ
s
Roller Friction Characteristics µ
k
G163/G02 on Wear and Erosion Guide for Digital Data Acquisition in Guidelines on data acqui- Any rig
Wear and Friction Measurements sition
G164/G02 on Wear and Erosion Test Method for Determination of Sur- µ
s
face Lubrication on Flexible Webs
G176/G02 on Wear and Erosion Test Method for Ranking Resistance of µ
s
Plastics to Sliding Wear using Block- µ initial
k
on-Ring Wear Test—Cumulative Wear µ final
k
Method
G181/G02 on Wear and Erosion Practice for Conducting Friction Tests Average coefficient of fric-
of Piston Ring and Cylinder Liner Ma- tion
terials Under Lubricated Conditions
G115 − 10 (2018)
TABLE 1 Continued
Standard/Committee Title Measured Parameters Test Configuration
G182/G02 on Wear and Erosion Test Method for Determination of the µ
s
Breakaway Friction Characteristics of
Rolling Element Bearings
G194/G02 on Wear and Erosion Test Method for Measuring Rolling Fric- Coefficient of rolling resis-
tion Characteristics of a Spherical tance (CORR)
Shape on a Flat Horizontal Plane
G115 − 10 (2018)
ing of surface features are particularly prone to showing a
breakawayforcespike.(Blockingisatermusedtodescribethe
tendency of some plastic materials to stick to each other after
longperiodsofcontact.)Plasticizedvinylmaterialsoftenblock
when self mated. Plasticizer migration can be the cause.
7. General Precautions
7.1 The precautions listed in 7.1.1 – 7.1.10 are provided to
supplement those included in anyASTM International or other
friction test.
FIG. 2 Typical Force versus Distance Recording for a System
that has a Static Friction that is Higher than its Kinetic Friction 7.1.1 Avoid skin contact with the test surfaces. Fingerprints
can leave a film several micrometres thick that can affect
results. The method of cleaning the test surfaces and the
elapsed time between surface cleaning and friction testing
friction forces also. The appropriate device to use is the one
should be documented.
that closely simulates a tribosystem of interest.
7.1.2 Test in ambient conditions (atmosphere, temperature,
6.2 The key part of simulating a tribosystem is to use
and humidity) that are the same as the tribosystem of interest.
specimen geometries that resemble the components in the
Samples should be in equilibrium with their environment. It is
system of interest. A conti
...




Questions, Comments and Discussion
Ask us and Technical Secretary will try to provide an answer. You can facilitate discussion about the standard in here.
Loading comments...