ASTM B575-17(2023)
(Specification)Standard Specification for Low-Carbon Nickel-Chromium-Molybdenum, Low-Carbon Nickel-Chromium-Molybdenum-Copper, Low-Carbon Nickel-Chromium-Molybdenum-Tantalum, Low-Carbon Nickel-Chromium-Molybdenum-Tungsten, and Low-Carbon Nickel-Molybdenum-Chromium Alloy Plate, Sheet, and Strip
Standard Specification for Low-Carbon Nickel-Chromium-Molybdenum, Low-Carbon Nickel-Chromium-Molybdenum-Copper, Low-Carbon Nickel-Chromium-Molybdenum-Tantalum, Low-Carbon Nickel-Chromium-Molybdenum-Tungsten, and Low-Carbon Nickel-Molybdenum-Chromium Alloy Plate, Sheet, and Strip
ABSTRACT
This specification covers plate, sheet, and strip of low-carbon nickel-chromium-molybdenum alloys (UNS N10276, N06022, N06455, N06035, UNS N06058, UNS N06059), low carbon nickel-chromium-molybdenum-copper alloy (UNS N06200), low-carbon nickel-chromium-molybdenum-tantalum alloy (UNS N06210), and low-carbon nickel-chromium-molybdenum-tungsten alloy (UNS N06686) for use in general corrosive service. The materials shall conform to the required chemical composition for molybdenum, chromium, iorn, tungsten, cobalt, arbon, silicon, manganese, vanadium, phosphorus, sulfur, titanium, nickel, aluminum, copper, and tantalum. The alloys shall connform to the required tensile properties such as tensile strength, yield strength, elongation, and Rockwell hardness. Sheet and strip shall conform to the required grain sizes. Dimensions such as plate, sheet and strip thickness, width, length, straightness, squareness, flatness and edges shall be determined.
SCOPE
1.1 This specification2 covers plate, sheet, and strip of low-carbon nickel-chromium-molybdenum alloys (UNS N10276, N06022, N06455, N06035, N06044, UNS N06058, UNS N06059),3 low-carbon nickel-chromium-molybdenum-copper alloy (UNS N06200), low-carbon nickel-molybdenum-chromium (UNS N10362), low-carbon nickel-chromium-molybdenum-tantalum alloy (UNS N06210), and low-carbon nickel-chromium-molybdenum-tungsten alloy (UNS N06686) as shown in Table 1, for use in general corrosive service.
1.2 The following products are covered under this specification:
1.2.1 Sheet and Strip—Hot or cold rolled, solution annealed, and descaled unless solution anneal is performed in an atmosphere yielding a bright finish.
1.2.2 Plate—Hot or cold rolled, solution annealed, and descaled.
1.3 The values stated in inch-pound units are to be regarded as standard. The values given in parentheses are mathematical conversions to SI units that are provided for information only and are not considered standard.
1.4 This standard does not purport to address all of the safety concerns, if any, associated with its use. It is the responsibility of the user of this standard to establish appropriate safety, health, and environmental practices and determine the applicability of regulatory limitations prior to use.
1.5 This international standard was developed in accordance with internationally recognized principles on standardization established in the Decision on Principles for the Development of International Standards, Guides and Recommendations issued by the World Trade Organization Technical Barriers to Trade (TBT) Committee.
General Information
- Status
- Published
- Publication Date
- 31-Mar-2023
- Technical Committee
- B02 - Nonferrous Metals and Alloys
- Drafting Committee
- B02.07 - Refined Nickel and Cobalt and Their Alloys
Relations
- Effective Date
- 01-Nov-2017
- Effective Date
- 15-Nov-2012
- Effective Date
- 01-May-2012
- Effective Date
- 01-Nov-2010
- Effective Date
- 01-Dec-2006
- Effective Date
- 23-Oct-2006
- Effective Date
- 01-Apr-2005
- Effective Date
- 01-Apr-2005
- Effective Date
- 01-Nov-2004
- Effective Date
- 01-Nov-2004
- Effective Date
- 10-Apr-2003
- Effective Date
- 10-Oct-2002
- Effective Date
- 10-Jan-2002
- Effective Date
- 10-Jan-2002
- Effective Date
- 10-Jan-2002
Overview
ASTM B575-17(2023): Standard Specification for Low-Carbon Nickel Alloys Plate, Sheet, and Strip defines the requirements for a range of low-carbon nickel-chromium-molybdenum and related alloys in flat-rolled forms. Developed by ASTM International, this standard addresses the use of specialized alloys for general corrosive service, ensuring they meet strict chemical, mechanical, and dimensional criteria. The specification is widely referenced in industrial sectors where durability and corrosion resistance are critical, and supports international trade by aligning with WTO recognized principles.
Key Topics
Material Coverage:
- Specifies low-carbon nickel-chromium-molybdenum alloys (e.g., UNS N10276, N06022, N06455, N06035, N06044, N06058, N06059)
- Includes additional alloys such as nickel-chromium-molybdenum-copper (UNS N06200), nickel-chromium-molybdenum-tantalum (UNS N06210), nickel-chromium-molybdenum-tungsten (UNS N06686), and nickel-molybdenum-chromium (UNS N10362)
Product Forms:
- Hot or cold rolled plate, sheet, and strip products
- Products are solution annealed and descaled
Chemical Composition:
- Sets percentage limits for elements including molybdenum, chromium, nickel, iron, copper, tungsten, tantalum, and others
- Ensures alloys deliver consistent corrosion resistance and mechanical properties
Mechanical Properties:
- Specifies tensile strength, yield strength, elongation, and Rockwell hardness requirements
- Room temperature properties must comply with tabulated minimum values
Dimensional Requirements:
- Tolerances for thickness, width, length, straightness, squareness, flatness, and edges
- Requirements align with ASTM B906 for permissible variations
Grain Size for Sheet and Strip:
- Prescribes minimum ASTM grain size for enhanced material performance
Identification and Traceability:
- Products are marked with specification number, alloy, heat number, manufacturer, and dimensions for traceability
Safety, Health, and Environment:
- Users must establish compliance with relevant safety protocols
Applications
ASTM B575-17(2023) is pivotal in the following industries and use cases:
- Chemical Processing: Equipment like reactors, heat exchangers, and storage tanks that demand resistance to harsh chemicals
- Oil and Gas: Components exposed to sour environments or high-chloride service
- Pharmaceuticals: Manufacturing equipment requiring contamination control and corrosion resistance
- Desalination and Marine: Systems where saline and corrosive environments are present
- Power Generation: Turbine and boiler components subjected to aggressive conditions
- Pressure Vessels and Piping: For vessels constructed under the ASME Boiler and Pressure Vessel Code, this standard ensures material suitability and consistency
Compliance with ASTM B575 ensures longevity, safety, and integrity of critical infrastructure operating under corrosive or high-performance conditions.
Related Standards
A selection of standards closely associated with ASTM B575:
- ASTM B906: General requirements for flat-rolled nickel and nickel alloys plate, sheet, and strip
- ASTM E112: Test methods for determining average grain size
- ASTM E140: Hardness conversion tables for metals
- ASTM E527: Practice for numbering metals and alloys in the Unified Numbering System (UNS)
- ASME SB-575: Equivalent requirement for use in ASME Boiler and Pressure Vessel Code applications
For those specifying, purchasing, or fabricating flat products from low-carbon nickel alloys, following ASTM B575-17(2023) is essential for ensuring material quality and compliance across demanding industrial environments.
Buy Documents
ASTM B575-17(2023) - Standard Specification for Low-Carbon Nickel-Chromium-Molybdenum, Low-Carbon Nickel-Chromium-Molybdenum-Copper, Low-Carbon Nickel-Chromium-Molybdenum-Tantalum, Low-Carbon Nickel-Chromium-Molybdenum-Tungsten, and Low-Carbon Nickel-Molybdenum-Chromium Alloy Plate, Sheet, and Strip
Get Certified
Connect with accredited certification bodies for this standard

Element Materials Technology
Materials testing and product certification.
Inštitut za kovinske materiale in tehnologije
Institute of Metals and Technology. Materials testing, metallurgical analysis, NDT.
Sponsored listings
Frequently Asked Questions
ASTM B575-17(2023) is a technical specification published by ASTM International. Its full title is "Standard Specification for Low-Carbon Nickel-Chromium-Molybdenum, Low-Carbon Nickel-Chromium-Molybdenum-Copper, Low-Carbon Nickel-Chromium-Molybdenum-Tantalum, Low-Carbon Nickel-Chromium-Molybdenum-Tungsten, and Low-Carbon Nickel-Molybdenum-Chromium Alloy Plate, Sheet, and Strip". This standard covers: ABSTRACT This specification covers plate, sheet, and strip of low-carbon nickel-chromium-molybdenum alloys (UNS N10276, N06022, N06455, N06035, UNS N06058, UNS N06059), low carbon nickel-chromium-molybdenum-copper alloy (UNS N06200), low-carbon nickel-chromium-molybdenum-tantalum alloy (UNS N06210), and low-carbon nickel-chromium-molybdenum-tungsten alloy (UNS N06686) for use in general corrosive service. The materials shall conform to the required chemical composition for molybdenum, chromium, iorn, tungsten, cobalt, arbon, silicon, manganese, vanadium, phosphorus, sulfur, titanium, nickel, aluminum, copper, and tantalum. The alloys shall connform to the required tensile properties such as tensile strength, yield strength, elongation, and Rockwell hardness. Sheet and strip shall conform to the required grain sizes. Dimensions such as plate, sheet and strip thickness, width, length, straightness, squareness, flatness and edges shall be determined. SCOPE 1.1 This specification2 covers plate, sheet, and strip of low-carbon nickel-chromium-molybdenum alloys (UNS N10276, N06022, N06455, N06035, N06044, UNS N06058, UNS N06059),3 low-carbon nickel-chromium-molybdenum-copper alloy (UNS N06200), low-carbon nickel-molybdenum-chromium (UNS N10362), low-carbon nickel-chromium-molybdenum-tantalum alloy (UNS N06210), and low-carbon nickel-chromium-molybdenum-tungsten alloy (UNS N06686) as shown in Table 1, for use in general corrosive service. 1.2 The following products are covered under this specification: 1.2.1 Sheet and Strip—Hot or cold rolled, solution annealed, and descaled unless solution anneal is performed in an atmosphere yielding a bright finish. 1.2.2 Plate—Hot or cold rolled, solution annealed, and descaled. 1.3 The values stated in inch-pound units are to be regarded as standard. The values given in parentheses are mathematical conversions to SI units that are provided for information only and are not considered standard. 1.4 This standard does not purport to address all of the safety concerns, if any, associated with its use. It is the responsibility of the user of this standard to establish appropriate safety, health, and environmental practices and determine the applicability of regulatory limitations prior to use. 1.5 This international standard was developed in accordance with internationally recognized principles on standardization established in the Decision on Principles for the Development of International Standards, Guides and Recommendations issued by the World Trade Organization Technical Barriers to Trade (TBT) Committee.
ABSTRACT This specification covers plate, sheet, and strip of low-carbon nickel-chromium-molybdenum alloys (UNS N10276, N06022, N06455, N06035, UNS N06058, UNS N06059), low carbon nickel-chromium-molybdenum-copper alloy (UNS N06200), low-carbon nickel-chromium-molybdenum-tantalum alloy (UNS N06210), and low-carbon nickel-chromium-molybdenum-tungsten alloy (UNS N06686) for use in general corrosive service. The materials shall conform to the required chemical composition for molybdenum, chromium, iorn, tungsten, cobalt, arbon, silicon, manganese, vanadium, phosphorus, sulfur, titanium, nickel, aluminum, copper, and tantalum. The alloys shall connform to the required tensile properties such as tensile strength, yield strength, elongation, and Rockwell hardness. Sheet and strip shall conform to the required grain sizes. Dimensions such as plate, sheet and strip thickness, width, length, straightness, squareness, flatness and edges shall be determined. SCOPE 1.1 This specification2 covers plate, sheet, and strip of low-carbon nickel-chromium-molybdenum alloys (UNS N10276, N06022, N06455, N06035, N06044, UNS N06058, UNS N06059),3 low-carbon nickel-chromium-molybdenum-copper alloy (UNS N06200), low-carbon nickel-molybdenum-chromium (UNS N10362), low-carbon nickel-chromium-molybdenum-tantalum alloy (UNS N06210), and low-carbon nickel-chromium-molybdenum-tungsten alloy (UNS N06686) as shown in Table 1, for use in general corrosive service. 1.2 The following products are covered under this specification: 1.2.1 Sheet and Strip—Hot or cold rolled, solution annealed, and descaled unless solution anneal is performed in an atmosphere yielding a bright finish. 1.2.2 Plate—Hot or cold rolled, solution annealed, and descaled. 1.3 The values stated in inch-pound units are to be regarded as standard. The values given in parentheses are mathematical conversions to SI units that are provided for information only and are not considered standard. 1.4 This standard does not purport to address all of the safety concerns, if any, associated with its use. It is the responsibility of the user of this standard to establish appropriate safety, health, and environmental practices and determine the applicability of regulatory limitations prior to use. 1.5 This international standard was developed in accordance with internationally recognized principles on standardization established in the Decision on Principles for the Development of International Standards, Guides and Recommendations issued by the World Trade Organization Technical Barriers to Trade (TBT) Committee.
ASTM B575-17(2023) is classified under the following ICS (International Classification for Standards) categories: 77.150.40 - Nickel and chromium products. The ICS classification helps identify the subject area and facilitates finding related standards.
ASTM B575-17(2023) has the following relationships with other standards: It is inter standard links to ASTM B906-02(2017), ASTM E112-12, ASTM B906-02(2012), ASTM E112-10, ASTM B906-02(2006), ASTM E112-96(2004)e2, ASTM E140-05, ASTM E140-05e1, ASTM E112-96(2004)e1, ASTM E112-96(2004), ASTM E527-83(2003), ASTM B906-02, ASTM E140-97e2, ASTM E140-97e3, ASTM E140-02e1. Understanding these relationships helps ensure you are using the most current and applicable version of the standard.
ASTM B575-17(2023) is available in PDF format for immediate download after purchase. The document can be added to your cart and obtained through the secure checkout process. Digital delivery ensures instant access to the complete standard document.
Standards Content (Sample)
This international standard was developed in accordance with internationally recognized principles on standardization established in the Decision on Principles for the
Development of International Standards, Guides and Recommendations issued by the World Trade Organization Technical Barriers to Trade (TBT) Committee.
Designation: B575 − 17 (Reapproved 2023)
Standard Specification for
Low-Carbon Nickel-Chromium-Molybdenum, Low-Carbon
Nickel-Chromium-Molybdenum-Copper, Low-Carbon Nickel-
Chromium-Molybdenum-Tantalum, Low-Carbon Nickel-
Chromium-Molybdenum-Tungsten, and Low-Carbon Nickel-
Molybdenum-Chromium Alloy Plate, Sheet, and Strip
This standard is issued under the fixed designation B575; the number immediately following the designation indicates the year of
original adoption or, in the case of revision, the year of last revision. A number in parentheses indicates the year of last reapproval. A
superscript epsilon (´) indicates an editorial change since the last revision or reapproval.
This standard has been approved for use by agencies of the U.S. Department of Defense.
1. Scope 1.5 This international standard was developed in accor-
dance with internationally recognized principles on standard-
1.1 This specification covers plate, sheet, and strip of
ization established in the Decision on Principles for the
low-carbon nickel-chromium-molybdenum alloys (UNS
Development of International Standards, Guides and Recom-
N10276, N06022, N06455, N06035, N06044, UNS N06058,
mendations issued by the World Trade Organization Technical
UNS N06059), low-carbon nickel-chromium-molybdenum-
Barriers to Trade (TBT) Committee.
copper alloy (UNS N06200), low-carbon nickel-molybdenum-
chromium (UNS N10362), low-carbon nickel-chromium-
2. Referenced Documents
molybdenum-tantalum alloy (UNS N06210), and low-carbon
nickel-chromium-molybdenum-tungsten alloy (UNS N06686)
2.1 ASTM Standards:
as shown in Table 1, for use in general corrosive service.
B906 Specification for General Requirements for Flat-
1.2 The following products are covered under this specifi- Rolled Nickel and Nickel Alloys Plate, Sheet, and Strip
cation: E112 Test Methods for Determining Average Grain Size
1.2.1 Sheet and Strip—Hot or cold rolled, solution annealed, E140 Hardness Conversion Tables for Metals Relationship
and descaled unless solution anneal is performed in an atmo- Among Brinell Hardness, Vickers Hardness, Rockwell
sphere yielding a bright finish. Hardness, Superficial Hardness, Knoop Hardness, Sclero-
1.2.2 Plate—Hot or cold rolled, solution annealed, and
scope Hardness, and Leeb Hardness
descaled.
E527 Practice for Numbering Metals and Alloys in the
Unified Numbering System (UNS)
1.3 The values stated in inch-pound units are to be regarded
as standard. The values given in parentheses are mathematical
3. Terminology
conversions to SI units that are provided for information only
and are not considered standard.
3.1 Definitions of Terms Specific to This Standard:
3 3
1.4 This standard does not purport to address all of the 3.1.1 cold-rolled plate, n—material ⁄16 in. to ⁄8 in.
safety concerns, if any, associated with its use. It is the
(4.76 mm to 9.52 mm), inclusive, in thickness.
responsibility of the user of this standard to establish appro-
3.1.2 hot-rolled plate, n—material ⁄16 in. (4.76 mm) and
priate safety, health, and environmental practices and deter-
over in thickness.
mine the applicability of regulatory limitations prior to use.
3.1.3 plate, n—material ⁄16 in. (4.76 mm) and over in
thickness.
This specification is under the jurisdiction of ASTM Committee B02 on
3.1.4 sheet and strip, n—material under ⁄16 in. (4.76 mm) in
Nonferrous Metals and Alloys and is the direct responsibility of Subcommittee
thickness.
B02.07 on Refined Nickel and Cobalt and Their Alloys.
Current edition approved April 1, 2023. Published April 2023. Originally
approved in 1972. Last previous edition approved in 2017 as B575 – 17. DOI:
10.1520/B0575-23.
2 4
For ASME Boiler and Pressure Vessel Code applications, see related Specifi- For referenced ASTM standards, visit the ASTM website, www.astm.org, or
cation SB-575 in Section II of that Code. contact ASTM Customer Service at service@astm.org. For Annual Book of ASTM
Designation established in accordance with Practice E527 and SAE J1086, Standards volume information, refer to the standard’s Document Summary page on
Practice for Numbering Metals and Alloys (UNS). the ASTM website.
*A Summary of Changes section appears at the end of this standard
Copyright © ASTM International, 100 Barr Harbor Drive, PO Box C700, West Conshohocken, PA 19428-2959. United States
B575 − 17 (2023)
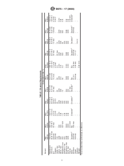
TABLE 1 Chemical Requirements
Composition Limits, %
Element
Alloy Alloy Alloy Alloy Alloy Alloy Alloy Alloy Alloy Alloy Alloy
N06035 N06044 N10276 N06022 N06455 N06059 N06058 N06200 N06210 N10362 N06686
Molybdenum 7.60–9.00 0.80-1.20 15.0–17.0 12.5–14.5 14.0–17.0 15.0–16.5 18.5–21.0 15.0–17.0 18.0–20.0 21.5–23.0 15.0-17.0
Chromium 32.25–34.25 43.5-45.3 14.5–16.5 20.0–22.5 14.0–18.0 22.0–24.0 20.0–23.0 22.0–24.0 18.0–20.0 13.8–15.6 19.0-23.0
Iron 2.00 max 0.3 max 4.0–7.0 2.0–6.0 3.0 max 1.5, max 1.5, max 3.0 max 1.0 max 1.25 max 5.0 max
Tungsten 0.60 max . 3.0–4.5 2.5–3.5 . . 0.3 max . . . 3.0-4.4
Cobalt, max 1.00 . 2.5 2.5 2.0 0.3 0.3 2.0 max 1.0 . .
Carbon, max 0.050 0.02 0.010 0.015 0.015 0.010 0.010 0.010 0.015 0.010 0.010
Silicon, max 0.60 0.20 0.08 0.08 0.08 0.10 0.10 0.08 0.08 0.08 0.08
Manganese, max 0.50 0.07-0.30 1.0 0.50 1.0 0.5 0.5 0.50 0.5 0.60 0.75
Vanadium, max 0.20 . 0.35 0.35 . . . . 0.35 . .
Phosphorus, max 0.030 0.020 0.04 0.02 0.04 0.015 0.015 0.025 0.02 0.025 0.04
Sulfur, max 0.015 0.020 0.03 0.02 0.03 0.010 0.010 0.010 0.02 0.010 0.02
Titanium . 0.10-0.30 . . 0.7 max . . . . . 0.02-0.25
A A A A A A A A
Nickel remainder Bal remainder remainder remainder Bal Bal remainder remainder remainder remainder
Aluminum 0.40 max 0.30 max . . . 0.1–0.4 0.40 max 0.50 max . 0.50 max .
Copper 0.30 max . . . . 0.50 max 0.50 max 1.3–1.9 . . .
Tantalum . . . . . . . . 1.5–2.2 . .
Nitrogen . . . . . . 0.02–0.15
A
Shall be determined arithmetically by difference.
B575 − 17 (2023)
TABLE 2 Mechanical Property Requirements
Yield Strength (0.2 %
Elongation in 2 in.
B
Tensile Strength, min, psi
Rockwell Hardness,
A
Alloy Offset), min, psi
(50.8 mm) or 4D
max
(MPa)
min, %
(MPa)
N10276 100 000 (690) 41 000 (283) 40 100 HRB
N06022 100 000 (690) 45 000 (310) 45 100 HRB
N06455 100 000 (690) 40 000 (276) 40 100 HRB
N06035 85 000 (586) 35 000 (241) 30 100 HRB
N06044 100 000 (690) 45 000 (310) 30 100 HRB
N06058 110 000 (760) 52 000 (360) 40 100 HRB
N06059 100 000 (690) 45 000 (310) 45 100 HRB
N06200 100 000 (690) 45 000 (310) 45 100 HRB
N10362 105 000 (725) 45 000 (310) 40 100 HRB
N06686 100 000 (690) 45 000 (310) 45 100 HRB
N06210 100 000 (690) 45 000 (310) 45 100 HRB
A
D refers to the diameter of the tension specimen.
B
Hardness values are shown for information purposes only and are not to be used as a basis of acceptance or rejection. For approx
...




Questions, Comments and Discussion
Ask us and Technical Secretary will try to provide an answer. You can facilitate discussion about the standard in here.
Loading comments...