ASTM D1742-20
(Test Method)Standard Test Method for Oil Separation from Lubricating Grease During Storage
Standard Test Method for Oil Separation from Lubricating Grease During Storage
SIGNIFICANCE AND USE
5.1 When a lubricating grease separates oil, the remaining composition increases in consistency. This can affect the ability of the product to function as designed.
5.2 It has been found that the results of this test correlate directly with the oil separation that occurs in 35 lb pails of grease during storage.
5.3 This test method is not intended to predict oil separation tendencies of the grease under dynamic conditions.
SCOPE
1.1 This test method covers the determination of the tendency of a lubricating grease to separate oil during storage in both normally filled and partially filled containers.
1.2 This test method is not suitable for greases softer than NLGI No. 1 grade.
FIG. 1 Pressure Bleeding Test Cell A
1.3 The values stated in SI units are to be regarded as standard, except for the dimensions in Fig. 2 and Fig. 5, where inch-pound units are standard.
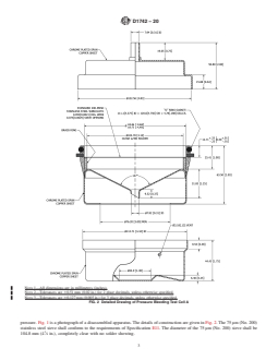
FIG. 2 Detailed Drawing of Pressure Bleeding Test Cell A
Note 1: All dimensions are in millimeters (inches).
Note 2: Tolerances are ±0.51 mm (0.02 in.) for 2 place decimals, unless otherwise specified.
Note 3: Tolerances are ±0.127 mm (0.005 in.) for 3 place decimals, unless otherwise specified.
FIG. 3 Pressure Bleeding Test Cell B
FIG. 4 Pressure Bleeding Test Cell C
FIG. 5 Detailed Drawing of Pressure Bleeding Test Cell C—Strainer Assembly
Note 1: All dimensions are in millimeters (inches).
Note 2: Tolerances are ±0.51 mm (0.02 in.) for 2 place decimals, unless otherwise specified.
Note 3: Tolerances are ±0.127 mm (0.005 in.) for 3 place decimals, unless otherwise specified.
1.4 This standard does not purport to address all of the safety concerns, if any, associated with its use. It is the responsibility of the user of this standard to establish appropriate safety, health, and environmental practices and determine the applicability of regulatory limitations prior to use. For a specific hazard statement, see 7.1.
1.5 This international standard was developed in accordance with internationally recognized principles on standardization established in the Decision on Principles for the Development of International Standards, Guides and Recommendations issued by the World Trade Organization Technical Barriers to Trade (TBT) Committee.
General Information
Relations
Buy Standard
Standards Content (Sample)
This international standard was developed in accordance with internationally recognized principles on standardization established in the Decision on Principles for the
Development of International Standards, Guides and Recommendations issued by the World Trade Organization Technical Barriers to Trade (TBT) Committee.
Designation: D1742 − 20
Standard Test Method for
1
Oil Separation from Lubricating Grease During Storage
This standard is issued under the fixed designation D1742; the number immediately following the designation indicates the year of
original adoption or, in the case of revision, the year of last revision. A number in parentheses indicates the year of last reapproval. A
superscript epsilon (´) indicates an editorial change since the last revision or reapproval.
This standard has been approved for use by agencies of the U.S. Department of Defense.
1. Scope* 2.2 Other Standard:
3
NLGI Grease Consistency Classification
1.1 This test method covers the determination of the ten-
dency of a lubricating grease to separate oil during storage in
3. Terminology
both normally filled and partially filled containers.
3.1 Definitions:
1.2 This test method is not suitable for greases softer than
3.1.1 lubricating grease, n—a semi-fluid to solid product of
NLGI No. 1 grade.
a thickener in a liquid lubricant.
1.3 The values stated in SI units are to be regarded as 3.1.1.1 Discussion—The dispersion of the thickener forms a
standard, except for the dimensions in Fig. 2 and Fig. 5, where two-phase system and immobilizes the liquid lubricant by
inch-pound units are standard. surface tension and other physical forces. Other ingredients are
commonly included to impart special properties.
1.4 This standard does not purport to address all of the
safety concerns, if any, associated with its use. It is the 3.1.2 oil separation, n—the appearance of a liquid fraction
responsibility of the user of this standard to establish appro- from an otherwise homogeneous lubricating composition.
priate safety, health, and environmental practices and deter-
3.1.3 thickener, n—in lubricating grease, a substance com-
mine the applicability of regulatory limitations prior to use.
posed of finely-divided particles dispersed in a liquid lubricant
For a specific hazard statement, see 7.1.
to form the product’s structure.
1.5 This international standard was developed in accor-
3.1.3.1 Discussion—The thickeners can be fibers (such as
dance with internationally recognized principles on standard-
various metallic soaps) or plates or spheres (such as certain
ization established in the Decision on Principles for the
non-soapthickeners),whichareinsolubleor,atmost,onlyvery
Development of International Standards, Guides and Recom-
slightly soluble in the liquid lubricant. The general require-
mendations issued by the World Trade Organization Technical
ments are that the solid particles be extremely small, uniformly
Barriers to Trade (TBT) Committee.
dispersed, and capable of forming a relatively stable, gel-like
structure with the liquid lubricant.
2. Referenced Documents
2 4. Summary of Test Method
2.1 ASTM Standards:
E11 Specification for Woven Wire Test Sieve Cloth and Test 4.1 The sample of grease, supported on a 75 µm (No. 200)
Sieves sieve,issubjectedto1.72 kPa(0.25 psi)airpressurefor24 hat
25 °C (77 °F).Any oil seepage that occurs drains into a beaker
and is weighed.
1
This test method is under the jurisdiction of the ASTM Committee D02 on
5. Significance and Use
Petroleum Products, Liquid Fuels, and Lubricants and is the direct responsibility of
Subcommittee D02.G0.03 on Physical Tests.
5.1 When a lubricating grease separates oil, the remaining
Current edition approved May 1, 2020. Published June 2020. Originally
compositionincreasesinconsistency.Thiscanaffecttheability
approved in 1960. Last previous edition approved in 2018 as D1742 – 18. DOI:
10.1520/D1742-20. of the product to function as designed.
2
For referenced ASTM standards, visit the ASTM website, www.astm.org, or
contact ASTM Customer Service at service@astm.org. For Annual Book of ASTM
3
Standards volume information, refer to the standard’s Document Summary page on Available from NLGI, 249 SW Noel, Suite 249, Lee’s Summit, MO 64063,
the ASTM website. http://www.nlgi.org.
*A Summary of Changes section appears at the end of this standard
Copyright © ASTM International, 100 Barr Harbor Drive, PO Box C700, West Conshohocken, PA 19428-2959. United States
1
---------------------- Page: 1 ----------------------
D1742 − 20
in Fig. 2. The 75 µm (No. 200) stainless steel sieve shall
conform to the requirements of Specification E11. The diam-
1
eter of the 75 µm (No. 200) sieve shall be 104.8 mm (4 ⁄8 in.),
completely clear with no solder showing.
6.2 Air Pressure Supply and Regulation—An air pressure
supply, controlled by reducing valves or regulators, capable of
maintaining air pressure at 1.72 kPa 6 0.07 kPa, should be
used. A manometer, or other suitable pressure indicating
device, and a press
...
This document is not an ASTM standard and is intended only to provide the user of an ASTM standard an indication of what changes have been made to the previous version. Because
it may not be technically possible to adequately depict all changes accurately, ASTM recommends that users consult prior editions as appropriate. In all cases only the current version
of the standard as published by ASTM is to be considered the official document.
Designation: D1742 − 18 D1742 − 20
Standard Test Method for
1
Oil Separation from Lubricating Grease During Storage
This standard is issued under the fixed designation D1742; the number immediately following the designation indicates the year of
original adoption or, in the case of revision, the year of last revision. A number in parentheses indicates the year of last reapproval. A
superscript epsilon (´) indicates an editorial change since the last revision or reapproval.
This standard has been approved for use by agencies of the U.S. Department of Defense.
1. Scope*
1.1 This test method covers the determination of the tendency of a lubricating grease to separate oil during storage in both
normally filled and partially filled containers.
1.2 This test method is not suitable for greases softer than NLGI No. 1 grade.
1.3 The values stated in SI units are to be regarded as standard, except for the dimensions in Fig. 2 and Fig. 5, where inch-pound
units are standard.
1.4 This standard does not purport to address all of the safety concerns, if any, associated with its use. It is the responsibility
of the user of this standard to establish appropriate safety, health, and environmental practices and determine the applicability of
regulatory limitations prior to use. For a specific hazard statement, see 7.1.
1.5 This international standard was developed in accordance with internationally recognized principles on standardization
established in the Decision on Principles for the Development of International Standards, Guides and Recommendations issued
by the World Trade Organization Technical Barriers to Trade (TBT) Committee.
2. Referenced Documents
2
2.1 ASTM Standards:
E11 Specification for Woven Wire Test Sieve Cloth and Test Sieves
2.2 Other Standard:
3
NLGI Grease Consistency Classification
3. Terminology
3.1 Definitions:
3.1.1 lubricating grease, n—a semi-fluid to solid product of a thickener in a liquid lubricant.
3.1.1.1 Discussion—
The dispersion of the thickener forms a two-phase system and immobilizes the liquid lubricant by surface tension and other
physical forces. Other ingredients are commonly included to impart special properties.
3.1.2 oil separation, n—the appearance of a liquid fraction from an otherwise homogeneous lubricating composition.
3.1.3 thickener, n—in lubricating grease, a substance composed of finely-divided particles dispersed in a liquid lubricant to form
the product’s structure.
3.1.3.1 Discussion—
The thickeners can be fibers (such as various metallic soaps) or plates or spheres (such as certain non-soap thickeners), which are
1
This test method is under the jurisdiction of the ASTM Committee D02 on Petroleum Products, Liquid Fuels, and Lubricants and is the direct responsibility of
Subcommittee D02.G0.03 on Physical Tests.
Current edition approved April 1, 2018May 1, 2020. Published May 2018June 2020. Originally approved in 1960. Last previous edition approved in 20132018 as
D1742 – 06 (2013).D1742 – 18. DOI: 10.1520/D1742-18.10.1520/D1742-20.
2
For referenced ASTM standards, visit the ASTM website, www.astm.org, or contact ASTM Customer Service at service@astm.org. For Annual Book of ASTM Standards
volume information, refer to the standard’s Document Summary page on the ASTM website.
3
Available from NLGI, 249 SW Noel, Suite 249, Lee’s Summit, MO 64063, http://www.nlgi.org.
*A Summary of Changes section appears at the end of this standard
Copyright © ASTM International, 100 Barr Harbor Drive, PO Box C700, West Conshohocken, PA 19428-2959. United States
1
---------------------- Page: 1 ----------------------
D1742 − 20
FIG. 1 Pressure Bleeding Test Cell A
insoluble or, at most, only very slightly soluble in the liquid lubricant. The general requirements are that the solid particles be
extremely small, uniformly dispersed, and capable of forming a relatively stable, gel-like structure with the liquid lubricant.
3.1.3 oil separation, n—the appearance of a liquid fraction from an otherwise homogeneous lubricating composition.
4. Summary of Test Method
4.1 The sample of grease, supported on a 75 μm (No. 200) sieve, is subjected to 1.72 kPa (0.25 psi) air pressure for 24 h at 25 °C
(77 °F). Any oil seepage that occurs drains into a beaker and is weighed.
5. Significance and Use
5.1 When a lubricating grease separates oil, the remaining composition increases in consistency. This can affect the ability of
the product to function as designed.
5.2 It has been found that the results of this test correlate directly with the oil separation that occurs in 35 lb pail
...











Questions, Comments and Discussion
Ask us and Technical Secretary will try to provide an answer. You can facilitate discussion about the standard in here.