ASTM D6391-11(2020)
(Test Method)Standard Test Method for Field Measurement of Hydraulic Conductivity Using Borehole Infiltration
Standard Test Method for Field Measurement of Hydraulic Conductivity Using Borehole Infiltration
SIGNIFICANCE AND USE
5.1 This test method provides a means to measure the hydraulic conductivity of isotropic materials and the maximum vertical and minimum horizontal hydraulic conductivities of anisotropic materials, especially in the low ranges associated with fine-grained clayey soils, 1×10–7 m/s to 1×10–11 m/s.
5.2 This test method is useful for measuring liquid flow through soil hydraulic barriers, such as compacted clay barriers used at waste containment facilities, for canal and reservoir liners, for seepage blankets, and for amended soil liners, such as those used for retention ponds or storage tanks. Due to the boundary condition assumptions used in deriving the equations for the limiting hydraulic conductivities, the thickness of the unit tested must be at least 600 mm. This requirement is increased to 800 mm if the material being tested is underlain by a material that is far less permeable.
5.3 The soil layer being tested must have sufficient cohesion to stand open during excavation of the borehole.
5.4 This test method provides a means to measure infiltration rate into a moderately large volume of soil. Tests on large volumes of soil can be more representative than tests on small volumes of soil. Multiple installations properly spaced provide a greater volume and an indication of spatial variability.
5.5 The data obtained from this test method are most useful when the soil layer being tested has a uniform distribution of hydraulic conductivity and of pore space and when the upper and lower boundary conditions of the soil layer are well defined.
5.6 Changes in water temperature can introduce errors in the flow measurements. Temperature changes cause fluctuations in the water levels that are not related to flow. This problem is most pronounced when a small diameter standpipe or Marriotte bottle is used in soils having hydraulic conductivities of 5×10–10 m/s or less.
5.7 The effects of temperature changes and other environmental perturbations are taken into a...
SCOPE
1.1 This test method covers field measurement of hydraulic conductivity (also referred to as coefficient of permeability) of porous materials using a cased borehole technique. When isotropic conditions can be assumed and a flush borehole is employed, the method yields the hydraulic conductivity of the porous material. When isotropic conditions cannot be assumed, the method yields limiting values of the hydraulic conductivity in the vertical direction (upper limit) if a single stage is conducted and the horizontal direction (lower limit) if a second stage is conducted. For anisotropic conditions, determination of the actual hydraulic conductivity requires further analysis by qualified personnel.
1.2 This test method may be used for compacted fills or natural deposits, above or below the water table, that have a mean hydraulic conductivity less than or equal to 1×10–5 m/s (1×10–3 cm/s).
1.3 Hydraulic conductivity greater than 1×10–5 m/s may be determined by ordinary borehole tests, for example, U.S. Bureau of Reclamation 7310 (1)2; however, the resulting value is an apparent conductivity.
1.4 For this test method, a distinction must be made between “saturated” (Ks) and “field-saturated” (Kfs) hydraulic conductivity. True saturated conditions seldom occur in the vadose zone except where impermeable layers result in the presence of perched water tables. During infiltration events or in the event of a leak from a lined pond, a “field-saturated” condition develops. True saturation does not occur due to entrapped air (2). The entrapped air prevents water from moving in air-filled pores, which may reduce the hydraulic conductivity measured in the field by as much as a factor of two compared with conditions when trapped air is not present (3). This test method develops the “field-saturated” condition.
1.5 Experience with this test method has been predominantly in materials having a degree of saturation of 70 % or more...
General Information
- Status
- Published
- Publication Date
- 14-Feb-2020
- Technical Committee
- D18 - Soil and Rock
- Drafting Committee
- D18.04 - Hydrologic Properties and Hydraulic Barriers
Relations
- Effective Date
- 15-Feb-2020
- Effective Date
- 01-Nov-2023
- Effective Date
- 01-Oct-2019
- Refers
ASTM D2937-17e2 - Standard Test Method for Density of Soil in Place by the Drive-Cylinder Method - Effective Date
- 01-Feb-2017
- Refers
ASTM D2937-17 - Standard Test Method for Density of Soil in Place by the Drive-Cylinder Method - Effective Date
- 01-Feb-2017
- Refers
ASTM D2937-17e1 - Standard Test Method for Density of Soil in Place by the Drive-Cylinder Method - Effective Date
- 01-Feb-2017
- Refers
ASTM D5092/D5092M-16 - Standard Practice for Design and Installation of Groundwater Monitoring Wells - Effective Date
- 15-Nov-2016
- Effective Date
- 01-Nov-2016
- Effective Date
- 01-Aug-2016
- Effective Date
- 15-Nov-2015
- Effective Date
- 01-Aug-2014
- Effective Date
- 01-May-2012
- Effective Date
- 01-Mar-2012
- Effective Date
- 01-Sep-2011
- Effective Date
- 01-Sep-2011
Overview
ASTM D6391-11(2020), "Standard Test Method for Field Measurement of Hydraulic Conductivity Using Borehole Infiltration," establishes a reliable field method for determining the hydraulic conductivity of soil and related porous materials. Developed by ASTM International, this standard is crucial for accurately characterizing how fluids migrate through soil layers, particularly for low-conductivity, fine-grained, and compacted soils found in geotechnical and environmental applications.
The borehole infiltration technique described in ASTM D6391-11(2020) is applicable to both natural and compacted soils, above or below the water table, especially where other approaches may prove ineffective due to low permeability. The procedure is most suited for materials with a mean hydraulic conductivity of 1×10⁻⁵ m/s or less, covering typical requirements in waste containment and water retention scenarios.
Key Topics
- Hydraulic Conductivity Measurement: The standard provides step-by-step methodology for using a cased borehole to measure the rate at which water flows through soil, under field-saturated rather than fully saturated conditions.
- Isotropic and Anisotropic Soils: The method discriminates between isotropic conditions (uniform properties in all directions) and anisotropic conditions (direction-dependent properties), delivering limiting values for both vertical and horizontal hydraulic conductivity in the latter case.
- Critical Soil and Layer Properties:
- Thickness of the tested unit must meet minimum requirements (generally ≥600 mm, or 800 mm when underlain by less permeable material).
- The soil must be cohesive enough to remain open during borehole excavation.
- Uniformity in soil hydraulic conductivity and pore space enhances the utility of test data.
- Test Procedure Scalability: Multiple, properly spaced installations allow for assessment of spatial variability in subsurface permeability.
- Environmental and Operational Considerations:
- Changes in water temperature may affect flow measurements, especially in very low-conductivity soils.
- Suitable for both above- and below-groundwater table applications, but care must be taken concerning saturation levels and air entrapment.
Applications
The ASTM D6391-11(2020) test method is highly valuable in a range of practical scenarios where understanding subsurface hydraulic properties is essential:
- Design and Verification of Hydraulic Barriers: Includes compacted clay liners in waste containment facilities, canal and reservoir liners, seepage blankets, and amended soil liners for retention ponds or tanks.
- Environmental Protection: Assessment of site suitability for landfill and hazardous waste disposal, ensuring that engineered barriers limit contaminant migration.
- Water Resources Management: Evaluates performance of liners in water storage structures to detect and control seepage.
- Geotechnical Investigations: Used for site investigations in construction projects to ensure foundations and earthworks are built on suitably impermeable materials.
- Remediation Projects: Identifies hydraulic pathways in contaminated sites, contributing to the design of groundwater control and treatment strategies.
Related Standards
For comprehensive site assessment or to supplement hydraulic conductivity evaluations, consider referencing the following related ASTM standards:
- ASTM D5084: Test Methods for Measurement of Hydraulic Conductivity of Saturated Porous Materials Using a Flexible Wall Permeameter.
- ASTM D653: Terminology Relating to Soil, Rock, and Contained Fluids.
- ASTM D2937: Test Method for Density of Soil in Place by the Drive-Cylinder Method.
- ASTM D1452/D1452M: Practice for Soil Exploration and Sampling by Auger Borings.
- ASTM D5092/D5092M: Practice for Design and Installation of Groundwater Monitoring Wells.
Adherence to ASTM D6391-11(2020) ensures that hydraulic conductivity field measurements are consistently accurate, reproducible, and fit for use in regulatory compliance and engineering design. Optimizing site characterization with this method supports robust environmental stewardship and effective resource management.
Buy Documents
ASTM D6391-11(2020) - Standard Test Method for Field Measurement of Hydraulic Conductivity Using Borehole Infiltration
Get Certified
Connect with accredited certification bodies for this standard

Bureau Veritas Chile
Bureau Veritas certification services in Chile.

Bureau Veritas Peru
Bureau Veritas certification services in Peru.

BVQI Peru
Bureau Veritas certification in Peru.
Sponsored listings
Frequently Asked Questions
ASTM D6391-11(2020) is a standard published by ASTM International. Its full title is "Standard Test Method for Field Measurement of Hydraulic Conductivity Using Borehole Infiltration". This standard covers: SIGNIFICANCE AND USE 5.1 This test method provides a means to measure the hydraulic conductivity of isotropic materials and the maximum vertical and minimum horizontal hydraulic conductivities of anisotropic materials, especially in the low ranges associated with fine-grained clayey soils, 1×10–7 m/s to 1×10–11 m/s. 5.2 This test method is useful for measuring liquid flow through soil hydraulic barriers, such as compacted clay barriers used at waste containment facilities, for canal and reservoir liners, for seepage blankets, and for amended soil liners, such as those used for retention ponds or storage tanks. Due to the boundary condition assumptions used in deriving the equations for the limiting hydraulic conductivities, the thickness of the unit tested must be at least 600 mm. This requirement is increased to 800 mm if the material being tested is underlain by a material that is far less permeable. 5.3 The soil layer being tested must have sufficient cohesion to stand open during excavation of the borehole. 5.4 This test method provides a means to measure infiltration rate into a moderately large volume of soil. Tests on large volumes of soil can be more representative than tests on small volumes of soil. Multiple installations properly spaced provide a greater volume and an indication of spatial variability. 5.5 The data obtained from this test method are most useful when the soil layer being tested has a uniform distribution of hydraulic conductivity and of pore space and when the upper and lower boundary conditions of the soil layer are well defined. 5.6 Changes in water temperature can introduce errors in the flow measurements. Temperature changes cause fluctuations in the water levels that are not related to flow. This problem is most pronounced when a small diameter standpipe or Marriotte bottle is used in soils having hydraulic conductivities of 5×10–10 m/s or less. 5.7 The effects of temperature changes and other environmental perturbations are taken into a... SCOPE 1.1 This test method covers field measurement of hydraulic conductivity (also referred to as coefficient of permeability) of porous materials using a cased borehole technique. When isotropic conditions can be assumed and a flush borehole is employed, the method yields the hydraulic conductivity of the porous material. When isotropic conditions cannot be assumed, the method yields limiting values of the hydraulic conductivity in the vertical direction (upper limit) if a single stage is conducted and the horizontal direction (lower limit) if a second stage is conducted. For anisotropic conditions, determination of the actual hydraulic conductivity requires further analysis by qualified personnel. 1.2 This test method may be used for compacted fills or natural deposits, above or below the water table, that have a mean hydraulic conductivity less than or equal to 1×10–5 m/s (1×10–3 cm/s). 1.3 Hydraulic conductivity greater than 1×10–5 m/s may be determined by ordinary borehole tests, for example, U.S. Bureau of Reclamation 7310 (1)2; however, the resulting value is an apparent conductivity. 1.4 For this test method, a distinction must be made between “saturated” (Ks) and “field-saturated” (Kfs) hydraulic conductivity. True saturated conditions seldom occur in the vadose zone except where impermeable layers result in the presence of perched water tables. During infiltration events or in the event of a leak from a lined pond, a “field-saturated” condition develops. True saturation does not occur due to entrapped air (2). The entrapped air prevents water from moving in air-filled pores, which may reduce the hydraulic conductivity measured in the field by as much as a factor of two compared with conditions when trapped air is not present (3). This test method develops the “field-saturated” condition. 1.5 Experience with this test method has been predominantly in materials having a degree of saturation of 70 % or more...
SIGNIFICANCE AND USE 5.1 This test method provides a means to measure the hydraulic conductivity of isotropic materials and the maximum vertical and minimum horizontal hydraulic conductivities of anisotropic materials, especially in the low ranges associated with fine-grained clayey soils, 1×10–7 m/s to 1×10–11 m/s. 5.2 This test method is useful for measuring liquid flow through soil hydraulic barriers, such as compacted clay barriers used at waste containment facilities, for canal and reservoir liners, for seepage blankets, and for amended soil liners, such as those used for retention ponds or storage tanks. Due to the boundary condition assumptions used in deriving the equations for the limiting hydraulic conductivities, the thickness of the unit tested must be at least 600 mm. This requirement is increased to 800 mm if the material being tested is underlain by a material that is far less permeable. 5.3 The soil layer being tested must have sufficient cohesion to stand open during excavation of the borehole. 5.4 This test method provides a means to measure infiltration rate into a moderately large volume of soil. Tests on large volumes of soil can be more representative than tests on small volumes of soil. Multiple installations properly spaced provide a greater volume and an indication of spatial variability. 5.5 The data obtained from this test method are most useful when the soil layer being tested has a uniform distribution of hydraulic conductivity and of pore space and when the upper and lower boundary conditions of the soil layer are well defined. 5.6 Changes in water temperature can introduce errors in the flow measurements. Temperature changes cause fluctuations in the water levels that are not related to flow. This problem is most pronounced when a small diameter standpipe or Marriotte bottle is used in soils having hydraulic conductivities of 5×10–10 m/s or less. 5.7 The effects of temperature changes and other environmental perturbations are taken into a... SCOPE 1.1 This test method covers field measurement of hydraulic conductivity (also referred to as coefficient of permeability) of porous materials using a cased borehole technique. When isotropic conditions can be assumed and a flush borehole is employed, the method yields the hydraulic conductivity of the porous material. When isotropic conditions cannot be assumed, the method yields limiting values of the hydraulic conductivity in the vertical direction (upper limit) if a single stage is conducted and the horizontal direction (lower limit) if a second stage is conducted. For anisotropic conditions, determination of the actual hydraulic conductivity requires further analysis by qualified personnel. 1.2 This test method may be used for compacted fills or natural deposits, above or below the water table, that have a mean hydraulic conductivity less than or equal to 1×10–5 m/s (1×10–3 cm/s). 1.3 Hydraulic conductivity greater than 1×10–5 m/s may be determined by ordinary borehole tests, for example, U.S. Bureau of Reclamation 7310 (1)2; however, the resulting value is an apparent conductivity. 1.4 For this test method, a distinction must be made between “saturated” (Ks) and “field-saturated” (Kfs) hydraulic conductivity. True saturated conditions seldom occur in the vadose zone except where impermeable layers result in the presence of perched water tables. During infiltration events or in the event of a leak from a lined pond, a “field-saturated” condition develops. True saturation does not occur due to entrapped air (2). The entrapped air prevents water from moving in air-filled pores, which may reduce the hydraulic conductivity measured in the field by as much as a factor of two compared with conditions when trapped air is not present (3). This test method develops the “field-saturated” condition. 1.5 Experience with this test method has been predominantly in materials having a degree of saturation of 70 % or more...
ASTM D6391-11(2020) is classified under the following ICS (International Classification for Standards) categories: 07.060 - Geology. Meteorology. Hydrology; 73.100.30 - Equipment for drilling and mine excavation. The ICS classification helps identify the subject area and facilitates finding related standards.
ASTM D6391-11(2020) has the following relationships with other standards: It is inter standard links to ASTM D6391-11, ASTM D3740-23, ASTM D3740-19, ASTM D2937-17e2, ASTM D2937-17, ASTM D2937-17e1, ASTM D5092/D5092M-16, ASTM D1452/D1452M-16, ASTM D5084-16, ASTM D1587/D1587M-15, ASTM D653-14, ASTM D3740-12a, ASTM D3740-12, ASTM D653-11, ASTM D3740-11. Understanding these relationships helps ensure you are using the most current and applicable version of the standard.
ASTM D6391-11(2020) is available in PDF format for immediate download after purchase. The document can be added to your cart and obtained through the secure checkout process. Digital delivery ensures instant access to the complete standard document.
Standards Content (Sample)
This international standard was developed in accordance with internationally recognized principles on standardization established in the Decision on Principles for the
Development of International Standards, Guides and Recommendations issued by the World Trade Organization Technical Barriers to Trade (TBT) Committee.
Designation:D6391 −11 (Reapproved 2020)
Standard Test Method for
Field Measurement of Hydraulic Conductivity Using
Borehole Infiltration
This standard is issued under the fixed designation D6391; the number immediately following the designation indicates the year of
original adoption or, in the case of revision, the year of last revision.Anumber in parentheses indicates the year of last reapproval.A
superscript epsilon (´) indicates an editorial change since the last revision or reapproval.
1. Scope 1.5 Experience with this test method has been predomi-
nantly in materials having a degree of saturation of 70% or
1.1 This test method covers field measurement of hydraulic
more, and where the stratification or plane of compaction is
conductivity (also referred to as coeffıcient of permeability)of
relatively horizontal. Its use in other situations should be
porous materials using a cased borehole technique. When
considered experimental.
isotropic conditions can be assumed and a flush borehole is
employed, the method yields the hydraulic conductivity of the
1.6 As in the case of all tests for hydraulic conductivity, the
porousmaterial.Whenisotropicconditionscannotbeassumed,
resultsofthistestpertainonlytothevolumeofsoilpermeated.
themethodyieldslimitingvaluesofthehydraulicconductivity
Extending the results to the surrounding area requires both
in the vertical direction (upper limit) if a single stage is
multiple tests and the judgment of qualified personnel. The
conductedandthehorizontaldirection(lowerlimit)ifasecond
number of tests required depends on among other things: the
stage is conducted. For anisotropic conditions, determination
size of the area, the uniformity of the material in that area, and
oftheactualhydraulicconductivityrequiresfurtheranalysisby
the variation in data from multiple tests.
qualified personnel.
1.7 The values stated in SI units are to be regarded as
1.2 This test method may be used for compacted fills or
standard. The values given in parentheses are provided for
natural deposits, above or below the water table, that have a
–5
mean hydraulic conductivity less than or equal to 1×10 m/s information only and are not considered standard.
–3
(1×10 cm/s).
1.8 All observed and calculated values shall conform to the
–5
1.3 Hydraulic conductivity greater than 1×10 m/s may be
guideforsignificantdigitsandroundingestablishedinPractice
determined by ordinary borehole tests, for example, U.S.
D6026.
BureauofReclamation7310 (1) ;however,theresultingvalue
1.8.1 Theproceduresinthisstandardthatareusedtospecify
is an apparent conductivity.
how data are collected, recorded, and calculated are regarded
1.4 Forthistestmethod,adistinctionmustbemadebetween
as the industry standard. In addition, they are representative of
“saturated” (K ) and “field-saturated” (K ) hydraulic conduc-
s fs the significant digits that should generally be retained. The
tivity. True saturated conditions seldom occur in the vadose
procedures do not consider material variation, purpose for
zoneexceptwhereimpermeablelayersresultinthepresenceof
obtaining the data, special purpose studies, or any consider-
perched water tables. During infiltration events or in the event
ations for the objectives of the user. Increasing or reducing the
of a leak from a lined pond, a “field-saturated” condition
significant digits of reported data to be commensurate with
develops. True saturation does not occur due to entrapped air
these considerations is common practice. Consideration of the
(2).The entrapped air prevents water from moving in air-filled
significantdigitstobeusedinanalysismethodsforengineering
pores, which may reduce the hydraulic conductivity measured
design is beyond the scope of this standard.
in the field by as much as a factor of two compared with
conditionswhentrappedairisnotpresent (3).Thistestmethod 1.9 This standard does not purport to address all of the
develops the “field-saturated” condition.
safety concerns, if any, associated with its use. It is the
responsibility of the user of this standard to establish appro-
priate safety, health, and environmental practices and deter-
ThistestmethodisunderthejurisdictionofASTMCommitteeD18onSoiland
mine the applicability of regulatory limitations prior to use.
Rock and is the direct responsibility of Subcommittee D18.04 on Hydrologic
This test method does not purport to address environmental
Properties and Hydraulic Barriers.
protection problems, as well.
Current edition approved Feb. 15, 2020. Published March 2020. Originally
approved in 1999. Last previous edition approved in 2011 as D6391–11. DOI:
1.10 This international standard was developed in accor-
10.1520/D6391-11R20.
2 dance with internationally recognized principles on standard-
Theboldfacenumbersinparenthesesrefertothelistofreferencesattheendof
this standard. ization established in the Decision on Principles for the
Copyright © ASTM International, 100 Barr Harbor Drive, PO Box C700, West Conshohocken, PA 19428-2959. United States
D6391−11 (2020)
Development of International Standards, Guides and Recom- assumingthetestedmediumtobeisotropic.Forordinarysoils,
mendations issued by the World Trade Organization Technical both compacted and natural, this is the maximum possible
Barriers to Trade (TBT) Committee. value for k .
v
3.2.5 test diameter, n—the inside diameter (ID) of the
2. Referenced Documents
casing.
2.1 ASTM Standards:
3.2.6 vertical conductivity, k,n—thehydraulicconductivity
v
D653Terminology Relating to Soil, Rock, and Contained
in (approximately) the vertical direction.
Fluids
4. Summary of Test Method
D1452/D1452MPractice for Soil Exploration and Sampling
by Auger Borings
4.1 Therateofflowofwaterintosoilthroughthebottomof
D1587/D1587MPractice forThin-WalledTube Sampling of
a sealed and cased borehole is measured in one or two stages,
Fine-Grained Soils for Geotechnical Purposes
normally with a standpipe using a falling-head or constant-
D2937Test Method for Density of Soil in Place by the
head procedure. The standpipe is refilled as necessary. A
Drive-Cylinder Method
schematic of the test apparatus is shown in Fig. 1 with the
D3740Practice for Minimum Requirements for Agencies
dimensions to be recorded.
Engaged in Testing and/or Inspection of Soil and Rock as
4.2 Method A—MethodAis used when the soil being tested
Used in Engineering Design and Construction
istreatedasanisotropic.Afalling-headtestisconductedintwo
D5084Test Methods for Measurement of Hydraulic Con-
stageswiththebottomoftheboreholeflushwiththebottomof
ductivity of Saturated Porous Materials Using a Flexible
the casing in Stage 1 and extended below the bottom of the
Wall Permeameter
casing as a right circular cylinder in Stage 2 (Fig. 1). The
D5092/D5092MPractice for Design and Installation of
borehole is extended for Stage 2 after Stage 1 is completed.A
Groundwater Monitoring Wells
limiting hydraulic conductivity is computed from the falling
D6026Practice for Using Significant Digits in Geotechnical
head data in both stages. These limiting hydraulic conductivi-
Data
ties are K1 and K2, respectively.
Stages 1 and 2 are continued until the limiting conductivity
3. Terminology
for each stage is relatively constant.
3.1 Definitions:
Methodstocalculateactualverticalandhorizontalhydraulic
3.1.1 For common definitions of technical terms in this
conductivities (k and k ) from K1 and K2 are described in (5)
v h
standard, refer to Terminology D653.
and (6).
3.2 Definitions of Terms Specific to This Standard:
4.3 Method B—Method B employs a falling head and is
3.2.1 horizontal conductivity, k,n—the hydraulic conduc-
h
usedwhenthesoilbeingtestedistreatedasisotropic.Afalling
tivity in (approximately) the horizontal direction.
head test is conducted in a borehole flush with the bottom of
3.2.2 hydraulic conductivity, (coeffıcient of permeability) k,
the casing (Fig. 1). Hydraulic conductivity of the soil is
n—therateofdischargeofwaterunderlaminarflowconditions
computedfromthefallingheaddata.Thetestiscontinueduntil
through a unit cross-sectional area of a porous medium under
the hydraulic conductivity becomes essentially constant.
a unit hydraulic gradient and standard temperature conditions
4.4 Method C—Method C employs a Mariotte tube to apply
(20°C).
a constant head and is also used when the soil being tested is
3.2.2.1 Discussion—The term coeffıcient of permeability
treated as isotropic. A constant head test is conducted in a
often is used instead of hydraulic conductivity, but hydraulic
borehole flush with the bottom of the casing. Hydraulic
conductivity is used exclusively in this test method. A more
conductivity of the soil is computed from the steady flow rate
complete discussion of the terminology associated with Dar-
measured during the test.The same apparatus and test set up is
cy’s law is given in the literature (4). It should be noted that
used for Methods B and C, except the falling-head standpipe
both natural soils and recompacted soils usually are not
used in Method B (Fig. 2a) is replaced by a constant-head
isotropic with respect to hydraulic conductivity. Except for
Mariotte tube (Fig. 2b).
unusual materials, k > k .
h v
5. Significance and Use
3.2.3 limiting horizontal conductivity, K2, n—the hydraulic
conductivity as determined in Stage 2 of this test method,
5.1 This test method provides a means to measure the
assumingthetestedmediumtobeisotropic.Forordinarysoils,
hydraulicconductivityofisotropicmaterialsandthemaximum
both compacted and natural, this is the minimum possible
vertical and minimum horizontal hydraulic conductivities of
value for k .
h anisotropic materials, especially in the low ranges associated
–7 –11
with fine-grained clayey soils, 1×10 m/s to 1×10 m/s.
3.2.4 limiting vertical conductivity, K1, n—the hydraulic
conductivity as determined in Stage 1 of this test method,
5.2 This test method is useful for measuring liquid flow
throughsoilhydraulicbarriers,suchascompactedclaybarriers
used at waste containment facilities, for canal and reservoir
For referenced ASTM standards, visit the ASTM website, www.astm.org, or
liners, for seepage blankets, and for amended soil liners, such
contact ASTM Customer Service at service@astm.org. For Annual Book of ASTM
as those used for retention ponds or storage tanks. Due to the
Standards volume information, refer to the standard’s Document Summary page on
the ASTM website. boundaryconditionassumptionsusedinderivingtheequations
D6391−11 (2020)
FIG. 1Schematic of Borehole Test Showing Borehole Flush with Base (Methods B and C, Stage 1 of Method A) and with Extension for
Stage 2 of Method A
D6391−11 (2020)
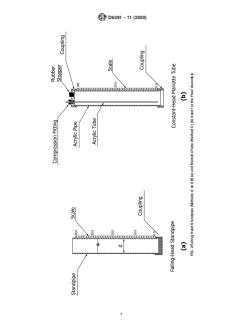
FIG. 2Falling Head Standpipe (Methods A and B) (a) and Mariotte Tube (Method C) (b) Used for the Flow Assembly
D6391−11 (2020)
for the limiting hydraulic conductivities, the thickness of the 6.1.4 Reamer—A reamer (see Fig. 3) may be used to
unit tested must be at least 600 mm. This requirement is complete the borehole extension for tests conducted with a
increasedto800mmifthematerialbeingtestedisunderlainby second stage. The base of the reamer shall have a diameter
a material that is far less permeable. slightly less than the inside diameter of the casing and shall be
capable of reaming the bottom of the advanced borehole to a
5.3 Thesoillayerbeingtestedmusthavesufficientcohesion
level plane that is perpendicular to the primary axis of the
to stand open during excavation of the borehole.
borehole.Thebottomplateofthereamershallhaveadiameter
5.4 This test method provides a means to measure infiltra-
about 1 mm less than the inside diameter of the casing. The
tion rate into a moderately large volume of soil. Tests on large
vertical side of the cutting plate should be serrated.
volumes of soil can be more representative than tests on small
6.1.5 Scarifier—A bent fork, wire brush, or similar device
volumes of soil. Multiple installations properly spaced provide
for roughening the surface of the sidewall, which is small
a greater volume and an indication of spatial variability.
enough to fit within the casing and having a handle long
5.5 The data obtained from this test method are most useful
enough to reach the bottom of Stage 2, is used to scarify the
when the soil layer being tested has a uniform distribution of
walls and base of the borehole extension for Stage 2.
hydraulic conductivity and of pore space and when the upper
6.2 Borehole Casing:
and lower boundary conditions of the soil layer are well
defined. 6.2.1 Casing—The casing shall be watertight but may be of
any material or diameter. The minimum ID shall be 100 mm.
5.6 Changesinwatertemperaturecanintroduceerrorsinthe
The wall thickness shall be adequate to prevent collapse under
flowmeasurements.Temperaturechangescausefluctuationsin
the lateral pressure of the overburden and swelling bentonite.
the water levels that are not related to flow. This problem is
Schedule40PVCpipeissatisfactory.Thebottomofthecasing
mostpronouncedwhenasmalldiameterstandpipeorMarriotte
shall be smooth and square. The casing shall have flush
bottle is used in soils having hydraulic conductivities of
–10
connections for joints between the ground surface and the
5×10 m/s or less.
bottom of the casing; external connections interfere with
5.7 The effects of temperature changes and other environ-
sealing the annulus and internal connections affect advancing
mentalperturbationsaretakenintoaccountusingatemperature
the borehole for Stage 2. The top of the casing shall be
effect gauge (TEG), which is an identical installation with a
provided with a means of attaching the top assembly. When
watertight seal at the bottom of the casing.
threadsareused,theymustbeflush.Whenaflangeisused,the
5.8 If the soil being tested will later be subjected to
diametershallbeminimalsoasnottointerferewithsealingthe
increased overburden stress, then the hydraulic conductivities
annulus.Anycasingjointsandjointsbetweenthetopassembly
can be expected to decrease as the overburden stress increases.
and casing shall be provided with a means to ensure the joint
Laboratory hydraulic conductivity tests or these tests under
is watertight.
varying surface loads are recommended to study the influence
6.2.2 Top Cap—The top assembly consists of a cap that
of level of stress on the hydraulic properties of the soil (7).
connectsthecasingtothestandpipeasillustratedinFig.1.The
NOTE 1—The quality of the result produced by this standard is cap may be domed or slanted upwards to minimize air
dependent on the competence of the personnel performing it, and the
entrapment and shall include a means to connect to the
suitability of the equipment and facilities used. Agencies that meet the
standpipe and casing with a watertight seal. Rubber couplings
criteria of Practice D3740 are generally considered capable of competent
with hose clamps have been found satisfactory. Provisions for
and objective testing/sampling/inspection/etc. Users of this standard are
bleeding any entrapped air shall be made. For the TEG (only),
cautioned that compliance with Practice D3740 does not in itself assure
reliable results. Reliable results depend on many factors; Practice D3740
thetopassemblyalsomaybeprovidedwithawatertightfitting
provides a means of evaluating some of those factors.
for a device to measure temperature.
6. Apparatus 6.2.3 Annular Sealant—Bentonite is normally used to seal
the annulus between the wall of the borehole and the wall of
6.1 Boring/Reaming Tools:
the casing. All sealants should be compatible with ambient
6.1.1 Drilling Equipment—Equipment must be available to
geologic and geohydrologic conditions. Sealants shall not be
advance the borehole to the desired test level. This borehole
introduced to the interior of the casing.
diameter must be at least 50 mm larger than the outside
6.2.3.1 Directly Placed Sealant—The annulus shall be
diameter of the casing. For tests in compacted materials above
sealed with powdered or granular, sodium bentonite furnished
the water table, and wherever else possible, the borehole shall
in sacks or buckets from a commercial source. The bentonite
be advanced by dry methods. Either hand or mechanical
shall be free of impurities that may adversely impact the
methods are acceptable.
sealing process. To reduce the potential for bridging, the
6.1.2 Flat Auger—A flat auger (see Fig. 3) may be used to
diameter of granules should be less than one fifth the width of
prepare the borehole. The auger should be capable of reaming
the annular space. The sealant shall extend to the ground
thebottomoftheboreholetoalevelplaneperpendiculartothe
surfaceortoaminimumof1mabovethebottomofthecasing,
borehole axis. The flat auger shall have a diameter about 50
whichever is less.
mm larger than the outside diameter of the casing.
6.1.3 Clay Spade—Aclay spade may be used to prepare the 6.2.3.2 GroutedSealant—Theannularspacemaybegrouted
borehole for casing installation. The spade can also be used to above the sealant. Any of the grouting methods specified in
create a level based in the bottom of the borehole. Practice D5092/D5092M may be used.
D6391−11 (2020)
NOTE 1—For the Flat Auger, D =D+50mm where D is the inside diameter of the borehole casing. For the reamer, D =D–1mm.
o o
FIG. 3Schematic of Apparatus Used as Flat Auger (Borehole Excavation) and Reamer (Borehole Extension in Stage 2 of Method A)
6.2.3.3 Sock—Thesockprotectsthesoilatthebottomofthe standpipe.Nominal13-mmcomponentshavebeensatisfactory
casingfromdisturbancewhenwaterisintroducedandprevents
for tests with a 100-mm diameter casing.
collapse of the borehole extension for Stage 2. A non-woven
6.3.2 Standpipe—The standpipe shown on Fig. 1 should be
geotextile, filled with pea gravel or other highly pervious
only as tall as needed to apply a maximum head (measured at
material has been found satisfactory. The hydraulic conductiv-
the bottom of the casing) equal to or less than the head
ity of all sock materials shall be at least ten times the
allowablebyhydraulicfracturingconsiderations;thehydraulic
anticipated hydraulic conductivity of the tested stratum. Wires
head at the bottom of the casing should not exceed 1.5 times
or other suitable means for retrieving the sock should be
the total overburden pressure at that level. The standpipe must
provided.
be transparent and strong enough to withstand wind forces.
6.3 Pressure/Flow System: Clear Schedule 40 PVC has been found satisfactory. Inside
diameters of 10 to 20 mm have been satisfactory for tests
6.3.1 Flow Monitoring System—The flow monitoring sys-
temillustratedinFig.2consistsofastandpipeorMariottetube conducted with a 100-mm diameter casing. For 300-mm-
and scale composed of metal or plastic components. All diameter casing, standpipes with an inside diameter between
connections shall have a diameter of at least 75% that of the 50and100mmhavebeensatisfactory.Thediametermayneed
D6391−11 (2020)
TABLE 1 Ethanol Proportions
to be larger or smaller depending on the rate of infiltration in a
particular test. The diameter may be changed to provide Minimum Temperature, (°C) Proportion Water/Ethanol
–5 5:1
acceptable reading accuracy depending on the rate of infiltra-
–10 3:1
tion into the borehole. Provisions shall be made to prevent
–15 2.3:1
entryofprecipitationorlossbyevaporationfromthestandpipe –20 1.8:1
–25 1.5:1
while ensuring the air pressure in the standpipe is in equilib-
rium with the atmosphere. One satisfactory method is to set a
90° elbow on the top of the standpipe, cover the outlet of the
elbow with aluminum foil, plastic sheet, or parafilm, and
result from the use of antifreeze compounds. The user is
puncture the covering with a small (approx. 1 mm) hole for air
responsibleforobtaininganynecessaryregulatoryapprovalfor
pressure equalization.
the solution used. The user is advised that soil freezing and
6.3.3 Mariotte Tube—A Mariotte tube is used for constant
thawing can alter the hydraulic conductivity.Tests shall not be
head tests (Fig. 2b). The tube shall be large enough to permit
conducted on soil that is frozen or is undergoing freezing and
unimpeded flow of air during permeation. Clear acrylic tubes
thawing during the test.
having an inside diameter of 10 mm have been satisfactory for
6.6.4 Vacuum Cleaner (Optional)—An industrial-type
tests conducted with a100-mm diameter casing. For 300-mm-
vacuum cleaner can be used to clear cuttings, etc., from the
diameter casing, standpipes with an inside diameter between
bottom of the borehole.
50 and 100 mm have been satisfactory. The diameter may be
6.6.5 Aluminum Foil—1 roll.
changed to provide acceptable reading accuracy depending on
6.6.6 Rubber Bands.
the rate of infiltration into the borehole.
6.6.7 Flashlight.
6.3.4 Scale—The standpipe or Mariotte tube shall be gradu-
atedorascaleshallbeaffixed;eithermusthavearesolutionof
7. Test Site
1 mm. If a scale is used, the base shall be set at a known
7.1 Eachindividualtestrequiresanareaapproximately3by
reference point of the flow monitoring system that can be
3m.Testsshallnotbelocatedcloserthan3-mcenter-to-center.
readily reestablished.
A group of at least five tests is suggested for evaluation of a
6.3.5 Watch—Readable to 1 s.
typical test pad for waste containment facilities. Larger areas
6.3.6 Miscellaneous Hand Tools—Adjustable and pipe
mayrequiremoretestsandtheprogramshouldbedesignedon
wrenches, flathead screwdriver, knife, strap wrenches (two) to
a sound statistical basis.
fit casing, silicone grease (for example, automotive fan belt
lubricant), polytetrafluoroethylene (PTFE) tape, refill hose,
7.2 Thelayerbeingtestedmustmaintainitsfullthicknessat
funnel to fit refill hose, 100-mL plastic cylinder flask.
least 3 m horizontally in all directions from the center of the
test.
6.4 Temperature System—A device for measuring tempera-
ture 60.5°Cwitharangesufficienttocovertheanticipatedair
7.3 Stratification or the plane of compaction should be
and water temperatures during the test and long enough to
essentially horizontal.
extend to the bottom of the TEG.
7.4 If a compacted fill is being tested, the test area shall be
6.5 Survey Equipment—Surveyor’s level and rod, and a 15 covered with clear or white plastic immediately after the final
to 30-m tape. lift is placed.
7.5 Compactedfillsshallbeunderlainbyasoillayernoless
6.6 Miscellaneous:
permeable than intended for the fill or a permeable layer such
6.6.1 Plastic Sheeting—Clear or white plastic sheeting,
as a geotextile, geocomposite drain, or sand layer. Such
nomi
...




Questions, Comments and Discussion
Ask us and Technical Secretary will try to provide an answer. You can facilitate discussion about the standard in here.
Loading comments...