ASTM D6207-03(2019)
(Test Method)Standard Test Method for Dimensional Stability of Fabrics to Changes in Humidity and Temperature
Standard Test Method for Dimensional Stability of Fabrics to Changes in Humidity and Temperature
SIGNIFICANCE AND USE
5.1 The measured dimensional stability of a fabric determines whether a fabric has the potential to retain its original shape and remain stable, indicating it will not bubble or sag over time, when applied over a substrate, and its suitability for a specified use.
5.2 This test method is recommended for acceptance testing of commercial shipments however, caution is advised since information about between laboratory precision is incomplete. Comparative tests as directed in 5.2.1 are advisable.
5.2.1 If there are differences of practical significance between reported test results for two laboratories (or more), comparative test should be performed to determine if there is a statistical bias between them, using competent statistical assistance. At a minimum, use the samples for such a comparative test that are as homogeneous as possible, drawn from the same lot of material as the samples that resulted in disparate results during initial testing and randomly assigned in equal numbers to each laboratory. The test results from the laboratories involved should be compared using a statistical test for unpaired data, a probability level chosen prior to the testing series. If bias is found, either its cause must be found and corrected, or future test results for that material must be adjusted in consideration of the known bias.
5.3 This test method is used in industry to determine if a fabric grows, grows and then shrinks, shrinks and then grows, or remains the same when subjected to a specified range of humidity and temperature conditions.
SCOPE
1.1 This test method covers the determination of the dimensional stability of fabrics that are intended for use on panel and screen systems to cycled changes in humidity and temperature.
1.1.1 Panel and screen systems include acoustic panels, free standing screens, office partitions, and furniture systems.
1.2 The values stated in SI units are to be regarded as standard. The values given in parentheses after SI units are provided for information only and are not considered standard.
1.3 This standard does not purport to address all of the safety concerns, if any, associated with its use. It is the responsibility of the user of this standard to establish appropriate safety, health, and environmental practices and determine the applicability of regulatory limitations prior to use.
1.4 This international standard was developed in accordance with internationally recognized principles on standardization established in the Decision on Principles for the Development of International Standards, Guides and Recommendations issued by the World Trade Organization Technical Barriers to Trade (TBT) Committee.
General Information
- Status
- Published
- Publication Date
- 30-Jun-2019
- Technical Committee
- D13 - Textiles
- Drafting Committee
- D13.59 - Fabric Physical Test Methods A
Relations
- Effective Date
- 01-Jul-2019
- Effective Date
- 01-Jul-2019
- Effective Date
- 15-Jul-2017
- Effective Date
- 01-Mar-2017
- Effective Date
- 15-Sep-2015
- Effective Date
- 01-Sep-2015
- Effective Date
- 01-Apr-2015
- Effective Date
- 01-Jul-2013
- Effective Date
- 01-Jul-2013
- Effective Date
- 15-Jun-2013
- Effective Date
- 15-Jun-2013
- Effective Date
- 15-May-2013
- Effective Date
- 01-Jul-2012
- Effective Date
- 01-Feb-2012
- Effective Date
- 01-Feb-2012
Overview
ASTM D6207-03(2019) is a widely recognized international standard that specifies the test method for evaluating the dimensional stability of fabrics when subjected to cyclical changes in humidity and temperature. This method is essential for determining whether fabrics used in panel and screen systems such as acoustic panels, office partitions, and furniture systems can retain their original shape without bubbling, sagging, or developing other defects over time.
The standard guides industry professionals in assessing whether a fabric is suitable for specified applications by measuring the potential for growth, shrinkage, or stability when exposed to varying environmental conditions. Its procedures ensure that only high-quality fabrics that meet durability and performance expectations are used in commercial and industrial applications.
Key Topics
- Dimensional Stability Testing: This method evaluates how fabrics react to controlled changes in humidity and temperature, providing objective data on their growth, shrinkage, or stability.
- Commercial Acceptance Testing: The standard is recommended for acceptance testing of commercial fabric shipments, helping manufacturers and buyers verify product quality.
- Comparative Laboratory Testing: ASTM D6207-03(2019) highlights the importance of resolving discrepancies between laboratory results through statistically sound comparative tests, promoting greater precision and reliability.
- Reporting and Documentation: Clear guidelines exist for reporting test results, including fabric details, measurements, and any observations related to bubbling, curling, or discoloration.
Applications
ASTM D6207-03(2019) is invaluable wherever dimensional stability of fabrics is a critical performance criterion:
- Acoustic Panels and Screens: Ensures fabrics maintain their integrity and do not warp or sag in environments with fluctuating humidity or temperature.
- Office Partitions and Furniture: Critical for textile surfaces that require dimensional integrity for aesthetic and functional reasons.
- Quality Control: Utilized by textile manufacturers, suppliers, and procurement specialists to assess whether materials meet specified standards before acceptance or installation.
- Comparative and Statistical Analysis: Enables objective comparison between batches or lots of fabric, assisting in supplier qualification and process optimization.
By following this test method, stakeholders can improve product reliability and minimize future maintenance issues related to fabric instability.
Related Standards
For comprehensive quality assurance and consistent terminology in testing the dimensional stability of fabrics, the following related ASTM standards are often referenced or used alongside D6207-03(2019):
- ASTM D123 - Terminology Relating to Textiles
- ASTM D4850 - Terminology Relating to Fabrics and Fabric Test Methods
- ASTM D5034 - Test Method for Breaking Strength and Elongation of Textile Fabrics (Grab Test)
- ASTM D5035 - Test Method for Breaking Force and Elongation of Textile Fabrics (Strip Method)
These related standards support robust fabric testing programs and effective communication between laboratories, manufacturers, and fabric specifiers.
Keywords: dimensional stability, fabric testing, ASTM D6207, humidity, temperature, panel and screen systems, acoustic panels, office partitions, commercial acceptance testing, textile standards.
Buy Documents
ASTM D6207-03(2019) - Standard Test Method for Dimensional Stability of Fabrics to Changes in Humidity and Temperature
Get Certified
Connect with accredited certification bodies for this standard

Control Union Certifications
Global certification for agriculture and sustainability.
Hohenstein Institut
Textile testing and certification.

Bureau Veritas Bangladesh
Bureau Veritas certification services in Bangladesh.
Sponsored listings
Frequently Asked Questions
ASTM D6207-03(2019) is a standard published by ASTM International. Its full title is "Standard Test Method for Dimensional Stability of Fabrics to Changes in Humidity and Temperature". This standard covers: SIGNIFICANCE AND USE 5.1 The measured dimensional stability of a fabric determines whether a fabric has the potential to retain its original shape and remain stable, indicating it will not bubble or sag over time, when applied over a substrate, and its suitability for a specified use. 5.2 This test method is recommended for acceptance testing of commercial shipments however, caution is advised since information about between laboratory precision is incomplete. Comparative tests as directed in 5.2.1 are advisable. 5.2.1 If there are differences of practical significance between reported test results for two laboratories (or more), comparative test should be performed to determine if there is a statistical bias between them, using competent statistical assistance. At a minimum, use the samples for such a comparative test that are as homogeneous as possible, drawn from the same lot of material as the samples that resulted in disparate results during initial testing and randomly assigned in equal numbers to each laboratory. The test results from the laboratories involved should be compared using a statistical test for unpaired data, a probability level chosen prior to the testing series. If bias is found, either its cause must be found and corrected, or future test results for that material must be adjusted in consideration of the known bias. 5.3 This test method is used in industry to determine if a fabric grows, grows and then shrinks, shrinks and then grows, or remains the same when subjected to a specified range of humidity and temperature conditions. SCOPE 1.1 This test method covers the determination of the dimensional stability of fabrics that are intended for use on panel and screen systems to cycled changes in humidity and temperature. 1.1.1 Panel and screen systems include acoustic panels, free standing screens, office partitions, and furniture systems. 1.2 The values stated in SI units are to be regarded as standard. The values given in parentheses after SI units are provided for information only and are not considered standard. 1.3 This standard does not purport to address all of the safety concerns, if any, associated with its use. It is the responsibility of the user of this standard to establish appropriate safety, health, and environmental practices and determine the applicability of regulatory limitations prior to use. 1.4 This international standard was developed in accordance with internationally recognized principles on standardization established in the Decision on Principles for the Development of International Standards, Guides and Recommendations issued by the World Trade Organization Technical Barriers to Trade (TBT) Committee.
SIGNIFICANCE AND USE 5.1 The measured dimensional stability of a fabric determines whether a fabric has the potential to retain its original shape and remain stable, indicating it will not bubble or sag over time, when applied over a substrate, and its suitability for a specified use. 5.2 This test method is recommended for acceptance testing of commercial shipments however, caution is advised since information about between laboratory precision is incomplete. Comparative tests as directed in 5.2.1 are advisable. 5.2.1 If there are differences of practical significance between reported test results for two laboratories (or more), comparative test should be performed to determine if there is a statistical bias between them, using competent statistical assistance. At a minimum, use the samples for such a comparative test that are as homogeneous as possible, drawn from the same lot of material as the samples that resulted in disparate results during initial testing and randomly assigned in equal numbers to each laboratory. The test results from the laboratories involved should be compared using a statistical test for unpaired data, a probability level chosen prior to the testing series. If bias is found, either its cause must be found and corrected, or future test results for that material must be adjusted in consideration of the known bias. 5.3 This test method is used in industry to determine if a fabric grows, grows and then shrinks, shrinks and then grows, or remains the same when subjected to a specified range of humidity and temperature conditions. SCOPE 1.1 This test method covers the determination of the dimensional stability of fabrics that are intended for use on panel and screen systems to cycled changes in humidity and temperature. 1.1.1 Panel and screen systems include acoustic panels, free standing screens, office partitions, and furniture systems. 1.2 The values stated in SI units are to be regarded as standard. The values given in parentheses after SI units are provided for information only and are not considered standard. 1.3 This standard does not purport to address all of the safety concerns, if any, associated with its use. It is the responsibility of the user of this standard to establish appropriate safety, health, and environmental practices and determine the applicability of regulatory limitations prior to use. 1.4 This international standard was developed in accordance with internationally recognized principles on standardization established in the Decision on Principles for the Development of International Standards, Guides and Recommendations issued by the World Trade Organization Technical Barriers to Trade (TBT) Committee.
ASTM D6207-03(2019) is classified under the following ICS (International Classification for Standards) categories: 59.080.99 - Other products of the textile industry. The ICS classification helps identify the subject area and facilitates finding related standards.
ASTM D6207-03(2019) has the following relationships with other standards: It is inter standard links to ASTM D6207-03(2015), ASTM D5035-11(2019), ASTM D4850-13(2017), ASTM D123-17, ASTM D123-15b, ASTM D123-15a, ASTM D123-15, ASTM D4850-13e1, ASTM D4850-13, ASTM D123-13ae1, ASTM D123-13a, ASTM D123-13, ASTM D4850-12, ASTM D123-12, ASTM D123-12e1. Understanding these relationships helps ensure you are using the most current and applicable version of the standard.
ASTM D6207-03(2019) is available in PDF format for immediate download after purchase. The document can be added to your cart and obtained through the secure checkout process. Digital delivery ensures instant access to the complete standard document.
Standards Content (Sample)
This international standard was developed in accordance with internationally recognized principles on standardization established in the Decision on Principles for the
Development of International Standards, Guides and Recommendations issued by the World Trade Organization Technical Barriers to Trade (TBT) Committee.
Designation: D6207 − 03 (Reapproved 2019)
Standard Test Method for
Dimensional Stability of Fabrics to Changes in Humidity and
Temperature
This standard is issued under the fixed designation D6207; the number immediately following the designation indicates the year of
original adoption or, in the case of revision, the year of last revision. A number in parentheses indicates the year of last reapproval. A
superscript epsilon (´) indicates an editorial change since the last revision or reapproval.
1. Scope 3.1.1 For all terminology related to D13.59 on Fabric Test
Methods, General, see Terminology D4850.
1.1 This test method covers the determination of the dimen-
3.1.1.1 The following terms are relevant to this standard:
sional stability of fabrics that are intended for use on panel and
bench mark; dimensional change; dimensional stability.
screen systems to cycled changes in humidity and temperature.
3.1.2 For definitions of all other textile terms see Terminol-
1.1.1 Panel and screen systems include acoustic panels, free
ogy D123.
standing screens, office partitions, and furniture systems.
1.2 The values stated in SI units are to be regarded as
4. Summary of Test Method
standard. The values given in parentheses after SI units are
4.1 Dimensional change (growth and shrinkage) data is
provided for information only and are not considered standard.
collectedforaspecimenoffabricthatissubjectedtocontrolled
1.3 This standard does not purport to address all of the
cycles of specified relative humidity and temperature condi-
safety concerns, if any, associated with its use. It is the
tions.
responsibility of the user of this standard to establish appro-
priate safety, health, and environmental practices and deter-
5. Significance and Use
mine the applicability of regulatory limitations prior to use.
1.4 This international standard was developed in accor- 5.1 The measured dimensional stability of a fabric deter-
dance with internationally recognized principles on standard-
mines whether a fabric has the potential to retain its original
ization established in the Decision on Principles for the shape and remain stable, indicating it will not bubble or sag
Development of International Standards, Guides and Recom-
over time, when applied over a substrate, and its suitability for
mendations issued by the World Trade Organization Technical a specified use.
Barriers to Trade (TBT) Committee.
5.2 This test method is recommended for acceptance testing
of commercial shipments however, caution is advised since
2. Referenced Documents
2 information about between laboratory precision is incomplete.
2.1 ASTM Standards:
Comparative tests as directed in 5.2.1 are advisable.
D123 Terminology Relating to Textiles
5.2.1 If there are differences of practical significance be-
D4850 Terminology Relating to Fabrics and Fabric Test
tween reported test results for two laboratories (or more),
Methods
comparative test should be performed to determine if there is a
D5034 TestMethodforBreakingStrengthandElongationof
statistical bias between them, using competent statistical assis-
Textile Fabrics (Grab Test)
tance. At a minimum, use the samples for such a comparative
D5035 Test Method for Breaking Force and Elongation of
test that are as homogeneous as possible, drawn from the same
Textile Fabrics (Strip Method)
lot of material as the samples that resulted in disparate results
3. Terminology
during initial testing and randomly assigned in equal numbers
to each laboratory. The test results from the laboratories
3.1 Definitions:
involved should be compared using a statistical test for
unpaired data, a probability level chosen prior to the testing
This test method is under the jurisdiction ofASTM Committee D13 on Textiles
series. If bias is found, either its cause must be found and
and is the direct responsibility of Subcommittee D13.59 on Fabric Test Methods,
General.
corrected, or future test results for that material must be
Current edition approved July 1, 2019. Published July 2019. Originally approved
adjusted in consideration of the known bias.
in 1997. Last previous edition approved in 2015 as D6207 – 03(2015). DOI:
10.1520/D6207-03R19.
5.3 This test method is used in industry to determine if a
For referencedASTM standards, visist theASTM Web Site, www.astm.org, or
fabric grows, grows and then shrinks, shrinks and then grows,
contact ASTM Customer Service at service@astm.org. For Annual Book of ASTM
or remains the same when subjected to a specified range of
Standardsvolume information, refer to the standard’s Document Summary page on
the ASTM web site. humidity and temperature conditions.
Copyright © ASTM International, 100 Barr Harbor Drive, PO Box C700, West Conshohocken, PA 19428-2959. United States
D6207 − 03 (2019)
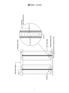
6. Apparatus specimen within 10% of the fabric width from the selvage.
Avoid areas with wrinkles.
6.1 Environmental Test Chamber, meeting the following
criteria:
8. Preparation of Apparatus
6.1.1 Capable of testing two specimens at one time, each
8.1 Check all elements of the environmental test chamber to
150 by 1000, 66 mm (6.0 by 39.0, 60.25 in.) mounted
ensure that they are functioning properly. These elements
vertically in a single frame.
include, but are not limited to, the humidifier, dehumidifier,
6.1.2 Capable of a relative humidity range of 15 to 95 %,
heater, fan, gages, and recording device.
controllable to 65%.
6.1.3 Capable of a temperature range of 15 to 35 °C (59 to
8.2 Calibrate the test chamber instrumentation as recom-
95 °F) with a tolerance of 62°C(64 °F).
mended by the manufacturer, to maintain relative humidity and
6.1.4 Provision for automatic cycling of humidity and
temperature accuracy.
temperature conditions.
6.1.5 Having visible humidity and temperature indicators
9. Preparation of Test Specimens
and a continuous recording device (digital readout or plotter).
9.1 Position and clamp length and width test specimens in
6.2 Specimen Frame, meeting the following criteria:
the specimen frame. (See Fig. 2).
6.2.1 Of a size that will fit in the test chamber and hold two
9.2 Attach a weighted spring clamp to the lower end of each
specimens, see Fig. 1.
specimen (see 6.4). Do not remove the weighted springs
6.2.2 With a means for measuring specimen l
...




Questions, Comments and Discussion
Ask us and Technical Secretary will try to provide an answer. You can facilitate discussion about the standard in here.
Loading comments...