ISO 1180:1983/Add 1:1985
(Main)Shanks for pneumatic tools and fitting dimensions of chuck bushings — Addendum 1
Shanks for pneumatic tools and fitting dimensions of chuck bushings — Addendum 1
Queues d'outils pneumatiques et dimensions d'interchangeabilité des douilles porte-outil — Additif 1
General Information
- Status
- Published
- Publication Date
- 31-Jul-1985
- Technical Committee
- ISO/TC 29 - Small tools
- Drafting Committee
- ISO/TC 29 - Small tools
- Current Stage
- 6060 - International Standard published
- Start Date
- 01-Aug-1985
- Completion Date
- 12-Feb-2026
Relations
- Effective Date
- 06-Jun-2022
- Effective Date
- 14-Aug-2008
- Effective Date
- 15-Apr-2008
Overview
ISO 1180:1983/Add.1:1985 is an addendum to ISO 1180 (1983) that updates dimensional and interchangeability details for shanks used in pneumatic tools and the fitting dimensions of chuck bushings. Developed by ISO/TC 29 (Small tools), the addendum introduces new clauses (12–14), adds a reference to ISO 296 (self-holding tapers), and extends the annex with inch-based dimensions and tolerances for the newly specified shank types.
Key Topics
- New clauses added
- Clause 12: Shanks for weld flux sealers - chisels and nozzle holes with dimensions and tolerances in millimetres.
- Clause 13: Piston rods and butts for rammer tools - includes self-holding (Morse) tapers and connecting holes; Morse taper dimensions are stated to align with ISO 296.
- Clause 14: Shanks for plug hole drills - Type A (hexagonal section) and Type B (round section) with optional flushing hole guidance.
- Dimensional data and tolerances
- Metric tables give nominal sizes and tolerances for A, B, L, C, D, E, F, radii, etc., for each shank type.
- Annex A is expanded with inch equivalents (A.7–A.9) for chisels, nozzle holes, piston rods, rammer butts and plug hole drills.
- Morse taper reference
- The addendum explicitly references ISO 296 for Morse taper dimensions used for piston rods and rammer butts.
- Manufacturing/functional notes
- Guidance on optional flushing holes: minimum diameter 3 mm (0.12 in) and maximum length 30 mm (1.181 in) to avoid forging restrictions and maintain interchangeability.
Applications
ISO 1180:1983/Add.1:1985 is intended for use where precise interchangeability and safe assembly of pneumatic tool components are required. Typical users:
- Tool manufacturers producing chisels, piston rods, rammer butts, plug-hole drills and corresponding shanks
- Machine/tooling designers specifying shank-to-bushing interfaces and taper fits
- Maintenance and repair teams ensuring replaced parts meet original interchangeability dimensions
- Procurement and quality assurance teams verifying supplier component conformity
- Standards professionals and test labs validating dimensional compliance
Related Standards
- ISO 296 - Machine tools: self-holding tapers for tool shanks (referenced by this addendum).
- ISO 1180 (main document) - original specification for shanks for pneumatic tools and chuck bushing dimensions.
This addendum strengthens interchangeability and manufacturing clarity by adding specific shank geometries, Morse taper alignment, and inch-metric conversions - essential for international manufacturing and cross-supplier compatibility.
Get Certified
Connect with accredited certification bodies for this standard
National Aerospace and Defense Contractors Accreditation Program (NADCAP)
Global cooperative program for special process quality in aerospace.
CARES (UK Certification Authority for Reinforcing Steels)
UK certification for reinforcing steels and construction.
DVS-ZERT GmbH
German welding certification society.
Sponsored listings
Frequently Asked Questions
ISO 1180:1983/Add 1:1985 is a standard published by the International Organization for Standardization (ISO). Its full title is "Shanks for pneumatic tools and fitting dimensions of chuck bushings — Addendum 1". This standard covers: Shanks for pneumatic tools and fitting dimensions of chuck bushings — Addendum 1
Shanks for pneumatic tools and fitting dimensions of chuck bushings — Addendum 1
ISO 1180:1983/Add 1:1985 is classified under the following ICS (International Classification for Standards) categories: 25.140.10 - Pneumatic tools. The ICS classification helps identify the subject area and facilitates finding related standards.
ISO 1180:1983/Add 1:1985 has the following relationships with other standards: It is inter standard links to ISO 1180:1983; is excused to SIST ISO 1180:2002, ISO 1180:1983. Understanding these relationships helps ensure you are using the most current and applicable version of the standard.
ISO 1180:1983/Add 1:1985 is available in PDF format for immediate download after purchase. The document can be added to your cart and obtained through the secure checkout process. Digital delivery ensures instant access to the complete standard document.
Standards Content (Sample)
INTERNATIONAL STANDARD ISO 1180=1983/ADDENDUM 1
Published 1985-08-15
INTERNATIONAL ORGANIZATION FOR STANDARDIZATION. MEXflYHAPOfiHAFI OPrAHM3A~MFl l-l0 CTAH,QAPTM3Ai&lM l ORGANISATION INTERNATIONALE DE NORMALISATION
Shanks for pneumatic tools and dimensions of chuck
bushings
ADDENDUM 1
Queues d ’ou tils Pneuma tiques et dimensions d ’in terchangeabilith des douilles porte-ou til
Additif I
Addendum 1 to ISO 1180-1983 was developed by Technical Committee ISO/TC 29, Small tools.
Add the following reference in clause 2:
ISO 296, Machine tools - Self-holding tapers for tool shanks.
Add the following clauses 12, 13 and 14:
Ref. No. ISO 1180-1983/Add. 1-1985 (EI
UDC 621.9.02 : 621.542
Pescriptors : pneumatic equipment, tools, shanks, chuck bushings, dimensions.
0 International Organkation for Standardkation, 1985 0
Price based on IO pages
Printed in Switzerland
ISO 1180=1983/Add. 1-1985 (E)
12 Shanks for weld flux sealers
12.1 Chisels
20 ”?2O
/
l-
Figure IO - Chisels
Table 15
Dimensions and tolerantes in millimetres
F
A B L C D E
Rl R2 R3
Nominal
'0 0
size +0,2 0 -0,2 0 f0,5 +0,5 +0,2 -0,5 -0,l max. max. f 0,5
12 12,7 15 60 42 14 8 12 5,5 4 6
ISO 1180-1983/Add. 1-1985 (EI
12.2 Nozzle holes
Figure 11 - Nozzle hole
Table 16
Dimensions and tolerantes in millimetres
A
B L R
Nominal
+0,5
size
Hl2 Hl3
I!z 0,5
12 13 16 54 2
.,
ISO 1180-1983/Add. 1-1985 (E)
13 Piston rods and butts for rammer tools
13.1 Piston rods - Self-holding tapers
Morse taper -
Figure 12 - Piston rods - Self-holding taper
Table 17
Dimensions in millimetres
Morse taperl)
d ’) I el) r
No.
1 12,2 56 3,5 1
2 18 67 5 M
3 24,l 85 5 23
1) The Morse taper and the values for d and e are in accordance with
ISO 296.
ISO 1180-1983/Add. 1-1985 (EI
13.2 Rammer butts - Connecting holes
Morse taper -
r-lgure 13 - Rammer butts - Connecting hole
Table 18,
Dimensions in millimetres
Morse taper 1)
b
D ’) D, ‘)
11 l2 G
No.
18 6
12,065 9,7 63 48
56 22 6
2 17,780 14,9 71
71 28 ‘6
3 23,825 20,2 90
1) The Morse taper and the values for D and D1 are in accordance with ISO 296.
ISO 118091983/Add. 1-1985 (EI
14 Shanks for plug hole drills
14.1 Type A - Hexagonal section
Dimensions and tolerantes in millimetres
, R1,5
39,3ro,3
44+i
-
M ,
- f o,l A
8920,5
-
B-B
The flushing hole shown in the figure is optional and does not affect the interchangeability. Care shall be taken to ensure that when
forging the collar, the hole does not form a restriction; a minimum hole diameter of 3 mm and a maximum length of 30 mm shall
be respected.
Figure 14 -
Plug hole drills, type A - Hexagonal section
ISO 1180-1983/Add. 1-1985 (EI
14.2 Type B - Round section
Dimensions and tolerantes in millimetres
Use @ 8 round-nose Cutter
Width across flats 22 or Q> 25
4 equally spaced Slots
es
_ 6
...
NORME INTERNATIONALE ISO 1180-1983/ADDITIF 1
Publié 1985-08-15
INTERNATIONAL ORGANIZATION FOR STANDARDIZATION- MEXflYHAPOAHAR OPt-AHM3A~l’lFl no CTAH~APTM3A~MM.ORGANISATION INTERNATIONALE DE NORMALISATION
Queues d’outils pneumatiques et dimensions
d’interchangeabilité des douilles porte-outil
ADDITIF 1
Shanks for pneumatic tools and dimensions of chuck bushings
Addendum 7
L’Additif 1 à I’ISO 1180-1983 a été élaboré par le comité technique ISO/TC 29, Petit outillage.
Ajouter dans le chapitre 2 la référence suivante:
ISO 296, Machines-outils - Cônes pour emmanchements d’outils à faible tonicité.
Ajouter les chapitres 12, 13 et 14 suivants:
CDU 621.9.02 : 621.542 Réf. no : ISO 1180-1983/Add. I-1985 (F)
Descripteurs : matériel pneumatique, outil, queue d’outil, douille porte-outil, dimension.
0 Organisation internationale de normalisation, 1985 0
Imprimé en Suisse Prix basé sur 10 pages
ISO 1180~1983/Add. 1-1985 (F)
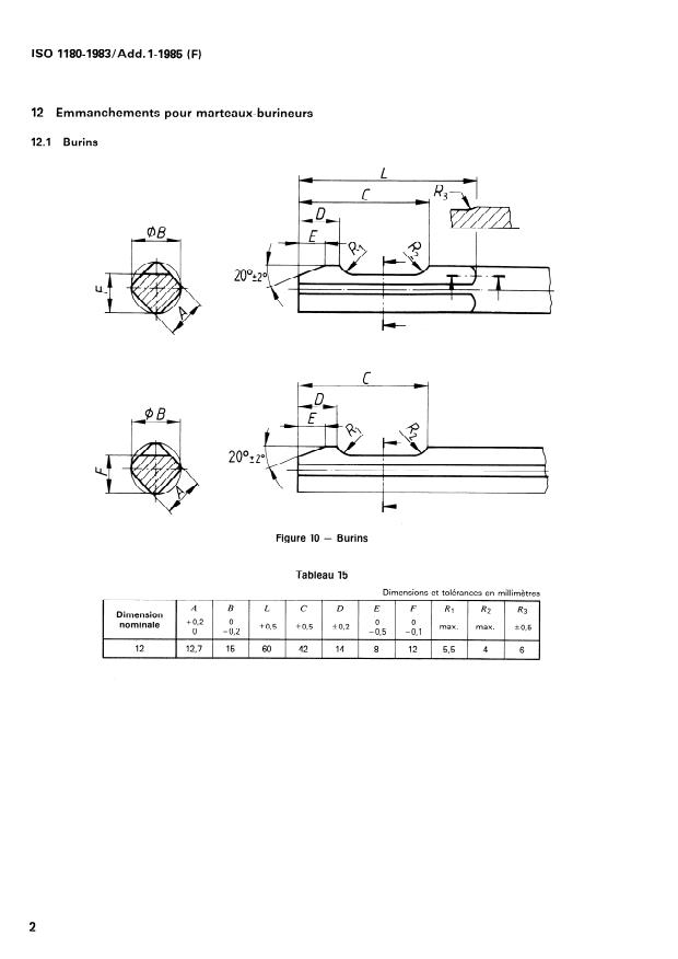
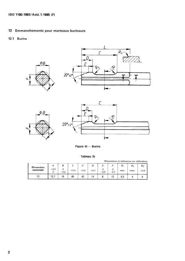
12 Emmanchements pour marteaux-burineurs
12.1 Burins
20”+2
Figure 10 - Burins
Tableau 15
Dimensions et tolérances en millimètres
A B L c D E F
Rl
R2 R3
Dimension
nominale + 0,2 0 '0 0
0 -0,2 rt 0,5 +0,5 +0,2 max. max.
f0,5
-0,5 -0,l
I 12 1 12,7 1 15 1 60 1 42 1 14 1 8 1 12
1 5,5 1 4 I 6 I
ISO 11804983/Add. 1-1985 (FI
12.2 Douilles porte-outil
Figure 11 - Douille porte-outil
Tableau 16
Dimensions et tolérances en millimètres
A B L R
Dimension
+ 0,5
nominale
HI2 H13 +0,5
12 13 16 54 2
ISO 1180-1983/Add. I-1985 (F)
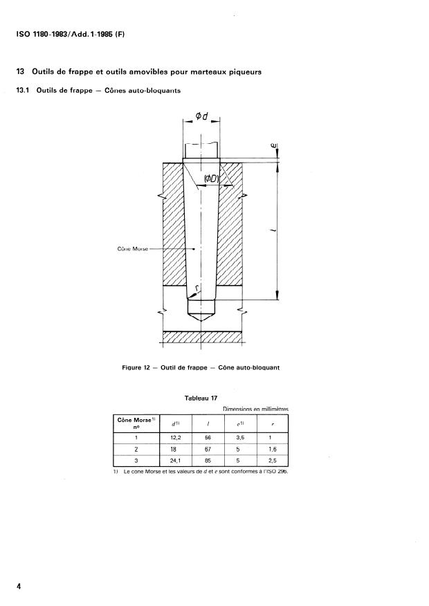
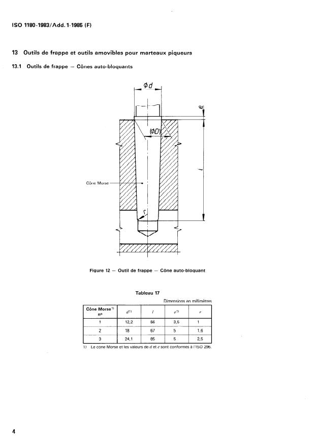
13 Outils de frappe et outils amovibles pour marteaux piqueurs
13.1 Outils de frappe - Cônes auto-bloquants
Cône Morse
Figure 12 - Outil de frappe - Cône auto-bloquant
Tableau 17
Dimensions en millimètres
Cône Morsel)
1 el) r
d”
no
1 12,2 56 3,5 1
2 18 67 5 13
3 24,l 85 5 2,5
1) Le cône Morse et les valeurs de d et e sont conformes à I’ISO 296.
ISO 1180~1983/Add. l-1985 (FI
13.2 Outils amovibles - Lumières de déblocage
Cône Morse --
Figure 13 - Outil amovible - Lumière de déblocage
Tableau 18
Dimensions en millimètres
Cône Morsel)
b
D” Dl”
Il /2 l3
no
18 6
1 12,065 37 63 48
22 6
2 17,780 14,9 71 56
28 6
3 23,825 20,2 90 71
1) Le cône Morse et les valeurs de D et D’ sont conformes à I’ISO 296.
ISO 1180-1983/Add. l-1985 (F)
14 Emmanchements pour perforateurs
Section hexagonale
14.1 Type A -
Dimensions et tolérances en millimètres
RI 5
l-T--T
R3 R3
Y- \ A
I 39.321 44+;
-
l
f o,l A,
8920,s
B-B
-eFR\\\\\\\\\\\\\\\\\\\\\\\\\\\\* \ \ \
Le trou d’injection représenté sur la coupe longitudinale est optionnel et ne doit pas gêner I’interchangeabilité. Le rétrécissement du
trou d’injection dû au forgeage ne doit pas être réduit à un trou de diamètre‘ inférieur à 3 mm et de longueur supérieure à 30 mm.
Perforateur type A - Section hexagonale
Figure 14 -
ISO 1180-1983/Add. I-1985 (FI
14.2 Type B - Section ronde
Dimensions et tolérances en millimètres
4 évidements équidistants à usiner
22 surp
...
NORME INTERNATIONALE ISO 1180-1983/ADDITIF 1
Publié 1985-08-15
INTERNATIONAL ORGANIZATION FOR STANDARDIZATION- MEXflYHAPOAHAR OPt-AHM3A~l’lFl no CTAH~APTM3A~MM.ORGANISATION INTERNATIONALE DE NORMALISATION
Queues d’outils pneumatiques et dimensions
d’interchangeabilité des douilles porte-outil
ADDITIF 1
Shanks for pneumatic tools and dimensions of chuck bushings
Addendum 7
L’Additif 1 à I’ISO 1180-1983 a été élaboré par le comité technique ISO/TC 29, Petit outillage.
Ajouter dans le chapitre 2 la référence suivante:
ISO 296, Machines-outils - Cônes pour emmanchements d’outils à faible tonicité.
Ajouter les chapitres 12, 13 et 14 suivants:
CDU 621.9.02 : 621.542 Réf. no : ISO 1180-1983/Add. I-1985 (F)
Descripteurs : matériel pneumatique, outil, queue d’outil, douille porte-outil, dimension.
0 Organisation internationale de normalisation, 1985 0
Imprimé en Suisse Prix basé sur 10 pages
ISO 1180~1983/Add. 1-1985 (F)
12 Emmanchements pour marteaux-burineurs
12.1 Burins
20”+2
Figure 10 - Burins
Tableau 15
Dimensions et tolérances en millimètres
A B L c D E F
Rl
R2 R3
Dimension
nominale + 0,2 0 '0 0
0 -0,2 rt 0,5 +0,5 +0,2 max. max.
f0,5
-0,5 -0,l
I 12 1 12,7 1 15 1 60 1 42 1 14 1 8 1 12
1 5,5 1 4 I 6 I
ISO 11804983/Add. 1-1985 (FI
12.2 Douilles porte-outil
Figure 11 - Douille porte-outil
Tableau 16
Dimensions et tolérances en millimètres
A B L R
Dimension
+ 0,5
nominale
HI2 H13 +0,5
12 13 16 54 2
ISO 1180-1983/Add. I-1985 (F)
13 Outils de frappe et outils amovibles pour marteaux piqueurs
13.1 Outils de frappe - Cônes auto-bloquants
Cône Morse
Figure 12 - Outil de frappe - Cône auto-bloquant
Tableau 17
Dimensions en millimètres
Cône Morsel)
1 el) r
d”
no
1 12,2 56 3,5 1
2 18 67 5 13
3 24,l 85 5 2,5
1) Le cône Morse et les valeurs de d et e sont conformes à I’ISO 296.
ISO 1180~1983/Add. l-1985 (FI
13.2 Outils amovibles - Lumières de déblocage
Cône Morse --
Figure 13 - Outil amovible - Lumière de déblocage
Tableau 18
Dimensions en millimètres
Cône Morsel)
b
D” Dl”
Il /2 l3
no
18 6
1 12,065 37 63 48
22 6
2 17,780 14,9 71 56
28 6
3 23,825 20,2 90 71
1) Le cône Morse et les valeurs de D et D’ sont conformes à I’ISO 296.
ISO 1180-1983/Add. l-1985 (F)
14 Emmanchements pour perforateurs
Section hexagonale
14.1 Type A -
Dimensions et tolérances en millimètres
RI 5
l-T--T
R3 R3
Y- \ A
I 39.321 44+;
-
l
f o,l A,
8920,s
B-B
-eFR\\\\\\\\\\\\\\\\\\\\\\\\\\\\* \ \ \
Le trou d’injection représenté sur la coupe longitudinale est optionnel et ne doit pas gêner I’interchangeabilité. Le rétrécissement du
trou d’injection dû au forgeage ne doit pas être réduit à un trou de diamètre‘ inférieur à 3 mm et de longueur supérieure à 30 mm.
Perforateur type A - Section hexagonale
Figure 14 -
ISO 1180-1983/Add. I-1985 (FI
14.2 Type B - Section ronde
Dimensions et tolérances en millimètres
4 évidements équidistants à usiner
22 surp
...












Questions, Comments and Discussion
Ask us and Technical Secretary will try to provide an answer. You can facilitate discussion about the standard in here.
Loading comments...