ISO 9191:1991
(Main)Lawn and garden ride-on (riding) tractors - Three-point hitch
Lawn and garden ride-on (riding) tractors - Three-point hitch
Specifies the requirements for the connection of implements or attachments to the rear of lawn and garden ride-on tractors by means of a three-point hitch in association with a power lift. Dimensions relating to the implement, the tractor and the mast height are given. Applies to lawn and garden tractors as defined in ISO 9191. Annex A is for information only and gives a bibliography.
Tracteurs de jardin et de pelouse à conducteur porté — Attelage trois points
Enoosni traktor - Tritočkovni priključni sistem
General Information
- Status
- Published
- Publication Date
- 06-Mar-1991
- Technical Committee
- ISO/TC 23/SC 13 - Powered lawn and garden equipment
- Drafting Committee
- ISO/TC 23/SC 13 - Powered lawn and garden equipment
- Current Stage
- 9093 - International Standard confirmed
- Start Date
- 19-Sep-2022
- Completion Date
- 13-Dec-2025
Overview
ISO 9191:1991 specifies requirements for the rear connection of implements and attachments to lawn and garden ride‑on (riding) tractors using a three‑point hitch together with a power lift. It defines linkage components, geometric relationships and key dimensions for both the implement and the tractor to ensure consistent fit, performance and safe operation. The standard supports interchangeability between tractors and implements of the type covered by ISO 9191.
Key topics and requirements
- Scope and purpose: Requirements for three‑point free‑link hitches with power lift on lawn and garden ride‑on tractors; Annex A provides a bibliography.
- Definitions: Clear terminology for components such as upper/lower link, hitch point, mast, lift linkage, link point, levelling adjustment and lift range.
- Dimensions and geometry: Prescribed dimensions for implement and tractor connection points, including:
- Upper hitch pin hole diameter (17–18 mm)
- Lower hitch point span (500–508 mm)
- Linchpin hole diameter (6–8 mm) and linchpin hole distances
- Clearance radii for upper and lower links and tyre/tractor clearances
- Lift and power ranges: Definitions of lift range (vertical movement of lower hitch points) and power range (total vertical movement available from the lift system), plus required mast adjustment and mast height conventions used to establish virtual hitch points.
- Performance requirement: Minimum lift force - a minimum of 2 kN must be available at 305 mm rearward of the lower hitch point using 80% of the minimum hydraulic relief valve pressure setting.
- Linkage behaviour: Side‑sway, levelling adjustment and means to lock lower links for transport or operations where lateral sway is unacceptable.
Practical applications and users
ISO 9191 is primarily used by:
- Tractor and implement manufacturers - to design compatible three‑point hitch systems and ensure interchangeability.
- Design engineers - for linkage geometry, mast height selection and determining top‑link length and adjustment ranges.
- Test laboratories and certification bodies - to verify compliance with dimensional and performance requirements.
- Procurement and fleet managers - to specify tractors and implements that will work together safely and reliably.
Benefits include improved compatibility between equipment brands, predictable implement behavior (pitch, draft response, clearance) and clearer design rules for small tractor applications.
Related standards
- ISO 5395:1990 - Power lawn‑mowers and safety/test procedures
- ISO 9190:1990 - Drawbar for lawn and garden ride‑on tractors
- ISO 9192:1991 - One‑point tubular sleeve hitch for ride‑on tractors
- ISO 9193:1990 - Power take‑off for ride‑on tractors
Keywords: ISO 9191:1991, three‑point hitch, lawn and garden ride‑on tractors, linkage dimensions, mast height, lift range, implement interchangeability.
ISO 9191:1991 - Lawn and garden ride-on (riding) tractors -- Three-point hitch
ISO 9191:1991 - Tracteurs de jardin et de pelouse a conducteur porté -- Attelage trois points
ISO 9191:1991 - Tracteurs de jardin et de pelouse a conducteur porté -- Attelage trois points
Frequently Asked Questions
ISO 9191:1991 is a standard published by the International Organization for Standardization (ISO). Its full title is "Lawn and garden ride-on (riding) tractors - Three-point hitch". This standard covers: Specifies the requirements for the connection of implements or attachments to the rear of lawn and garden ride-on tractors by means of a three-point hitch in association with a power lift. Dimensions relating to the implement, the tractor and the mast height are given. Applies to lawn and garden tractors as defined in ISO 9191. Annex A is for information only and gives a bibliography.
Specifies the requirements for the connection of implements or attachments to the rear of lawn and garden ride-on tractors by means of a three-point hitch in association with a power lift. Dimensions relating to the implement, the tractor and the mast height are given. Applies to lawn and garden tractors as defined in ISO 9191. Annex A is for information only and gives a bibliography.
ISO 9191:1991 is classified under the following ICS (International Classification for Standards) categories: 65.060.70 - Horticultural equipment. The ICS classification helps identify the subject area and facilitates finding related standards.
You can purchase ISO 9191:1991 directly from iTeh Standards. The document is available in PDF format and is delivered instantly after payment. Add the standard to your cart and complete the secure checkout process. iTeh Standards is an authorized distributor of ISO standards.
Standards Content (Sample)
SLOVENSKI STANDARD
01-september-1995
(QRRVQLWUDNWRU7ULWRþNRYQLSULNOMXþQLVLVWHP
Lawn and garden ride-on (riding) tractors -- Three-point hitch
Tracteurs de jardin et de pelouse à conducteur porté -- Attelage trois points
Ta slovenski standard je istoveten z: ISO 9191:1991
ICS:
65.060.70 Vrtnarska oprema Horticultural equipment
2003-01.Slovenski inštitut za standardizacijo. Razmnoževanje celote ali delov tega standarda ni dovoljeno.
INTERNATIONAL
STANDARD
First edition
1991-03-01
Lawn and garden ride-an (riding) tractors -
Three-Point hitch
Tracfeurs de jardin et de pelouse a conducteur Porte - Attelage trois
poin ts
Reference number
Foreword
ISO (the International Organization for Standardization) is a worldwide
federation of national Standards bodies (ISO member bodies). The work
of preparing International Standards is normally carried out through ISO
technical committees. Esch member body interested in a subject for
which a technical committee has been established has the right to be
represented on that committee. International organizations, govern-
mental and non-governmental, in liaison with ISO, also take part in the
work. ISO collaborates closely with the International Electrotechnical
Commission (IEC) on all matters of electrotechnical standardization.
Draft International Standards adopted by the technical committees are
circulated to the member bodies for voting. Publication as an Interna-
tional Standard requires approval by at least 75 % of the member bodies
casting a vote.
International Standard ISO 9191 was prepared by Technical Committee
ISO/TC 23, Trattors and machinery for agriculture and forestry.
Annex A of this International Standard is for information only.
0 ISO 1991
All rights reserved. No part of this publication may be reproduced or utilized in any form
or by any means, electronie or mechanical, including photocopying and microfilm, without
Permission in writing from the publisher.
International Organization for Standardization
Case Postale 56 * CH-1211 Geneve 20 l Switzerland
Printed in Switzerland
ii
INTERNATIONAL STANDARD ISO 9191:1991(E)
Lawn and garden ride-on (riding) tractors - Three-Point hitch
2.3.3 Iink Point: Articulated connection between a
1 Scope
link and the tractor. For geometrical analysis, the
link Point is established as the centre of the artic-
This International Standard specifies the require-
ulated connection between a link and the tractor.
ments for the connection of implements or attach-
ments to the rear of lawn and garden ride-on (riding)
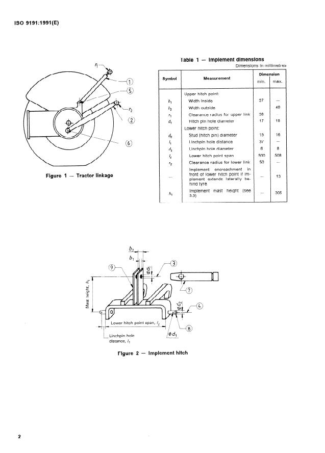
tractors by means of a three-Point free link hitch in 2.4 Linkage components (see figure 1 and figure 2)
association with a power lift.
2.4.1
upper iink 0; iower iink 0: Elements as ap-
lt applies to lawn and garden ride-on (riding) trac-
propriate in the linkage, each fitted with an artic-
tors as defined below.
ulated connection at both ends.
2 Definitions
2.4.2 upper hitch Point 0: Articulated connection
between the upper link and the implement.
For the purposes of this International Standard, the
following definitions apply.
2.4.3 upper iink Point 0: Articulated connection
between an upper link and the tractor.
2.1 ride-on (riding) machine; iawn and garden trac-
tor; turf (riding) tractor: Self-propelled machine on
2.4.4 iower hitch Point @: Articulated connection
which an Operator rides, designed primarily for cut-
between a lower link and the implement.
ting grass and auxiliary garden work. The cutting
means may be an integral part of the machine or
suspended from or attached to the machine.‘)
2.4.5 iower iink Point @: Articulated connection
between a lower link and the tractor.
2.2 attachment: Optional assembly of components
that tan be mounted on a lawn and garden ride-on
2.4.6 upper hitch pin 0: Pin, usually detachable
(riding) tractor for a specific use.
and forming part of the upper link assembly, that
connects the upper link to the implement.
2.3 General
2.4.7 iower hitch stud or pin @: Stud or pin at-
2.3.1 iinkage: Combination of one upper link and
tached to the implement, on which a lower link is
two lower links, each articulated to the tractor and
secured.
the implement at opposite ends, in Order to connect
the implement to the tractor.
2.4.8 mast @: Member that provides attachment
of the upper link of the implement.
2.3.2 hitch Point: Articulated connection between a
line and the implement. For geometrical analysis,
the hitch Point is established as the centre of the 2.4.9 iift linkage: Connecting linkage that transmits
articulated connection between a link and the im- forte to the lower links for raising and lowering im-
plements.
plement.
1) For the convenience of the user of this International Standard, this definition is repeated from ISO 53951990 (definition
1.3.40).
Implement dimensions
Table 1 -
Dimensions in miliimetres
Dime sion
Symbol Measurement
min. max.
Upper hitch Point:
-
Width inside 27
-
Width outside
h2
-r2
-
Clearance radius for upper link 38
r1
Hitch pin hole diameter 17 18
-0
Lower hitch Point:
Stud (hitch pin) diameter 15
d2
-
Llnchpin hole distance 37
Llnchpin hole diameter 6 8
d3
Lower hitch Point span 500 508
--
Clearance radius for lower link 50
r2
Implement encroachment in
front of lower hitch Point if im-
- Trattor linkage
Figure 1 -
--
plement extends lateralty be-
hind tyre
Implement mast height (see
-
hl
3.3)
Lower hitch Point span, /2
distance, I,
Implement hltch
Figure 2 -
2.5 Linkage dimensions (see figure 3)
3 Dimensions
2.51 mast height: Perpendicular distance between
3.1 Implements
the upper hitch Point and common axis of the lower
hitch Points.
Dimensions relating to the implement shall be as
given in figure 2 and table 1.
2.5.2 levelling adjustment: Adjustment of lower
links so that the one lower hitch Point may be moved
vertically with respect to the other lower hitch Point
3.2 Trattor
to provide an inclination of the implement.
Dimensions relating to the tractor shall be as given
2.53 lower hitch Point span: Distance between
in figure3 and table2.
lower hitch Points measured at the base of the lower
hitch stud, or the distance between the innermost
The
...
INTERNATIONAL
STANDARD
First edition
1991-03-01
Lawn and garden ride-an (riding) tractors -
Three-Point hitch
Tracfeurs de jardin et de pelouse a conducteur Porte - Attelage trois
poin ts
Reference number
Foreword
ISO (the International Organization for Standardization) is a worldwide
federation of national Standards bodies (ISO member bodies). The work
of preparing International Standards is normally carried out through ISO
technical committees. Esch member body interested in a subject for
which a technical committee has been established has the right to be
represented on that committee. International organizations, govern-
mental and non-governmental, in liaison with ISO, also take part in the
work. ISO collaborates closely with the International Electrotechnical
Commission (IEC) on all matters of electrotechnical standardization.
Draft International Standards adopted by the technical committees are
circulated to the member bodies for voting. Publication as an Interna-
tional Standard requires approval by at least 75 % of the member bodies
casting a vote.
International Standard ISO 9191 was prepared by Technical Committee
ISO/TC 23, Trattors and machinery for agriculture and forestry.
Annex A of this International Standard is for information only.
0 ISO 1991
All rights reserved. No part of this publication may be reproduced or utilized in any form
or by any means, electronie or mechanical, including photocopying and microfilm, without
Permission in writing from the publisher.
International Organization for Standardization
Case Postale 56 * CH-1211 Geneve 20 l Switzerland
Printed in Switzerland
ii
INTERNATIONAL STANDARD ISO 9191:1991(E)
Lawn and garden ride-on (riding) tractors - Three-Point hitch
2.3.3 Iink Point: Articulated connection between a
1 Scope
link and the tractor. For geometrical analysis, the
link Point is established as the centre of the artic-
This International Standard specifies the require-
ulated connection between a link and the tractor.
ments for the connection of implements or attach-
ments to the rear of lawn and garden ride-on (riding)
tractors by means of a three-Point free link hitch in 2.4 Linkage components (see figure 1 and figure 2)
association with a power lift.
2.4.1
upper iink 0; iower iink 0: Elements as ap-
lt applies to lawn and garden ride-on (riding) trac-
propriate in the linkage, each fitted with an artic-
tors as defined below.
ulated connection at both ends.
2 Definitions
2.4.2 upper hitch Point 0: Articulated connection
between the upper link and the implement.
For the purposes of this International Standard, the
following definitions apply.
2.4.3 upper iink Point 0: Articulated connection
between an upper link and the tractor.
2.1 ride-on (riding) machine; iawn and garden trac-
tor; turf (riding) tractor: Self-propelled machine on
2.4.4 iower hitch Point @: Articulated connection
which an Operator rides, designed primarily for cut-
between a lower link and the implement.
ting grass and auxiliary garden work. The cutting
means may be an integral part of the machine or
suspended from or attached to the machine.‘)
2.4.5 iower iink Point @: Articulated connection
between a lower link and the tractor.
2.2 attachment: Optional assembly of components
that tan be mounted on a lawn and garden ride-on
2.4.6 upper hitch pin 0: Pin, usually detachable
(riding) tractor for a specific use.
and forming part of the upper link assembly, that
connects the upper link to the implement.
2.3 General
2.4.7 iower hitch stud or pin @: Stud or pin at-
2.3.1 iinkage: Combination of one upper link and
tached to the implement, on which a lower link is
two lower links, each articulated to the tractor and
secured.
the implement at opposite ends, in Order to connect
the implement to the tractor.
2.4.8 mast @: Member that provides attachment
of the upper link of the implement.
2.3.2 hitch Point: Articulated connection between a
line and the implement. For geometrical analysis,
the hitch Point is established as the centre of the 2.4.9 iift linkage: Connecting linkage that transmits
articulated connection between a link and the im- forte to the lower links for raising and lowering im-
plements.
plement.
1) For the convenience of the user of this International Standard, this definition is repeated from ISO 53951990 (definition
1.3.40).
Implement dimensions
Table 1 -
Dimensions in miliimetres
Dime sion
Symbol Measurement
min. max.
Upper hitch Point:
-
Width inside 27
-
Width outside
h2
-r2
-
Clearance radius for upper link 38
r1
Hitch pin hole diameter 17 18
-0
Lower hitch Point:
Stud (hitch pin) diameter 15
d2
-
Llnchpin hole distance 37
Llnchpin hole diameter 6 8
d3
Lower hitch Point span 500 508
--
Clearance radius for lower link 50
r2
Implement encroachment in
front of lower hitch Point if im-
- Trattor linkage
Figure 1 -
--
plement extends lateralty be-
hind tyre
Implement mast height (see
-
hl
3.3)
Lower hitch Point span, /2
distance, I,
Implement hltch
Figure 2 -
2.5 Linkage dimensions (see figure 3)
3 Dimensions
2.51 mast height: Perpendicular distance between
3.1 Implements
the upper hitch Point and common axis of the lower
hitch Points.
Dimensions relating to the implement shall be as
given in figure 2 and table 1.
2.5.2 levelling adjustment: Adjustment of lower
links so that the one lower hitch Point may be moved
vertically with respect to the other lower hitch Point
3.2 Trattor
to provide an inclination of the implement.
Dimensions relating to the tractor shall be as given
2.53 lower hitch Point span: Distance between
in figure3 and table2.
lower hitch Points measured at the base of the lower
hitch stud, or the distance between the innermost
The values power range and adjust-
for lift range
restraining means provided on the implement.
men ts shall
be as given i n table 3.
2.5.4 linchpin hole distance: Distance between the
3.3 Mast height
linchpin hole centreline and the lower link stud base.
The mast height is not necessarily a mechanical di-
2.5.5 lift ra
...
NORME
INTERNATIONALE
Première édition
199 1-03-o 1
Tracteurs de jardin et de pelouse à conducteur
- Attelage trois points
porté
Lawn and garden ride-on (riding) tractors - Three-point hitch
Numéro de référence
Avant-propos
L’ISO (Organisation internationale de normalisation) est une fédération
mondiale d’organismes nationaux de normalisation (comités membres
de I’ISO). L’élaboration des Normes internationales est en général
confiée aux comités techniques de I’ISO. Chaque comité membre inté-
ressé par une étude a le droit de faire partie du comité technique crée
à cet effet. Les organisations internationales, gouvernementales et non
gouvernementales, en liaison avec I’ISO participent également aux tra-
vaux. L’ISO collabore étroitement avec la Commission électrotechnique
internationale (CEI) en ce qui concerne la normalisation électrotech-
nique.
Les projets de Normes internationales adoptés par les comités techni-
ques sont soumis aux comités membres pour vote. Leur publication
comme Normes internationales requiert l’approbation de 75 % au moins
des comités membres votants.
La Norme internationale ISO 9191 a été élaborée par le comité techni-
que ISO/TC 23, Tracteurs et matériels agricoles et forestiers.
L’annexe A de la présente Norme internationale est donnée uniquement
à titre d’information.
0 ISO 1991
Droits de reproduction réservés. Aucune partie de cette publication ne peut être repro-
duite ni utilisée sous quelque forme que ce soit et par aucun procédé, électronique ou
mécanique, y compris la photocopie et les microfilms, sans l’accord écrit de l’éditeur.
Organisation internationale de normalisation
Case Postale 56 l CH-121 1 Genève 20 l Suisse
Imprimé en Suisse
ii
NORME INTERNATIONALE JSO 9191:1991(F)
Tracteurs de jardin et de pelouse à conducteur porté -
Attelage trois points
2.3.2 point d’attelage: Liaison articulée entre une
1 Domaine d’application
barre et un instrument. Du point de vue géométri-
que, le point d’attelage est le centre de la liaison
La présente Norme internationale prescrit les ca-
articulée entre la barre et l’instrument.
ractéristiques requises pour le raccordement des
instruments ou des équipements à l’arrière des
2.3.3 point d’appui: Liaison articulée entre une
tracteurs de jardin et de pelouse à conducteur porté
barre et le tracteur. Du point de vue géométrique, le
au moyen d’une barre d’attelage trois points à appui
point d’appui est le centre de la liaison articulée
libre associée à un système de relevage hydrauli-
entre la barre et le tracteur.
que.
Elle est applicable aux tracteurs de jardin et de pe-
2.4 Éléments d’attelage (voir figure 1 et figure 2)
louse à conducteur porté tels que définis ci-dessous.
2.4.1 barre supérieure @ ; barre inférieure 0: Élé-
ments d’attelage munis, à chaque extrémité, d’une
liaison articulée.
2 Définitions
2.4.2 point d’attelage supérieur 0: Liaison articu-
Pour les besoins de la présente Norme internatio-
lée entre la barre supérieure et l’instrument.
nale, les définitions suivantes s’appliquent.
2.4.3 point d’appui supérieur 0: Liaison articulée
2.1 machine à conducteur porté; tracteur de pe-
entre la barre supérieure et le tracteur.
louse et de jardin; tracteur de gazon (à conducteur
porté): Machine automotrice destinée spécialement
2,4,4 point d’attelage inférieur @: Liaison articulée
à couper l’herbe et à des travaux de jardinage
entre une barre inférieure et l’instrument.
auxiliaires et sur laquelle un conducteur est porté.
Les organes de coupe peuvent être une partie inté-
grante de la machine ou un accessoire suspendu
2.4.5 point d’appui inférieur @: Liaison articulée
ou attaché à la machine?
entre une barre inférieure et le tracteur.
2.2 équipement: Ensemble optionnel d’éléments
2.4.6 cheville d’attelage supérieure 0: Cheville
pouvant être monté sur un tracteur de jardin ou de généralement amovible et faisant partie de I’en-
pelouse à conducteur porté pour une utilisation
semble de la barre supérieure, qui relie la barre
spécifique.
supérieure à l’instrument.
2.3 Généralités
2.4.7 tige ou cheville d’attelage inférieure @: Tige
ou cheville fixée à l’instrument, sur laquelle une
barre inférieure est attachée.
2.3,1 attelage: Combinaison d’une barre supérieure
et de deux barres inférieures, chacune étant articu-
lée à ses extrémités d’une part sur le tracteur et 2.4.8 potence @: Elément qui comporte I’empla-
d’autre part sur l’instrument, de facon à relier I’ins- cernent du point d’attelage supérieur sur I’instru-
t
trument au tracteur. ment.
1) Cette définition est tirée de I’ISO 53951990 (définition 1.3.40) de façon à faciliter l’utilisation de la présente Norme
internationale.
2.4.9 bielles de reievage: Organes de liaison qui
transmettent la force aux barres inférieures pour
Tableau 1 - Dimensions concernant l’instrument
lever ou abaisser les instruments.
Dimensions en millimètres
Dime tsion
Symbole Caractéristique dimensionnelle
min. max.
Point d’attelage supérieur:
-
Largeur à l’intérieur
h,
-
Largeur à l’extérieur
b2
Rayon de dégagement pour la
-
rl
barre supérieure
Diamètre du trou d’attelage 17 18
Point d’attelage lnférleur:
Diamètre de la tige (cheville
15 16
d2
d’attelage)
-
Distance du trou de goupille 37
Diamètre du trou de goupille 6 8
d3
Écartement des points d’atte-
500 508
lage inférieurs
Rayon de dégagement pour la
-
r2
barre Inférieure
Encoche de l’instrument face
au point d’attelage inférieur si
- -
I’lnstrument s’étend laté-
Figure 1 - Attelage du tracteur
ralement au-delà du pneu
Hauteur de potence de I’instru-
-
ment (voir 3.3)
d’attelage inférieurs, Iz
Ii \
Distance du trou
/@d3
L
de goupille, Z,
Figure 2 - Attelage de l’instrument
Le réglage de la potence
2.5 Caracteristiques dimensionnelles de l’attelage rapport à la verticale.
(voir figure 3) contrôle le talonnage de l’instrument.
NOTE 1 La spécification du réglage de la potence per-
2.51 hauteur de potence: Distance mesurée per-
met au constructeur du tracteur de déterminer le réglage
pendiculairement entre le point d’attelage supérieur
minimal acceptable de la longueur de la barre supérieure
et l’axe commun des points d’attelage inférieurs.
par rapport aux points d’attelage inférieurs. Elle permet
aussi au constructeur de l’instrument de déterminer la
25.2 réglage d’aplomb: Réglage des points d’appui
gamme de profondeurs de fonctionnement de l’instrument
inférieurs de facon qu’un point d’attelage inférieur pour laquelle on peut obtenir un réglage suffisant de
talonnage.
puisse être déplacé verticalement par rapport à
l’autre pour causer l’inclinaison de l’instrument.
3 Dimensions
2.53 écartement des points d’attelage inférieurs:
Distance entre les points d’attelage inférieurs, me-
3.1 instrument
surée au niveau des épaulements des chevilles
d’attelage inférieures, ou distance entre les deux
Les dimensions concernant l’attelage de I’instru-
éléments de maintien les plus profonds de I’instru-
ment doivent être celles indiquées à la figure 2 et
ment.
dans le tableau 1.
2.5.4 distance du trou de goupille: Distance entre
3.2 Tracteur
l’axe du trou de goupille et l’épaulement de la che-
ville du point d’appui inférieur.
Les dimensions concernant le tracteur doivent être
celles indiquées à la figure 3 et dans le table
...
NORME
INTERNATIONALE
Première édition
199 1-03-o 1
Tracteurs de jardin et de pelouse à conducteur
- Attelage trois points
porté
Lawn and garden ride-on (riding) tractors - Three-point hitch
Numéro de référence
Avant-propos
L’ISO (Organisation internationale de normalisation) est une fédération
mondiale d’organismes nationaux de normalisation (comités membres
de I’ISO). L’élaboration des Normes internationales est en général
confiée aux comités techniques de I’ISO. Chaque comité membre inté-
ressé par une étude a le droit de faire partie du comité technique crée
à cet effet. Les organisations internationales, gouvernementales et non
gouvernementales, en liaison avec I’ISO participent également aux tra-
vaux. L’ISO collabore étroitement avec la Commission électrotechnique
internationale (CEI) en ce qui concerne la normalisation électrotech-
nique.
Les projets de Normes internationales adoptés par les comités techni-
ques sont soumis aux comités membres pour vote. Leur publication
comme Normes internationales requiert l’approbation de 75 % au moins
des comités membres votants.
La Norme internationale ISO 9191 a été élaborée par le comité techni-
que ISO/TC 23, Tracteurs et matériels agricoles et forestiers.
L’annexe A de la présente Norme internationale est donnée uniquement
à titre d’information.
0 ISO 1991
Droits de reproduction réservés. Aucune partie de cette publication ne peut être repro-
duite ni utilisée sous quelque forme que ce soit et par aucun procédé, électronique ou
mécanique, y compris la photocopie et les microfilms, sans l’accord écrit de l’éditeur.
Organisation internationale de normalisation
Case Postale 56 l CH-121 1 Genève 20 l Suisse
Imprimé en Suisse
ii
NORME INTERNATIONALE JSO 9191:1991(F)
Tracteurs de jardin et de pelouse à conducteur porté -
Attelage trois points
2.3.2 point d’attelage: Liaison articulée entre une
1 Domaine d’application
barre et un instrument. Du point de vue géométri-
que, le point d’attelage est le centre de la liaison
La présente Norme internationale prescrit les ca-
articulée entre la barre et l’instrument.
ractéristiques requises pour le raccordement des
instruments ou des équipements à l’arrière des
2.3.3 point d’appui: Liaison articulée entre une
tracteurs de jardin et de pelouse à conducteur porté
barre et le tracteur. Du point de vue géométrique, le
au moyen d’une barre d’attelage trois points à appui
point d’appui est le centre de la liaison articulée
libre associée à un système de relevage hydrauli-
entre la barre et le tracteur.
que.
Elle est applicable aux tracteurs de jardin et de pe-
2.4 Éléments d’attelage (voir figure 1 et figure 2)
louse à conducteur porté tels que définis ci-dessous.
2.4.1 barre supérieure @ ; barre inférieure 0: Élé-
ments d’attelage munis, à chaque extrémité, d’une
liaison articulée.
2 Définitions
2.4.2 point d’attelage supérieur 0: Liaison articu-
Pour les besoins de la présente Norme internatio-
lée entre la barre supérieure et l’instrument.
nale, les définitions suivantes s’appliquent.
2.4.3 point d’appui supérieur 0: Liaison articulée
2.1 machine à conducteur porté; tracteur de pe-
entre la barre supérieure et le tracteur.
louse et de jardin; tracteur de gazon (à conducteur
porté): Machine automotrice destinée spécialement
2,4,4 point d’attelage inférieur @: Liaison articulée
à couper l’herbe et à des travaux de jardinage
entre une barre inférieure et l’instrument.
auxiliaires et sur laquelle un conducteur est porté.
Les organes de coupe peuvent être une partie inté-
grante de la machine ou un accessoire suspendu
2.4.5 point d’appui inférieur @: Liaison articulée
ou attaché à la machine?
entre une barre inférieure et le tracteur.
2.2 équipement: Ensemble optionnel d’éléments
2.4.6 cheville d’attelage supérieure 0: Cheville
pouvant être monté sur un tracteur de jardin ou de généralement amovible et faisant partie de I’en-
pelouse à conducteur porté pour une utilisation
semble de la barre supérieure, qui relie la barre
spécifique.
supérieure à l’instrument.
2.3 Généralités
2.4.7 tige ou cheville d’attelage inférieure @: Tige
ou cheville fixée à l’instrument, sur laquelle une
barre inférieure est attachée.
2.3,1 attelage: Combinaison d’une barre supérieure
et de deux barres inférieures, chacune étant articu-
lée à ses extrémités d’une part sur le tracteur et 2.4.8 potence @: Elément qui comporte I’empla-
d’autre part sur l’instrument, de facon à relier I’ins- cernent du point d’attelage supérieur sur I’instru-
t
trument au tracteur. ment.
1) Cette définition est tirée de I’ISO 53951990 (définition 1.3.40) de façon à faciliter l’utilisation de la présente Norme
internationale.
2.4.9 bielles de reievage: Organes de liaison qui
transmettent la force aux barres inférieures pour
Tableau 1 - Dimensions concernant l’instrument
lever ou abaisser les instruments.
Dimensions en millimètres
Dime tsion
Symbole Caractéristique dimensionnelle
min. max.
Point d’attelage supérieur:
-
Largeur à l’intérieur
h,
-
Largeur à l’extérieur
b2
Rayon de dégagement pour la
-
rl
barre supérieure
Diamètre du trou d’attelage 17 18
Point d’attelage lnférleur:
Diamètre de la tige (cheville
15 16
d2
d’attelage)
-
Distance du trou de goupille 37
Diamètre du trou de goupille 6 8
d3
Écartement des points d’atte-
500 508
lage inférieurs
Rayon de dégagement pour la
-
r2
barre Inférieure
Encoche de l’instrument face
au point d’attelage inférieur si
- -
I’lnstrument s’étend laté-
Figure 1 - Attelage du tracteur
ralement au-delà du pneu
Hauteur de potence de I’instru-
-
ment (voir 3.3)
d’attelage inférieurs, Iz
Ii \
Distance du trou
/@d3
L
de goupille, Z,
Figure 2 - Attelage de l’instrument
Le réglage de la potence
2.5 Caracteristiques dimensionnelles de l’attelage rapport à la verticale.
(voir figure 3) contrôle le talonnage de l’instrument.
NOTE 1 La spécification du réglage de la potence per-
2.51 hauteur de potence: Distance mesurée per-
met au constructeur du tracteur de déterminer le réglage
pendiculairement entre le point d’attelage supérieur
minimal acceptable de la longueur de la barre supérieure
et l’axe commun des points d’attelage inférieurs.
par rapport aux points d’attelage inférieurs. Elle permet
aussi au constructeur de l’instrument de déterminer la
25.2 réglage d’aplomb: Réglage des points d’appui
gamme de profondeurs de fonctionnement de l’instrument
inférieurs de facon qu’un point d’attelage inférieur pour laquelle on peut obtenir un réglage suffisant de
talonnage.
puisse être déplacé verticalement par rapport à
l’autre pour causer l’inclinaison de l’instrument.
3 Dimensions
2.53 écartement des points d’attelage inférieurs:
Distance entre les points d’attelage inférieurs, me-
3.1 instrument
surée au niveau des épaulements des chevilles
d’attelage inférieures, ou distance entre les deux
Les dimensions concernant l’attelage de I’instru-
éléments de maintien les plus profonds de I’instru-
ment doivent être celles indiquées à la figure 2 et
ment.
dans le tableau 1.
2.5.4 distance du trou de goupille: Distance entre
3.2 Tracteur
l’axe du trou de goupille et l’épaulement de la che-
ville du point d’appui inférieur.
Les dimensions concernant le tracteur doivent être
celles indiquées à la figure 3 et dans le table
...






















Questions, Comments and Discussion
Ask us and Technical Secretary will try to provide an answer. You can facilitate discussion about the standard in here.
Loading comments...