ASTM C739-24
(Specification)Standard Specification for Cellulosic Fiber Loose-Fill Thermal Insulation
Standard Specification for Cellulosic Fiber Loose-Fill Thermal Insulation
ABSTRACT
This specification covers the composition and physical requirements of chemically treated, recycled cellulosic fiber loose-fill type thermal insulation for installation in attics or enclosed spaces in housing and other buildings by pneumatic or pouring method. While the products are used in various constructions, they are adaptable primarily, but not exclusively, to wood joists, rafters, and stud constructions. The basic material shall be made from selected paper, paperboard stock, or ground wood stock, excluding contaminated materials, which may reasonably be expected to be retained in the finished product. Suitable chemicals are introduced to provide properties such as flame resistance, processing, and handling characteristics. Products shall be prepared suitably to undergo test methods, for which they should comply with the following physical and chemical property requirements: corrosiveness; critical radiant flux; fungi resistance; moisture vapor sorption; odor emission; smoldering combustion; and thermal resistance.
SCOPE
1.1 This specification covers the composition and physical requirements of chemically treated, recycled cellulosic fiber loose-fill type thermal insulation for use in attics or enclosed spaces in housing, and other framed buildings within the ambient temperature range from −45 to 90°C by pneumatic or pouring application. While products that comply with this specification are used in various constructions, they are adaptable primarily, but not exclusively, to wood joist, rafters, and stud construction.
1.2 The values stated in SI units are to be regarded as standard. No other units of measurement are included in this standard.
1.3 This standard does not purport to address all of the safety concerns, if any, associated with its use. It is the responsibility of the user of this standard to establish appropriate safety, health, and environmental practices and determine the applicability of regulatory limitations prior to use.
1.4 This international standard was developed in accordance with internationally recognized principles on standardization established in the Decision on Principles for the Development of International Standards, Guides and Recommendations issued by the World Trade Organization Technical Barriers to Trade (TBT) Committee.
General Information
- Status
- Published
- Publication Date
- 29-Feb-2024
- Technical Committee
- C16 - Thermal Insulation
- Drafting Committee
- C16.23 - Blanket and Loose Fill Insulation
Relations
- Effective Date
- 01-Mar-2024
- Effective Date
- 15-Apr-2024
- Effective Date
- 01-May-2022
- Effective Date
- 01-Dec-2019
- Effective Date
- 01-Sep-2019
- Effective Date
- 01-Mar-2024
- Effective Date
- 01-Mar-2024
- Effective Date
- 01-Mar-2024
- Effective Date
- 01-Mar-2024
- Referred By
ASTM C1497-16 - Standard Specification for Cellulosic Fiber Stabilized Thermal Insulation - Effective Date
- 01-Mar-2024
- Effective Date
- 01-Mar-2024
- Effective Date
- 01-Mar-2024
- Effective Date
- 01-Mar-2024
- Effective Date
- 01-Mar-2024
- Effective Date
- 01-Mar-2024
Overview
ASTM C739-24: Standard Specification for Cellulosic Fiber Loose-Fill Thermal Insulation defines the requirements for recycled, chemically treated cellulosic fiber-based loose-fill type thermal insulation. This standard is developed by ASTM and applies to insulation installed in attics or enclosed spaces of residential and commercial buildings using pneumatic or pouring methods. The focus is on insulation primarily for wood joists, rafters, and stud constructions, ensuring performance, safety, and reliability across a wide temperature range (−45 to 90°C).
Key Topics
Material Composition
The insulation must consist of recycled cellulosic fibers from selected paper, paperboard, or wood stock. Contaminated material is excluded to maintain quality. Flame resistance, processability, and handling characteristics are achieved through suitable chemical treatments.Physical and Chemical Requirements
ASTM C739-24 outlines performance and testing requirements to ensure the insulation meets key criteria:- Corrosiveness: The product must not promote corrosion of construction metals.
- Critical Radiant Flux: Ensures fire resistance and safety when exposed to radiant heat.
- Fungi Resistance: The insulation must resist fungal growth when tested as specified.
- Moisture Vapor Sorption: Limits moisture absorption for structural durability.
- Odor Emission: The product should not emit objectionable odors.
- Smoldering Combustion: Insulation should not support smoldering that could spread fire.
- Thermal Resistance: Specifies minimum R-values for effective insulation performance.
Workmanship and Appearance
Loose-fill insulation must be free from foreign materials that could impair performance, such as metals or glass fragments.Testing and Performance
Various ASTM testing methods are referenced to determine compliance with each property, ensuring performance consistency and safety for end-users.
Applications
Residential and Commercial Buildings:
Cellulosic fiber loose-fill insulation is widely used in housing and other framed structures, especially when optimal thermal resistance and energy efficiency are required.Attics and Enclosed Spaces:
The material is ideal for insulating hard-to-reach or irregularly shaped spaces where traditional batt insulation may not be suitable.Wood Construction:
Particularly adaptable to wood joists, rafters, and studs, though the standard permits broader applications.Sustainability:
Emphasizes the use of recycled content, supporting green building initiatives and environmental responsibility.Fire and Moisture Sensitive Installations:
Chemically treated fiber enhances safety and longevity, making it suitable for spaces prone to moisture ingress or fire risks.
Related Standards
ASTM C739-24 references several essential ASTM standards related to thermal insulation, testing methods, and performance evaluation, including:
- ASTM C168: Terminology Relating to Thermal Insulation
- ASTM C177: Test Method for Steady-State Heat Flux Measurements and Thermal Transmission Properties by Means of the Guarded-Hot-Plate Apparatus
- ASTM C518: Test Method for Steady-State Thermal Transmission Properties by the Heat Flow Meter Apparatus
- ASTM C687: Practice for Determination of Thermal Resistance of Loose-Fill Building Insulation
- ASTM C1338: Test Method for Determining Fungi Resistance of Insulation Materials and Facings
- ASTM E970: Test Method for Critical Radiant Flux of Exposed Attic Floor Insulation Using a Radiant Heat Energy Source
Practical Value
Adhering to ASTM C739-24 ensures that cellulosic fiber loose-fill insulation delivers reliable performance, safety, and energy efficiency. Specifiers, manufacturers, builders, and regulatory bodies reference this standard to verify that products meet rigorous requirements for sustainable construction and occupant safety. Compliance provides confidence in installation quality, long-term thermal performance, and resistance to moisture, fire, and biological hazards, supporting both building codes and green certification programs.
Keywords: ASTM C739-24, cellulosic fiber insulation, loose-fill insulation, thermal resistance, recycled insulation, attic insulation, building insulation standard, fungi resistance, moisture sorption, fire safety.
Buy Documents
ASTM C739-24 - Standard Specification for Cellulosic Fiber Loose-Fill Thermal Insulation
REDLINE ASTM C739-24 - Standard Specification for Cellulosic Fiber Loose-Fill Thermal Insulation
Get Certified
Connect with accredited certification bodies for this standard

ICC Evaluation Service
Building products evaluation and certification.

QAI Laboratories
Building and construction product testing and certification.

Aboma Certification B.V.
Specialized in construction, metal, and transport sectors.
Sponsored listings
Frequently Asked Questions
ASTM C739-24 is a technical specification published by ASTM International. Its full title is "Standard Specification for Cellulosic Fiber Loose-Fill Thermal Insulation". This standard covers: ABSTRACT This specification covers the composition and physical requirements of chemically treated, recycled cellulosic fiber loose-fill type thermal insulation for installation in attics or enclosed spaces in housing and other buildings by pneumatic or pouring method. While the products are used in various constructions, they are adaptable primarily, but not exclusively, to wood joists, rafters, and stud constructions. The basic material shall be made from selected paper, paperboard stock, or ground wood stock, excluding contaminated materials, which may reasonably be expected to be retained in the finished product. Suitable chemicals are introduced to provide properties such as flame resistance, processing, and handling characteristics. Products shall be prepared suitably to undergo test methods, for which they should comply with the following physical and chemical property requirements: corrosiveness; critical radiant flux; fungi resistance; moisture vapor sorption; odor emission; smoldering combustion; and thermal resistance. SCOPE 1.1 This specification covers the composition and physical requirements of chemically treated, recycled cellulosic fiber loose-fill type thermal insulation for use in attics or enclosed spaces in housing, and other framed buildings within the ambient temperature range from −45 to 90°C by pneumatic or pouring application. While products that comply with this specification are used in various constructions, they are adaptable primarily, but not exclusively, to wood joist, rafters, and stud construction. 1.2 The values stated in SI units are to be regarded as standard. No other units of measurement are included in this standard. 1.3 This standard does not purport to address all of the safety concerns, if any, associated with its use. It is the responsibility of the user of this standard to establish appropriate safety, health, and environmental practices and determine the applicability of regulatory limitations prior to use. 1.4 This international standard was developed in accordance with internationally recognized principles on standardization established in the Decision on Principles for the Development of International Standards, Guides and Recommendations issued by the World Trade Organization Technical Barriers to Trade (TBT) Committee.
ABSTRACT This specification covers the composition and physical requirements of chemically treated, recycled cellulosic fiber loose-fill type thermal insulation for installation in attics or enclosed spaces in housing and other buildings by pneumatic or pouring method. While the products are used in various constructions, they are adaptable primarily, but not exclusively, to wood joists, rafters, and stud constructions. The basic material shall be made from selected paper, paperboard stock, or ground wood stock, excluding contaminated materials, which may reasonably be expected to be retained in the finished product. Suitable chemicals are introduced to provide properties such as flame resistance, processing, and handling characteristics. Products shall be prepared suitably to undergo test methods, for which they should comply with the following physical and chemical property requirements: corrosiveness; critical radiant flux; fungi resistance; moisture vapor sorption; odor emission; smoldering combustion; and thermal resistance. SCOPE 1.1 This specification covers the composition and physical requirements of chemically treated, recycled cellulosic fiber loose-fill type thermal insulation for use in attics or enclosed spaces in housing, and other framed buildings within the ambient temperature range from −45 to 90°C by pneumatic or pouring application. While products that comply with this specification are used in various constructions, they are adaptable primarily, but not exclusively, to wood joist, rafters, and stud construction. 1.2 The values stated in SI units are to be regarded as standard. No other units of measurement are included in this standard. 1.3 This standard does not purport to address all of the safety concerns, if any, associated with its use. It is the responsibility of the user of this standard to establish appropriate safety, health, and environmental practices and determine the applicability of regulatory limitations prior to use. 1.4 This international standard was developed in accordance with internationally recognized principles on standardization established in the Decision on Principles for the Development of International Standards, Guides and Recommendations issued by the World Trade Organization Technical Barriers to Trade (TBT) Committee.
ASTM C739-24 is classified under the following ICS (International Classification for Standards) categories: 91.100.60 - Thermal and sound insulating materials. The ICS classification helps identify the subject area and facilitates finding related standards.
ASTM C739-24 has the following relationships with other standards: It is inter standard links to ASTM C739-21a, ASTM C168-24, ASTM C168-22, ASTM C1630-19, ASTM C1363-19, ASTM C1374-18(2023), ASTM C687-18, ASTM C1363-24, ASTM C1630-24, ASTM C1497-16, ASTM C1558-24, ASTM C1617-19, ASTM C1015-17, ASTM C1373/C1373M-23, ASTM E970-23. Understanding these relationships helps ensure you are using the most current and applicable version of the standard.
ASTM C739-24 is available in PDF format for immediate download after purchase. The document can be added to your cart and obtained through the secure checkout process. Digital delivery ensures instant access to the complete standard document.
Standards Content (Sample)
This international standard was developed in accordance with internationally recognized principles on standardization established in the Decision on Principles for the
Development of International Standards, Guides and Recommendations issued by the World Trade Organization Technical Barriers to Trade (TBT) Committee.
Designation: C739 − 24
Standard Specification for
Cellulosic Fiber Loose-Fill Thermal Insulation
This standard is issued under the fixed designation C739; the number immediately following the designation indicates the year of
original adoption or, in the case of revision, the year of last revision. A number in parentheses indicates the year of last reapproval. A
superscript epsilon (´) indicates an editorial change since the last revision or reapproval.
This standard has been approved for use by agencies of the U.S. Department of Defense.
1. Scope the Guarded-Hot-Plate Apparatus
C518 Test Method for Steady-State Thermal Transmission
1.1 This specification covers the composition and physical
Properties by Means of the Heat Flow Meter Apparatus
requirements of chemically treated, recycled cellulosic fiber
C687 Practice for Determination of Thermal Resistance of
loose-fill type thermal insulation for use in attics or enclosed
Loose-Fill Building Insulation
spaces in housing, and other framed buildings within the
C1114 Test Method for Steady-State Thermal Transmission
ambient temperature range from −45 to 90°C by pneumatic or
Properties by Means of the Thin-Heater Apparatus
pouring application. While products that comply with this
C1338 Test Method for Determining Fungi Resistance of
specification are used in various constructions, they are adapt-
Insulation Materials and Facings
able primarily, but not exclusively, to wood joist, rafters, and
C1363 Test Method for Thermal Performance of Building
stud construction.
Materials and Envelope Assemblies by Means of a Hot
1.2 The values stated in SI units are to be regarded as
Box Apparatus
standard. No other units of measurement are included in this
C1374 Test Method for Determination of Installed Thick-
standard.
ness of Pneumatically Applied Loose-Fill Building Insu-
1.3 This standard does not purport to address all of the
lation
safety concerns, if any, associated with its use. It is the C1485 Test Method for Critical Radiant Flux of Exposed
responsibility of the user of this standard to establish appro-
Attic Floor Insulation Using an Electric Radiant Heat
priate safety, health, and environmental practices and deter- Energy Source
mine the applicability of regulatory limitations prior to use.
C1630 Guide for Development of Coverage Charts for
1.4 This international standard was developed in accor- Loose-Fill Thermal Building Insulations
dance with internationally recognized principles on standard-
E177 Practice for Use of the Terms Precision and Bias in
ization established in the Decision on Principles for the
ASTM Test Methods
Development of International Standards, Guides and Recom- E691 Practice for Conducting an Interlaboratory Study to
mendations issued by the World Trade Organization Technical
Determine the Precision of a Test Method
Barriers to Trade (TBT) Committee. E970 Test Method for Critical Radiant Flux of Exposed Attic
Floor Insulation Using a Radiant Heat Energy Source
2. Referenced Documents
3. Terminology
2.1 ASTM Standards:
B152/B152M Specification for Copper Sheet, Strip, Plate,
3.1 Definitions—For definitions of terms used in this
and Rolled Bar
specification, see Terminology C168.
C168 Terminology Relating to Thermal Insulation
3.2 Definitions of Terms Specific to This Standard:
C177 Test Method for Steady-State Heat Flux Measure-
3.2.1 attic—an enclosed space between the roof and ceiling
ments and Thermal Transmission Properties by Means of
of the occupied part of a building.
3.2.2 critical radiant flux—the level of incident radiant heat
energy on the attic floor insulation system at the most distant
This specification is under the jurisdiction of ASTM Committee C16 on
flame-out point (W/cm ).
Thermal Insulation and is the direct responsibility of Subcommittee C16.23 on
Blanket and Loose Fill Insulation.
Current edition approved March 1, 2024. Published March 2024. Originally
4. Materials and Manufacture
approved in 1973. Last previous edition approved in 2021 as C739 – 21a. DOI:
10.1520/C0739-24.
4.1 The basic material shall be recycled cellulosic fiber
For referenced ASTM standards, visit the ASTM website, www.astm.org, or
made from selected paper, paperboard stock, or ground wood
contact ASTM Customer Service at service@astm.org. For Annual Book of ASTM
stock, excluding contaminated materials, which may reason-
Standards volume information, refer to the standard’s Document Summary page on
the ASTM website. ably be expected to be retained in the finished product. Suitable
Copyright © ASTM International, 100 Barr Harbor Drive, PO Box C700, West Conshohocken, PA 19428-2959. United States
C739 − 24
chemicals are introduced to provide properties such as flame TEST METHODS
resistance, processing, and handling characteristics.
7. Summary
4.2 The basic material may be processed into a form
7.1 The following tests shall be conducted on loose-fill
suitable for installation by pneumatic or pouring methods.
cellulosic insulation at the measured design density: moisture
vapor sorption, smoldering combustion, and thermal resis-
5. Physical and Chemical Properties
tance.
5.1 Design Density—The design density shall be determined
NOTE 2—The importance of an insulation’s product to maintain its fire
in accordance with Section 8. Report all units in kg/m .
retardant characteristics is recognized. A task group in ASTM C16.31 is
5.1.1 Design density is not a basis for acceptance or
currently studying methods to ascertain if there is a long-term deteriora-
rejection. tion of fire performance characteristics of cellulose insulation. Should the
need for a permanency test be determined by this task group and a test
5.2 Corrosiveness—The loose-fill insulation material shall
method be developed and finalized, it will become a part of this
specification.
be tested for corrosiveness as specified in Section 9. The
composition of the insulation material shall be such that after
8. Design Density
testing, no perforation of the 3-mil (76-μm) metal specimens
shall be evident when the specimens are observed over a 40-W
8.1 Scope—This test method provides a basis for calculating
appliance light bulb. Notches extending into the coupon 3 mm
the product coverage values and for conducting physical
or less from any edge shall be ignored.
property tests requiring the use of design density for sample
preparation.
5.3 Critical Radiant Flux—When tested in accordance with
Section 10, the critical radiant flux shall be ≥ 0.12 W/cm . All 8.2 Significance and Use—The design density is the ap-
proximate density expected after long-term attic application.
values shall be reported to two significant digits.
8.3 Apparatus and Materials:
5.4 Fungi Resistance—The loose-fill insulation material
8.3.1 Insulation Specimen Container—A beaker having a
shall be tested and shall pass fungi resistance as specified in
flat bottom and an inside diameter of 15.0 6 1 cm, straight
Section 11. If the growth on two or more of the replicate test
sides. The height of the beaker shall be such that the distance
items is greater than that on the comparative item, the test item
between the bottom of the cyclone and the top edge of the
shall be considered to fail.
beaker is 8.50 6 1.0 cm.
NOTE 1—If the manufacturing claims the insulation kills or controls
8.3.2 Flat Rigid Disk, having a total weight of 75 6 5 g and
insects or rodents, or both, the product must be registered as a pesticide
of a suitable diameter to fit loosely into the specimen container.
under the Federal Insecticide, Fungicide and Rodentic Act, as amended,
Weight may be added to the center of the disk to bring the total
and must also be registered in accordance with state pesticide statutes.
weight to the required 75 6 5 g.
5.5 Moisture Vapor Sorption—Moisture gain in the insula-
8.3.3 Balance, having a 2-kg capacity accurate to 60.2 g.
tion shall be no more than 15 % by weight when tested in
8.3.4 Blower Apparatus, having two blower units (supply
accordance with Section 12.
and overflow) meeting the following specifications:
8.3.4.1 Each blower apparatus shall be capable of blowing
5.6 Odor Emission—Any sample producing a detectable
an average of 272.2 kg of insulation per hour.
odor that is classified as objectionable and strong or very strong
8.3.4.2 Each blower apparatus shall have a nominal air flow
by more than two panel members shall be considered to have
velocity of 0.38 m/s.
failed the test when tested in accordance with Section 13.
8.3.4.3 Each blower apparatus shall have a nominal motor
5.7 Smoldering Combustion—When tested in accordance
speed of 16 450 r/min at 115 V (a-c).
with the smoldering combustion test method in Section 14, the
8.3.5 Shaker Unit, having a capability of shaking 4.5 kg of
insulation shall show no evidence of flaming and a weight loss
weight with a vertical motion of 0.5 g rms acceleration at an
no greater than 15 %.
approximate frequency of 9 Hz and displacement of approxi-
mately 1.17 6 0.08 cm.
5.8 Thermal Resistance—The standard thermal resistance
8.3.6 Fill Chamber, having inside dimensions of 45.7 cm
values normally recommended for open application are: 2.3,
high by 38.1 cm wide by 38.1 cm deep, with covered openings
3.4., 3.9, 5.3, 6.7, and 8.6 and are expressed in K·m /W. The
that will allow a radiant panel tray to be slid through the
thermal resistance R for the average of any (four) randomly
chamber (see Fig. 1).
selected specimens shall not be more than 5 % below the listed
8.3.7 Cyclone Receiver—See Fig. 2.
R value when tested in accordance with Section 15. R values
8.3.8 Hose—Various lengths of nominal 5.08-cm diameter
other than those listed shall be as agreed upon between the
hose (see Fig. 1):
supplier and the purchaser.
8.3.8.1 Supply Source Hose, 274.3 6 5.1 cm.
8.3.8.2 Cyclone Receiver Hose, 182.9 6 5.1 cm.
6. Workmanship, Finish, and Appearance
8.3.8.3 Fill Chamber Exit Hose, 91.4 6 5.1 cm.
6.1 The product shall be free of extraneous foreign materials 8.3.8.4 Overflow Exhaust Hose, length as needed.
such as metals and glass that will adversely affect the perfor- 8.3.9 Blower Controls, having capability of operating the
mance in service. two blowers at 40 V rms and 12 A.
C739 − 24
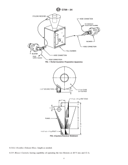
FIG. 1 Partial Insulation Preparation Apparatus
8.4.1 Condition specimens to equilibrium at 21 6 2.0°C and
50 6 5 % relative humidity in an open top mesh bottom
container not exceeding 10.16 cm in depth and position in such
a way to allow free movement of air on exposed sides. A
change in net weight of the specimen that is less than 1 % in
two consecutive weighings with 24 h between each weighing
constitutes equilibrium.
8.4.2 If ambient laboratory conditions are different from the
conditioning requirements specified in 8.4.1, begin testing the
specimen for design density within 10 min after it has been
removed from the conditioned area.
8.5 Procedure for Pneumatic Applications:
8.5.1 Conduct the test in an area conditioned in accordance
with 8.4.1.
8.5.2 Blow the material through a commercial blower using
30.48 m of 5.08 cm hose into a sample receiver while holding
the hose horizontally at a height of four feet.
8.5.3 Set up the apparatus as shown in Fig. 1. Connect one
end of the supply source hose to the intake of the supply
blower. Use the other end of the supply source hose to pick up
insulation from the holding container. Connect one end of the
cyclone receiver hose to the outlet of the supply blower and the
other end to the fill chamber. Place the fill chamber on a flat
and level surface. Connect one end of the variable length
overflow exhaust hose to the outlet of the overflow blower.
Conveniently place the other end to reduce insulation dust in
the test area.
FIG. 2 Cyclone Receiver Weldment
8.5.4 Weigh the empty insulation specimen container and
record its weight.
8.3.10 Insulation Holding Container, capable of holding
8.5.5 Place the empty insulation specimen container in the
four times the amount of insulation required to fill the fill chamber, centered under the cyclone receiver, and close the
specimen container.
front cover.
8.3.11 Garden Rake, with steel teeth.
8.5.6 Adjust the blower control(s) so that the supply and
8.4 Conditioning: overflow blowers will operate at a no-load voltage of 40 V rms.
C739 − 24
TABLE 1 Design Density (lb/ft )
Repeatability Reproducibility
Repeatability Reproducibility
A
Sample Average Standard Standard
Limit Limit
Deviation Deviation
x¯ s s r R
r R
Cellulose
Insulation 1.51 0.03 0.07 0.09 0.20
“A”
A
The average of the laboratories’ calculated averages.
8.5.7 Simultaneously turn on the blowers and proceed to fill 8.6.5 Repeat 8.6.2 – 8.6.4 using another specimen of the
the insulation specimen container by picking up material from insulation until four densities are obtained for a given material.
the holding container using the supply source hose. Then average these values to determine the design density.
8.5.8 The container may fill unevenly, that is, a void may
8.7 Procedure for Pouring and Pneumatic Applications—If
tend to form off center in the container. If this occurs, stop the
the insulation is intended for both pouring and pneumatic
blowing process and rotate the container. If, for any reason, the
applications, or if it is uncertain whether the insulation will be
filling process is interrupted for more than 1 min or for more
poured or installed pneumatically, test the insulation for design
than the time allowed to rotate the container once, begin the
density in accordance with 8.4, 8.5, and 8.6 for each of the
process again.
applications.
8.5.9 Gently remove the excess material using a straight
edge to leave a uniform surface on the insulation flush with the
8.8 Calculations—Calculate the design density, in kg/m , of
top of the container.
each specimen using Eq 1:
8.5.10 Weigh the filled and leveled container and record the
Design density 5 W/V (1)
s
weight. Take care not to bump or jar the container so not to
where:
introduce any extraneous settling of the insulation.
8.5.11 Cover the container to prevent spilling and secure the
W = combined mass of the container and insulation minus
container to the shaker. Operate the shaker for a period of 5
the mass of the container, g, and
min 6 15 s.
V = volume of insulation in container after shaking, L.
s
8.5.12 Remove the container from the shaker and uncover,
8.9 Precision and Bias:
taking care not to bump or jar it. Lower the disk very slowly
8.9.1 The precision of this test method is based on an
into the container until it starts to contact the insulation. At this
interlaboratory study of C739, Standard Specification for
point, release the disk and allow it to settle onto the insulation
Cellulosic Fiber Loose-Fill Thermal Insulation, conducted in
under its own weight.
2009. Six laboratories participated in this study, reporting the
8.5.13 Measure the volume of the space occupied by the
Design Density for a single cellulose insulation. All six labs
insulation using the bottom edge of the disk as the upper datum
reported results in pounds per cubic foot. A total of 16
point. If the disk is not level, measure the high and low points
replicates were reported by the participants for each of the unit
of the bottom of the disk and average the readings and use this
measurements. Every “test result” reported represents an indi-
as the height measurement in calculating the volume (V ).
s
vidual determination. Except for the use of data from only a
Calculate the design density using the insulation volume and
single type of cellulosic insulation, Practice E691 was followed
insulation mass (W).
for the design and analysis of the data; the details are given in
8.5.14 Repeat 8.5.1 – 8.5.13 using another specimen of the
ASTM Research Report No. RR:C16-1037.
insulation until four densities are obtained for a given material.
Then average these figures to determine the design density.
8.9.1.1 Repeatability limit (r)—Two test results obtained
within one laboratory shall be judged not equivalent if they
8.6 Procedure for Pouring Applications:
differ by more than the “r” value for that material; “r” is the
8.6.1 Pour loose-fill insulation into a simulated attic space
interval representing the critical difference between two test
until full. The attic space shall be formed by two nominal 2 by
results for the same material, obtained by the same operator
6 by 8-ft long joists placed 40.6 cm on center with 1.27-cm
using the same equipment on the same day in the same
plywood nailed to the ends and bottom. Fluff the material with
laboratory.
a garden rake, applying a series of small amplitude strokes
(1) Repeatability limits are listed in Table 1.
while moving the rake slowly along the joist. Repeat the
8.9.1.2 Reproducibility limit (R)—Two test results shall be
fluffing process six times.
judged not equivalent if they differ by more than the “R” value
8.6.2 Weigh the empty insulation specimen container and
for that material; “R” is the interval representing the critical
record its mass.
8.6.3 Using a shovel, remove the insulation from the simu-
lated attic space and place it into the specimen container until
the container just begins to overflow.
Supporting data have been filed at ASTM International Headquarters and may
8.6.4 Follow the procedure specified in 8.5.9 – 8.5.13. be obtained by requesting Research Report RR:C16-1037.
C739 − 24
difference between two test results for the same material, 9.3.6 Chemicals—Reagent-grade chemicals shall be used in
obtained by different operators using different equipment in all tests. Unless otherwise indicated, it is intended that all
different laboratories. reagents shall conform to the specifications of the Committee
(1) Reproducibility limits are listed in Table 1. on Analytical Reagents of the American Chemical Society,
where such specifications are available.
8.9.1.3 The above terms (repeatability limit and reproduc-
ibility limit) are used as specified in Practice E177. 9.3.7 Water, sterile and either distilled or deionized.
9.3.8 Forceps.
8.9.1.4 Any judgment in accordance with statement 8.9.1.1
9.3.9 Test Coupons:
would normally have an approximate 95 % probability of
9.3.9.1 Two, 3003 Bare Aluminum alloy, zero temper.
being correct, however the precision statistics for the analysis
9.3.9.2 Two, Specification B152/B152M, Type ETP, Cabra
obtained in this ILS must not be treated as exact mathematical
No. 110 soft copper.
quantities which are applicable to all circumstances and uses.
9.3.9.3 Two, low-carbon, commercial quality, cold-rolled,
The limited number of laboratories reporting results, and
less than 0.30 % carbon, shim steel.
materials tested, guarantees that there will be times when
9.3.9.4 Each coupon shall be 50.8 by 50.8 by 0.076-mm
differences greater than predicted by the ILS results will arise,
thick, free of tears, punctures, or crimps. Six coupons shall be
sometimes with considerably greater or smaller frequency than
used for one test of the insulation.
the 95 % probability limit would imply. Consider the repeat-
ability limit as a general guide, and the associated probability
9.4 Sampling—Samples of cellulose insulation used for
of 95 % as only a rough indicator of what can be expected.
testing shall be blown, combed, or otherwise mixed to reason-
8.9.2 Bias—At the time of the study, there was no accepted
ably ensure homogeneity of the sample.
reference material suitable for determining the bias for this test
9.5 Procedure:
method, therefore no statement on bias is being made.
9.5.1 Precleaning Metal Coupons:
8.9.3 This precision statement was determined through the
9.5.1.1 During fabrication, cleaning, or testing, never touch
statistical examination of 96 results from six laboratories, on a
the metal coupons by ungloved hands.
single type of cellulose insulation, measured in inch-pound
9.5.1.2 Handle cleaned coupons with only clean forceps.
units. The insulation test was generally described as:
9.5.1.3 In order to avoid exposing laboratory personnel to
8.9.3.1 Cellulose insulation “A”—Cellulosic fiber made
toxic fumes, perform all cleaning in a fume hood.
from selected recycled paper or paperboard stock. Suitable
9.5.1.4 Clean the coupons by vapor degreasing with 1-1-1
chemicals were introduced to provide flame resistance proper-
trichloroethane for 10 min. Following vapor degreasing, sub-
ties. The material was processed through an attrition mill with
ject the coupons to caustic or detergent washing, or both, as
the intended use of pneumatic applications.
appropriate. Following caustic or detergent washing, rinse the
coupons in flowing water to remove residues. Inspect each
9. Corrosiveness
coupon for a water-break free surface. (A water-break is a
9.1 Scope—This test method covers the determination of the break, separation, beading, or retraction of the water film as the
corrosiveness of cellulosic insulation. The cellulosic insulation coupon is held vertically after wetting.) As the coupons are
cleaned, the water film should become gradually thinner at the
shall be tested for corrosiveness using the measured design
density, as determined in Section 8. The pass/fail criteria is top and heavier at the bottom. Hot-air dry the coupons at
105°C.
given in 5.2.
9.5.2 Preparation of Test Samples:
9.2 Significance and Use—This test method provides a basis
9.5.2.1 Determine the design density of the sample in
for estimating the corrosiveness of cellulosic insulation in
accordance with Section 8.
contact with steel, copper, and aluminum test materials. The
9.5.2.2 For each metal coupon, subdivide a 20-g sample of
test method represents one set of exposure conditions designed
insulation into two 10-g portions. Determine the quantity of
to accelerate possible corrosive effects, and may not simulate
sterile and either distilled or deionized water to be used for
exposure conditions experienced in actual field applications.
each 10-g portion in accordance with Eq 2:
9.3 Apparatus and Materials:
2.9
9.3.1 Humidity Chamber (Test Method A), air-circulating, × 75 mL (2)
d
capable of maintaining a temperature of 48.9 6 1.7°C and 97
where:
6 1.5 % relative humidity throughout the active portion of the
chamber.
d = design density, lb/ft .
9.3.2 Oven (Test Method B), air circulating, capable of
9.5.2.3 Presaturate each 10-g portion with the determined
maintaining a temperature of 48.9 6 1.7°C throughout the
amount of water. Place one presaturated 10-g portion into a
active portion of the chamber.
9.3.3 Crystallizing Dishes, six, glass, 90 mm in diameter by
50 mm in height.
Reagent Chemicals, American Chemical Society Specifications, American
Chemical Society, Washington, DC. For suggestions on the testing of reagents not
9.3.4 Containers, six, glass, polyethylene or polypropylene,
listed by the American Chemical Society, see Analar Standards for Laboratory
with screw cap or friction top lid capable of sealing, 127 mm
Chemicals, BDH Ltd., Poole, Dorset, U.K., and the United States Pharmacopeia
in nominal diameter and 76 mm in nominal height.
and National Formulary, U.S. Pharmacopeial Convention, Inc. (USPC), Rockville,
9.3.5 Gloves, clean and in good condition. MD.
C739 − 24
crystallizing dish, tamp level using the bottom of a clean 9.5.4.1 Technique No. 1—Electrolytic Cleaning (for copper,
suitably sized glass beaker. Place a metal coupon onto the steel, and aluminum coupons). Electrolyze the coupons by
making a solution containing 28 mL of sulfuric acid (sp gr
presaturated insulation portion and center it in a horizontal
plane. Place the other presaturated 10-g portion into the 1.84), 2 mL of organic inhibitor (for example, about 0.5 g/L of
such inhibitors as diorthotolyl thiourea, quinoline ethiodide, or
crystallizing dish on the metal coupon and tamp the composite
betanaphthol quinoline) and 970 mL water. Maintain the
specimen (metal coupon and saturated insulation in the crys-
solution at 75°C . Use carbon or lead for the anode and one
tallizing dish) to ensure an even distribution of this material
metal coupon for the cathode. Electrolyze for 3 min at a current
and to ensure good contact of the insulation with the metal.
density of 20 A/cm . See Note 3 and Note 4.
Exercise care in preparing the composite specimens to elimi-
nate air pockets from forming next to the metal coupons.
NOTE 3—If using lead anodes, lead may deposit on the coupon. If the
9.5.2.4 Do not cover the crystallizing dish.
...
This document is not an ASTM standard and is intended only to provide the user of an ASTM standard an indication of what changes have been made to the previous version. Because
it may not be technically possible to adequately depict all changes accurately, ASTM recommends that users consult prior editions as appropriate. In all cases only the current version
of the standard as published by ASTM is to be considered the official document.
Designation: C739 − 21a C739 − 24
Standard Specification for
Cellulosic Fiber Loose-Fill Thermal Insulation
This standard is issued under the fixed designation C739; the number immediately following the designation indicates the year of
original adoption or, in the case of revision, the year of last revision. A number in parentheses indicates the year of last reapproval. A
superscript epsilon (´) indicates an editorial change since the last revision or reapproval.
This standard has been approved for use by agencies of the U.S. Department of Defense.
1. Scope
1.1 This specification covers the composition and physical requirements of chemically treated, recycled cellulosic fiber loose-fill
type thermal insulation for use in attics or enclosed spaces in housing, and other framed buildings within the ambient temperature
range from −45 to 90°C by pneumatic or pouring application. While products that comply with this specification are used in
various constructions, they are adaptable primarily, but not exclusively, to wood joist, rafters, and stud construction.
1.2 The values stated in SI units are to be regarded as standard. No other units of measurement are included in this standard.
1.3 This standard does not purport to address all of the safety concerns, if any, associated with its use. It is the responsibility
of the user of this standard to establish appropriate safety, health, and environmental practices and determine the applicability of
regulatory limitations prior to use.
1.4 This international standard was developed in accordance with internationally recognized principles on standardization
established in the Decision on Principles for the Development of International Standards, Guides and Recommendations issued
by the World Trade Organization Technical Barriers to Trade (TBT) Committee.
2. Referenced Documents
2.1 ASTM Standards:
B152/B152M Specification for Copper Sheet, Strip, Plate, and Rolled Bar
C168 Terminology Relating to Thermal Insulation
C177 Test Method for Steady-State Heat Flux Measurements and Thermal Transmission Properties by Means of the
Guarded-Hot-Plate Apparatus
C518 Test Method for Steady-State Thermal Transmission Properties by Means of the Heat Flow Meter Apparatus
C687 Practice for Determination of Thermal Resistance of Loose-Fill Building Insulation
C1114 Test Method for Steady-State Thermal Transmission Properties by Means of the Thin-Heater Apparatus
C1338 Test Method for Determining Fungi Resistance of Insulation Materials and Facings
C1363 Test Method for Thermal Performance of Building Materials and Envelope Assemblies by Means of a Hot Box Apparatus
C1374 Test Method for Determination of Installed Thickness of Pneumatically Applied Loose-Fill Building Insulation
C1485 Test Method for Critical Radiant Flux of Exposed Attic Floor Insulation Using an Electric Radiant Heat Energy Source
C1630 Guide for Development of Coverage Charts for Loose-Fill Thermal Building Insulations
E177 Practice for Use of the Terms Precision and Bias in ASTM Test Methods
E691 Practice for Conducting an Interlaboratory Study to Determine the Precision of a Test Method
This specification is under the jurisdiction of ASTM Committee C16 on Thermal Insulation and is the direct responsibility of Subcommittee C16.23 on Blanket and Loose
Fill Insulation.
Current edition approved Sept. 1, 2021March 1, 2024. Published September 2021March 2024. Originally approved in 1973. Last previous edition approved in 2021 as
C739 – 21.C739 – 21a. DOI: 10.1520/C0739-21A.10.1520/C0739-24.
For referenced ASTM standards, visit the ASTM website, www.astm.org, or contact ASTM Customer Service at service@astm.org. For Annual Book of ASTM Standards
volume information, refer to the standard’s Document Summary page on the ASTM website.
Copyright © ASTM International, 100 Barr Harbor Drive, PO Box C700, West Conshohocken, PA 19428-2959. United States
C739 − 24
E970 Test Method for Critical Radiant Flux of Exposed Attic Floor Insulation Using a Radiant Heat Energy Source
3. Terminology
3.1 Definitions—For definitions of terms used in this specification, see Terminology C168.
3.2 Definitions of Terms Specific to This Standard:
3.2.1 attic—an enclosed space between the roof and ceiling of the occupied part of a building.
3.2.2 critical radiant flux—the level of incident radiant heat energy on the attic floor insulation system at the most distant flame-out
point (W/cm ).
4. Materials and Manufacture
4.1 The basic material shall be recycled cellulosic fiber made from selected paper, paperboard stock, or ground wood stock,
excluding contaminated materials, which may reasonably be expected to be retained in the finished product. Suitable chemicals
are introduced to provide properties such as flame resistance, processing, and handling characteristics.
4.2 The basic material may be processed into a form suitable for installation by pneumatic or pouring methods.
5. Physical and Chemical Properties
5.1 Design Density—The design density shall be determined in accordance with Section 8. Report all units in kg/m .
5.1.1 Design density is not a basis for acceptance or rejection.
5.2 Corrosiveness—The loose-fill insulation material shall be tested for corrosiveness as specified in Section 9. The composition
of the insulation material shall be such that after testing, no perforation of the 3-mil (76-μm) metal specimens shall be evident when
the specimens are observed over a 40-W appliance light bulb. Notches extending into the coupon 3 mm or less from any edge shall
be ignored.
5.3 Critical Radiant Flux—When tested in accordance with Section 10, the critical radiant flux shall be ≥ 0.12 W/cm . All values
shall be reported to two significant digits.
5.4 Fungi Resistance—The loose-fill insulation material shall be tested and shall pass fungi resistance as specified in Section 11.
If the growth on two or more of the replicate test items is greater than that on the comparative item, the test item shall be considered
to fail.
NOTE 1—If the manufacturing claims the insulation kills or controls insects or rodents, or both, the product must be registered as a pesticide under the
Federal Insecticide, Fungicide and Rodentic Act, as amended, and must also be registered in accordance with state pesticide statutes.
5.5 Moisture Vapor Sorption—Moisture gain in the insulation shall be no more than 15 % by weight when tested in accordance
with Section 12.
5.6 Odor Emission—Any sample producing a detectable odor that is classified as objectionable and strong or very strong by more
than two panel members shall be considered to have failed the test when tested in accordance with Section 13.
5.7 Smoldering Combustion—When tested in accordance with the smoldering combustion test method in Section 14, the insulation
shall show no evidence of flaming and a weight loss no greater than 15 %.
5.8 Thermal Resistance—The standard thermal resistance values normally recommended for open application are: 2.3, 3.4., 3.9,
5.3, 6.7, and 8.6 and are expressed in K·m /W. The thermal resistance R for the average of any (four) randomly selected specimens
shall not be more than 5 % below the listed R value when tested in accordance with Section 15. R values other than those listed
shall be as agreed upon between the supplier and the purchaser.
C739 − 24
6. Workmanship, Finish, and Appearance
6.1 The product shall be free of extraneous foreign materials such as metals and glass that will adversely affect the performance
in service.
TEST METHODS
7. Summary
7.1 The following tests shall be conducted on loose-fill cellulosic insulation at the measured design density: moisture vapor
sorption, smoldering combustion, and thermal resistance.
NOTE 2—The importance of an insulation’s product to maintain its fire retardant characteristics is recognized. A task group in ASTM C16.31 is currently
studying methods to ascertain if there is a long-term deterioration of fire performance characteristics of cellulose insulation. Should the need for a
permanency test be determined by this task group and a test method be developed and finalized, it will become a part of this specification.
8. Design Density
8.1 Scope—This test method provides a basis for calculating the product coverage values and for conducting physical property
tests requiring the use of design density for sample preparation.
8.2 Significance and Use—The design density is the approximate density expected after long-term attic application.
8.3 Apparatus and Materials:
8.3.1 Insulation Specimen Container—A beaker having a flat bottom and an inside diameter of 15.0 6 1 cm, straight sides. The
height of the beaker shall be such that the distance between the bottom of the cyclone and the top edge of the beaker is 8.50 6
1.0 cm.
8.3.2 Flat Rigid Disk, having a total weight of 75 6 5 g and of a suitable diameter to fit loosely into the specimen container. Weight
may be added to the center of the disk to bring the total weight to the required 75 6 5 g.
8.3.3 Balance, having a 2-kg capacity accurate to 60.2 g.
8.3.4 Blower Apparatus, having two blower units (supply and overflow) meeting the following specifications:
8.3.4.1 Each blower apparatus shall be capable of blowing an average of 272.2 kg of insulation per hour.
8.3.4.2 Each blower apparatus shall have a nominal air flow velocity of 0.38 m/s.
8.3.4.3 Each blower apparatus shall have a nominal motor speed of 16 450 r/min at 115 V (a-c).
8.3.5 Shaker Unit, having a capability of shaking 4.5 kg of weight with a vertical motion of 0.5 g rms acceleration at an
approximate frequency of 9 Hz and displacement of approximately 1.17 6 0.08 cm.
8.3.6 Fill Chamber, having inside dimensions of 45.7 cm high by 38.1 cm wide by 38.1 cm deep, with covered openings that will
allow a radiant panel tray to be slid through the chamber (see Fig. 1).
8.3.7 Cyclone Receiver—See Fig. 2.
8.3.8 Hose—Various lengths of nominal 5.08-cm diameter hose (see Fig. 1):
8.3.8.1 Supply Source Hose, 274.3 6 5.1 cm.
8.3.8.2 Cyclone Receiver Hose, 182.9 6 5.1 cm.
8.3.8.3 Fill Chamber Exit Hose, 91.4 6 5.1 cm.
C739 − 24
FIG. 1 Partial Insulation Preparation Apparatus
FIG. 2 Cyclone Receiver Weldment
8.3.8.4 Overflow Exhaust Hose, length as needed.
8.3.9 Blower Controls, having capability of operating the two blowers at 40 V rms and 12 A.
C739 − 24
8.3.10 Insulation Holding Container, capable of holding four times the amount of insulation required to fill the specimen container.
8.3.11 Garden Rake, with steel teeth.
8.4 Conditioning:
8.4.1 Condition specimens to equilibrium at 21 6 2.0°C and 50 6 5 % relative humidity in an open top mesh bottom container
not exceeding 10.16 cm in depth and position in such a way to allow free movement of air on exposed sides. A change in net weight
of the specimen that is less than 1 % in two consecutive weighings with 24 h between each weighing constitutes equilibrium.
8.4.2 If ambient laboratory conditions are different from the conditioning requirements specified in 8.4.1, begin testing the
specimen for design density within 10 min after it has been removed from the conditioned area.
8.5 Procedure for Pneumatic Applications:
8.5.1 Conduct the test in an area conditioned in accordance with 8.4.1.
8.5.2 Blow the material through a commercial blower using 30.48 m of 5.08 cm hose into a sample receiver while holding the
hose horizontally at a height of four feet.
8.5.3 Set up the apparatus as shown in Fig. 1. Connect one end of the supply source hose to the intake of the supply blower. Use
the other end of the supply source hose to pick up insulation from the holding container. Connect one end of the cyclone receiver
hose to the outlet of the supply blower and the other end to the fill chamber. Place the fill chamber on a flat and level surface.
Connect one end of the variable length overflow exhaust hose to the outlet of the overflow blower. Conveniently place the other
end to reduce insulation dust in the test area.
8.5.4 Weigh the empty insulation specimen container and record its weight.
8.5.5 Place the empty insulation specimen container in the fill chamber, centered under the cyclone receiver, and close the front
cover.
8.5.6 Adjust the blower control(s) so that the supply and overflow blowers will operate at a no-load voltage of 40 V rms.
8.5.7 Simultaneously turn on the blowers and proceed to fill the insulation specimen container by picking up material from the
holding container using the supply source hose.
8.5.8 The container may fill unevenly, that is, a void may tend to form off center in the container. If this occurs, stop the blowing
process and rotate the container. If, for any reason, the filling process is interrupted for more than 1 min or for more than the time
allowed to rotate the container once, begin the process again.
8.5.9 Gently remove the excess material using a straight edge to leave a uniform surface on the insulation flush with the top of
the container.
8.5.10 Weigh the filled and leveled container and record the weight. Take care not to bump or jar the container so not to introduce
any extraneous settling of the insulation.
8.5.11 Cover the container to prevent spilling and secure the container to the shaker. Operate the shaker for a period of 5 min 6
15 s.
8.5.12 Remove the container from the shaker and uncover, taking care not to bump or jar it. Lower the disk very slowly into the
container until it starts to contact the insulation. At this point, release the disk and allow it to settle onto the insulation under its
own weight.
8.5.13 Measure the volume of the space occupied by the insulation using the bottom edge of the disk as the upper datum point.
If the disk is not level, measure the high and low points of the bottom of the disk and average the readings and use this as the height
measurement in calculating the volume (V ). Calculate the design density using the insulation volume and insulation mass (W).
s
C739 − 24
8.5.14 Repeat 8.5.1 – 8.5.13 using another specimen of the insulation until four densities are obtained for a given material. Then
average these figures to determine the design density.
8.6 Procedure for Pouring Applications:
8.6.1 Pour loose-fill insulation into a simulated attic space until full. The attic space shall be formed by two nominal 2 by 6 by
8-ft long joists placed 40.6 cm on center with 1.27-cm plywood nailed to the ends and bottom. Fluff the material with a garden
rake, applying a series of small amplitude strokes while moving the rake slowly along the joist. Repeat the fluffing process six
times.
8.6.2 Weigh the empty insulation specimen container and record its mass.
8.6.3 Using a shovel, remove the insulation from the simulated attic space and place it into the specimen container until the
container just begins to overflow.
8.6.4 Follow the procedure specified in 8.5.9 – 8.5.13.
8.6.5 Repeat 8.6.2 – 8.6.4 using another specimen of the insulation until four densities are obtained for a given material. Then
average these values to determine the design density.
8.7 Procedure for Pouring and Pneumatic Applications—If the insulation is intended for both pouring and pneumatic applications,
or if it is uncertain whether the insulation will be poured or installed pneumatically, test the insulation for design density in
accordance with 8.4, 8.5, and 8.6 for each of the applications.
8.8 Calculations—Calculate the design density, in kg/m , of each specimen using Eq 1:
Design density 5 W/V (1)
s
where:
W = combined mass of the container and insulation minus the mass of the container, g, and
V = volume of insulation in container after shaking, L.
s
8.9 Precision and Bias:
8.9.1 The precision of this test method is based on an interlaboratory study of C739, Standard Specification for Cellulosic Fiber
Loose-Fill Thermal Insulation, conducted in 2009. Six laboratories participated in this study, reporting the Design Density for a
single cellulose insulation. All six labs reported results in pounds per cubic foot. A total of 16 replicates were reported by the
participants for each of the unit measurements. Every “test result” reported represents an individual determination. Except for the
use of data from only a single type of cellulosic insulation, Practice E691 was followed for the design and analysis of the data;
the details are given in ASTM Research Report No. RR:C16-1037.
8.9.1.1 Repeatability limit (r)—Two test results obtained within one laboratory shall be judged not equivalent if they differ by more
than the “r” value for that material; “r” is the interval representing the critical difference between two test results for the same
material, obtained by the same operator using the same equipment on the same day in the same laboratory.
(1) Repeatability limits are listed in Table 1.
8.9.1.2 Reproducibility limit (R)—Two test results shall be judged not equivalent if they differ by more than the “R” value for that
material; “R” is the interval representing the critical difference between two test results for the same material, obtained by different
operators using different equipment in different laboratories.
(1) Reproducibility limits are listed in Table 1.
8.9.1.3 The above terms (repeatability limit and reproducibility limit) are used as specified in Practice E177.
8.9.1.4 Any judgment in accordance with statement 8.9.1.1 would normally have an approximate 95 % probability of being
Supporting data have been filed at ASTM International Headquarters and may be obtained by requesting Research Report RR:C16-1037.
C739 − 24
TABLE 1 Design Density (lb/ft )
Repeatability Reproducibility
Repeatability Reproducibility
A
Sample Average Standard Standard
Limit Limit
Deviation Deviation
x¯ s s r R
r R
Cellulose
Insulation 1.51 0.03 0.07 0.09 0.20
“A”
A
The average of the laboratories’ calculated averages.
correct, however the precision statistics for the analysis obtained in this ILS must not be treated as exact mathematical quantities
which are applicable to all circumstances and uses. The limited number of laboratories reporting results, and materials tested,
guarantees that there will be times when differences greater than predicted by the ILS results will arise, sometimes with
considerably greater or smaller frequency than the 95 % probability limit would imply. Consider the repeatability limit as a general
guide, and the associated probability of 95 % as only a rough indicator of what can be expected.
8.9.2 Bias—At the time of the study, there was no accepted reference material suitable for determining the bias for this test method,
therefore no statement on bias is being made.
8.9.3 This precision statement was determined through the statistical examination of 96 results from six laboratories, on a single
type of cellulose insulation, measured in inch-pound units. The insulation test was generally described as:
8.9.3.1 Cellulose insulation “A”—Cellulosic fiber made from selected recycled paper or paperboard stock. Suitable chemicals
were introduced to provide flame resistance properties. The material was processed through an attrition mill with the intended use
of pneumatic applications.
9. Corrosiveness
9.1 Scope—This test method covers the determination of the corrosiveness of cellulosic insulation. The cellulosic insulation shall
be tested for corrosiveness using the measured design density, as determined in Section 8. The pass/fail criteria is given in 5.2.
9.2 Significance and Use—This test method provides a basis for estimating the corrosiveness of cellulosic insulation in contact
with steel, copper, and aluminum test materials. The test method represents one set of exposure conditions designed to accelerate
possible corrosive effects, and may not simulate exposure conditions experienced in actual field applications.
9.3 Apparatus and Materials:
9.3.1 Humidity Chamber (Test Method A), air-circulating, capable of maintaining a temperature of 48.9 6 1.7°C and 97 6 1.5 %
relative humidity throughout the active portion of the chamber.
9.3.2 Oven (Test Method B), air circulating, capable of maintaining a temperature of 48.9 6 1.7°C throughout the active portion
of the chamber.
9.3.3 Crystallizing Dishes, six, glass, 90 mm in diameter by 50 mm in height.
9.3.4 Containers, six, glass, polyethylene or polypropylene, with screw cap or friction top lid capable of sealing, 127 mm in
nominal diameter and 76 mm in nominal height.
9.3.5 Gloves, clean and in good condition.
9.3.6 Chemicals—Reagent-grade chemicals shall be used in all tests. Unless otherwise indicated, it is intended that all reagents
shall conform to the specifications of the Committee on Analytical Reagents of the American Chemical Society, where such
specifications are available.
Reagent Chemicals, American Chemical Society Specifications, American Chemical Society, Washington, DC. For suggestions on the testing of reagents not listed by
the American Chemical Society, see Analar Standards for Laboratory Chemicals, BDH Ltd., Poole, Dorset, U.K., and the United States Pharmacopeia and National
Formulary, U.S. Pharmacopeial Convention, Inc. (USPC), Rockville, MD.
C739 − 24
9.3.7 Water, sterile and either distilled or deionized.
9.3.8 Forceps.
9.3.9 Test Coupons:
9.3.9.1 Two, 3003 Bare Aluminum alloy, zero temper.
9.3.9.2 Two, Specification B152/B152M, Type ETP, Cabra No. 110 soft copper.
9.3.9.3 Two, low-carbon, commercial quality, cold-rolled, less than 0.30 % carbon, shim steel.
9.3.9.4 Each coupon shall be 50.8 by 50.8 by 0.076-mm thick, free of tears, punctures, or crimps. Six coupons shall be used for
one test of the insulation.
9.4 Sampling—Samples of cellulose insulation used for testing shall be blown, combed, or otherwise mixed to reasonably ensure
homogeneity of the sample.
9.5 Procedure:
9.5.1 Precleaning Metal Coupons:
9.5.1.1 During fabrication, cleaning, or testing, never touch the metal coupons by ungloved hands.
9.5.1.2 Handle cleaned coupons with only clean forceps.
9.5.1.3 In order to avoid exposing laboratory personnel to toxic fumes, perform all cleaning in a fume hood.
9.5.1.4 Clean the coupons by vapor degreasing with 1-1-1 trichloroethane for 10 min. Following vapor degreasing, subject the
coupons to caustic or detergent washing, or both, as appropriate. Following caustic or detergent washing, rinse the coupons in
flowing water to remove residues. Inspect each coupon for a water-break free surface. (A water-break is a break, separation,
beading, or retraction of the water film as the coupon is held vertically after wetting.) As the coupons are cleaned, the water film
should become gradually thinner at the top and heavier at the bottom. Hot-air dry the coupons at 105°C.
9.5.2 Preparation of Test Samples:
9.5.2.1 Determine the design density of the sample in accordance with Section 8.
9.5.2.2 For each metal coupon, subdivide a 20-g sample of insulation into two 10-g portions. Determine the quantity of sterile and
either distilled or deionized water to be used for each 10-g portion in accordance with Eq 2:
2.9
×75 mL (2)
d
where:
d = design density, lb/ft .
9.5.2.3 Presaturate each 10-g portion with the determined amount of water. Place one presaturated 10-g portion into a crystallizing
dish, tamp level using the bottom of a clean suitably sized glass beaker. Place a metal coupon onto the presaturated insulation
portion and center it in a horizontal plane. Place the other presaturated 10-g portion into the crystallizing dish on the metal coupon
and tamp the composite specimen (metal coupon and saturated insulation in the crystallizing dish) to ensure an even distribution
of this material and to ensure good contact of the insulation with the metal. Exercise care in preparing the composite specimens
to eliminate air pockets from forming next to the metal coupons.
9.5.2.4 Do not cover the crystallizing dish. Care should be taken to avoid evaporation from the composite during preparation or
until it is placed on the testing chamber.
C739 − 24
9.5.3 Sample Test Cycle—Use either a humidity chamber (Method A) or an oven (Method B) to provide the required temperature
and relative humidity exposure.
9.5.3.1 Test Method A—Test Method A is given to be consistent with federal standards and Test Method B is given as an alternative
since the 97 6 1.5 % relative humidity is an alternative requirement.
(1) Precondition the humidity chamber to 48.9 6 1.7°C and 97 6 1.5 % relative humidity.
(2) Place all six composite samples in the humidity chamber. Keep the samples in the humidity chamber 336 6 4 h. During
the test
...








Questions, Comments and Discussion
Ask us and Technical Secretary will try to provide an answer. You can facilitate discussion about the standard in here.
Loading comments...