ASTM C1858-17a(2021)
(Practice)Standard Practice for Design, Construction, and Material Requirements for Direct Hung Suspended T-bar Type Ceiling Systems Intended to Receive Gypsum Panel Products in Areas Subject to Earthquake Ground Motions
Standard Practice for Design, Construction, and Material Requirements for Direct Hung Suspended T-bar Type Ceiling Systems Intended to Receive Gypsum Panel Products in Areas Subject to Earthquake Ground Motions
SIGNIFICANCE AND USE
5.1 This practice provides a standardized installation procedure for ceilings designed and installed as a diaphragm. When installed according to this practice, these ceilings have sufficient strength to resist seismic forces without lateral force bracing.
SCOPE
1.1 This practice covers the installation requirements of direct hung suspended t-bar type ceiling systems intended to receive gypsum panel products constructed as flat, single level, surrounded on all sides by a wall, bulk head, or soffit braced to the building structure to resist the effects of earthquake ground motions.
1.2 Ceiling assembly shall not be intended to support live loads.
1.3 This standard addresses ceiling systems with dead loads up to 10 lbs/ft2 (48.8 kg/m2).
1.4 The values stated in either SI units or inch-pound units are to be regarded separately as standard. The values stated in each system may not be exact equivalents; therefore, each system shall be used independently of the other. Combining values from the two systems may result in non-conformance with the standard.
1.5 The text of this standard references notes and footnotes which provide explanatory material. These notes and footnotes (excluding those in tables and figures) shall not be considered as requirements of the standard
1.6 This standard does not purport to address all of the safety concerns, if any, associated with its use. It is the responsibility of the user of this standard to establish appropriate safety, health, and environmental practices and determine the applicability of regulatory limitations prior to use.
1.7 This international standard was developed in accordance with internationally recognized principles on standardization established in the Decision on Principles for the Development of International Standards, Guides and Recommendations issued by the World Trade Organization Technical Barriers to Trade (TBT) Committee.
General Information
- Status
- Published
- Publication Date
- 30-Nov-2021
- Technical Committee
- C11 - Gypsum and Related Building Materials and Systems
Relations
- Refers
ASTM C1177/C1177M-24 - Standard Specification for Glass Mat Gypsum Substrate for Use as Sheathing - Effective Date
- 01-Apr-2024
- Effective Date
- 01-May-2020
- Effective Date
- 01-Oct-2019
- Effective Date
- 01-Sep-2019
- Effective Date
- 01-Sep-2019
- Effective Date
- 01-Nov-2018
- Refers
ASTM C11-18a - Standard Terminology Relating to Gypsum and Related Building Materials and Systems - Effective Date
- 01-Oct-2018
- Refers
ASTM C11-18 - Standard Terminology Relating to Gypsum and Related Building Materials and Systems - Effective Date
- 01-Jun-2018
- Effective Date
- 01-Jun-2018
- Effective Date
- 01-Jun-2018
- Effective Date
- 01-Apr-2018
- Refers
ASTM C1177/C1177M-17 - Standard Specification for Glass Mat Gypsum Substrate for Use as Sheathing - Effective Date
- 01-Dec-2017
- Refers
ASTM C11-17a - Standard Terminology Relating to Gypsum and Related Building Materials and Systems - Effective Date
- 01-Oct-2017
- Refers
ASTM C11-17 - Standard Terminology Relating to Gypsum and Related Building Materials and Systems - Effective Date
- 15-May-2017
- Effective Date
- 01-Apr-2017
Overview
ASTM C1858-17a(2021) is the Standard Practice for Design, Construction, and Material Requirements for Direct Hung Suspended T-bar Type Ceiling Systems Intended to Receive Gypsum Panel Products in Areas Subject to Earthquake Ground Motions. Developed by ASTM International, this standard provides essential criteria for the safe installation of suspended t-bar type ceiling systems with gypsum panels, particularly in seismic regions. The guideline aims to ensure ceilings act as a structural diaphragm, with sufficient strength to resist earthquake-induced forces, all without the necessity of additional lateral bracing.
This practice covers ceilings installed as flat, single-level assemblies, fully surrounded by supporting structural elements (walls, bulkheads, or soffits) that are properly braced. The standard ensures a harmonized approach to the design and construction of seismic-resistant suspended ceilings in accordance with internationally recognized standardization principles.
Key Topics
Scope and Applicability:
The standard defines installation requirements for direct hung suspended t-bar ceiling systems intended for areas exposed to seismic activity, supporting only dead loads up to 10 lbs/ft² (48.8 kg/m²). Ceilings designed to support live loads are not within this standard's scope.Material Requirements:
- Gypsum Panel Products: Must comply with ASTM C1177/C1177M, C1396, and C1658/C1658M.
- Hanger Wires: Must meet ASTM A641/A641M specifications for galvanized steel wire.
- Grid Members: Required to conform to ASTM C645 specifications for nonstructural steel framing.
Design and Construction Guidance:
- Suspended ceilings must be flat, single-level, and fully surrounded by braced structural elements.
- Hanger wires and grid configuration must maintain the structural integrity under seismic loads.
- Spacing, attachment, and alignment of main runners, cross runners, and perimeter elements are specified to ensure resilience and performance.
Safety and Regulatory Compliance:
- Users must consider site-specific safety, health, and environmental requirements not addressed in the standard.
- The use of either SI or inch-pound measurement units is permitted, but systems should not be mixed to ensure compliance.
Applications
ASTM C1858-17a(2021) is integral for the following practical applications:
- Earthquake-Prone Regions: Provides a tested method to install suspended t-bar gypsum ceilings to withstand seismic ground motion, minimizing risk of collapse or failure.
- Commercial and Institutional Buildings: Ensures uniform guidelines for ceiling installations in offices, schools, hospitals, and other facilities where safety and code compliance are critical.
- Construction and Renovation Projects: Assists architects, engineers, and contractors in specifying, designing, and verifying earthquake-resistant ceiling systems.
- Building Code Compliance: Supports adherence to seismic requirements within international or regional construction codes, reducing liability and enhancing occupant safety.
Related Standards
For comprehensive compliance and design integration, reference the following associated ASTM standards:
- ASTM C11: Terminology Relating to Gypsum and Related Building Materials and Systems
- ASTM A641/A641M: Specification for Zinc–Coated (Galvanized) Carbon Steel Wire
- ASTM C645: Specification for Nonstructural Steel Framing Members
- ASTM C754: Specification for Installation of Steel Framing Members to Receive Screw-Attached Gypsum Panel Products
- ASTM C1177/C1177M: Specification for Glass Mat Gypsum Substrate for Use as Sheathing
- ASTM C1396: Specification for Gypsum Board
- ASTM C1658/C1658M: Specification for Glass Mat Gypsum Panels
- ASTM E3090/E3090M: Test Methods for Strength Properties of Metal Ceiling Suspension Systems
Keywords: seismic ceiling installation, suspended t-bar ceiling, gypsum panel products, earthquake-resistant ceiling, ASTM C1858, grid ceiling systems, seismic restraint, suspended gypsum board ceiling.
Buy Documents
ASTM C1858-17a(2021) - Standard Practice for Design, Construction, and Material Requirements for Direct Hung Suspended T-bar Type Ceiling Systems Intended to Receive Gypsum Panel Products in Areas Subject to Earthquake Ground Motions
Get Certified
Connect with accredited certification bodies for this standard
DIBt (Deutsches Institut für Bautechnik)
German Institute for Building Technology.
DIN CERTCO
DIN Group product certification.

Aboma Certification B.V.
Specialized in construction, metal, and transport sectors.
Sponsored listings
Frequently Asked Questions
ASTM C1858-17a(2021) is a standard published by ASTM International. Its full title is "Standard Practice for Design, Construction, and Material Requirements for Direct Hung Suspended T-bar Type Ceiling Systems Intended to Receive Gypsum Panel Products in Areas Subject to Earthquake Ground Motions". This standard covers: SIGNIFICANCE AND USE 5.1 This practice provides a standardized installation procedure for ceilings designed and installed as a diaphragm. When installed according to this practice, these ceilings have sufficient strength to resist seismic forces without lateral force bracing. SCOPE 1.1 This practice covers the installation requirements of direct hung suspended t-bar type ceiling systems intended to receive gypsum panel products constructed as flat, single level, surrounded on all sides by a wall, bulk head, or soffit braced to the building structure to resist the effects of earthquake ground motions. 1.2 Ceiling assembly shall not be intended to support live loads. 1.3 This standard addresses ceiling systems with dead loads up to 10 lbs/ft2 (48.8 kg/m2). 1.4 The values stated in either SI units or inch-pound units are to be regarded separately as standard. The values stated in each system may not be exact equivalents; therefore, each system shall be used independently of the other. Combining values from the two systems may result in non-conformance with the standard. 1.5 The text of this standard references notes and footnotes which provide explanatory material. These notes and footnotes (excluding those in tables and figures) shall not be considered as requirements of the standard 1.6 This standard does not purport to address all of the safety concerns, if any, associated with its use. It is the responsibility of the user of this standard to establish appropriate safety, health, and environmental practices and determine the applicability of regulatory limitations prior to use. 1.7 This international standard was developed in accordance with internationally recognized principles on standardization established in the Decision on Principles for the Development of International Standards, Guides and Recommendations issued by the World Trade Organization Technical Barriers to Trade (TBT) Committee.
SIGNIFICANCE AND USE 5.1 This practice provides a standardized installation procedure for ceilings designed and installed as a diaphragm. When installed according to this practice, these ceilings have sufficient strength to resist seismic forces without lateral force bracing. SCOPE 1.1 This practice covers the installation requirements of direct hung suspended t-bar type ceiling systems intended to receive gypsum panel products constructed as flat, single level, surrounded on all sides by a wall, bulk head, or soffit braced to the building structure to resist the effects of earthquake ground motions. 1.2 Ceiling assembly shall not be intended to support live loads. 1.3 This standard addresses ceiling systems with dead loads up to 10 lbs/ft2 (48.8 kg/m2). 1.4 The values stated in either SI units or inch-pound units are to be regarded separately as standard. The values stated in each system may not be exact equivalents; therefore, each system shall be used independently of the other. Combining values from the two systems may result in non-conformance with the standard. 1.5 The text of this standard references notes and footnotes which provide explanatory material. These notes and footnotes (excluding those in tables and figures) shall not be considered as requirements of the standard 1.6 This standard does not purport to address all of the safety concerns, if any, associated with its use. It is the responsibility of the user of this standard to establish appropriate safety, health, and environmental practices and determine the applicability of regulatory limitations prior to use. 1.7 This international standard was developed in accordance with internationally recognized principles on standardization established in the Decision on Principles for the Development of International Standards, Guides and Recommendations issued by the World Trade Organization Technical Barriers to Trade (TBT) Committee.
ASTM C1858-17a(2021) is classified under the following ICS (International Classification for Standards) categories: 91.060.30 - Ceilings. Floors. Stairs. The ICS classification helps identify the subject area and facilitates finding related standards.
ASTM C1858-17a(2021) has the following relationships with other standards: It is inter standard links to ASTM C1177/C1177M-24, ASTM C754-20, ASTM E3090/E3090M-19, ASTM C1658/C1658M-19e1, ASTM C1658/C1658M-19, ASTM E3090/E3090M-18, ASTM C11-18a, ASTM C11-18, ASTM C1658/C1658M-18, ASTM C645-18, ASTM C754-18, ASTM C1177/C1177M-17, ASTM C11-17a, ASTM C11-17, ASTM E3090/E3090M-17. Understanding these relationships helps ensure you are using the most current and applicable version of the standard.
ASTM C1858-17a(2021) is available in PDF format for immediate download after purchase. The document can be added to your cart and obtained through the secure checkout process. Digital delivery ensures instant access to the complete standard document.
Standards Content (Sample)
This international standard was developed in accordance with internationally recognized principles on standardization established in the Decision on Principles for the
Development of International Standards, Guides and Recommendations issued by the World Trade Organization Technical Barriers to Trade (TBT) Committee.
Designation: C1858 − 17a (Reapproved 2021)
Standard Practice for
Design, Construction, and Material Requirements for Direct
Hung Suspended T-bar Type Ceiling Systems Intended to
Receive Gypsum Panel Products in Areas Subject to
Earthquake Ground Motions
This standard is issued under the fixed designation C1858; the number immediately following the designation indicates the year of
original adoption or, in the case of revision, the year of last revision. A number in parentheses indicates the year of last reapproval. A
superscript epsilon (´) indicates an editorial change since the last revision or reapproval.
1. Scope mendations issued by the World Trade Organization Technical
Barriers to Trade (TBT) Committee.
1.1 This practice covers the installation requirements of
direct hung suspended t-bar type ceiling systems intended to
2. Referenced Documents
receive gypsum panel products constructed as flat, single level,
2.1 ASTM Standards:
surrounded on all sides by a wall, bulk head, or soffit braced to
A641/A641M Specification for Zinc–Coated (Galvanized)
the building structure to resist the effects of earthquake ground
Carbon Steel Wire
motions.
C11 Terminology Relating to Gypsum and Related Building
1.2 Ceiling assembly shall not be intended to support live 4
Materials and Systems
loads.
C645 Specification for Nonstructural Steel Framing Mem-
1.3 This standard addresses ceiling systems with dead loads bers
2 2
up to 10 lbs/ft (48.8 kg/m ). C754 Specification for Installation of Steel Framing Mem-
bers to Receive Screw-Attached Gypsum Panel Products
1.4 The values stated in either SI units or inch-pound units
C1177/C1177M Specification for Glass Mat Gypsum Sub-
are to be regarded separately as standard. The values stated in
strate for Use as Sheathing
each system may not be exact equivalents; therefore, each
C1396 Specification for Gypsum Board
system shall be used independently of the other. Combining
C1658/C1658M Specification for Glass Mat Gypsum Pan-
values from the two systems may result in non-conformance
els
with the standard.
E3090/E3090M Test Methods for Strength Properties of
1.5 The text of this standard references notes and footnotes
Metal Ceiling Suspension Systems
which provide explanatory material. These notes and footnotes
(excluding those in tables and figures) shall not be considered 3. Terminology
as requirements of the standard
3.1 Definitions—Terms shall be as defined in Terminology
1.6 This standard does not purport to address all of the
C11.
safety concerns, if any, associated with its use. It is the
3.2 Definitions of Terms Specific to This Standard:
responsibility of the user of this standard to establish appro-
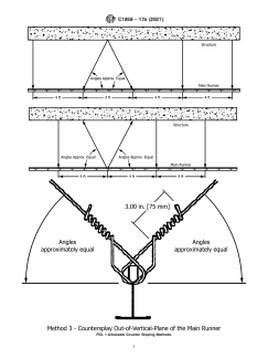
3.2.1 counter sloping wire, n—opposing suspension wire
priate safety, health, and environmental practices and deter-
intended to counteract the force of an out of plumb suspension
mine the applicability of regulatory limitations prior to use.
wire and maintain alignment of the system.
1.7 This international standard was developed in accor-
3.2.2 cross runner, n—the secondary support members or
dance with internationally recognized principles on standard-
cross beams of a mechanical ceiling suspension system trans-
ization established in the Decision on Principles for the
ferring ceiling load to the main runner.
Development of International Standards, Guides and Recom-
3.2.3 diaphragm, n—horizontal system acting to transmit
lateral forces to the vertical resisting elements.
1 3.2.4 direct hung ceiling, n—load carrying ceiling compo-
This practice is under the jurisdiction of ASTM Committee C11 on Gypsum
and Related Building Materials and Systems and is the direct responsibility of nents that are fastened directly to structure.
Subcommittee C11.03 on Specifications for the Application of Gypsum and Other
Products in Assemblies.
Current edition approved Dec. 1, 2021. Published December 2021. Originally Annual ASTM Book of Standards, Vol.01.06.
approved in 1991. Last previous edition approved in 2017 as C1858 – 17a. DOI: Annual ASTM Book of Standards, Vol.04.01.
10.1520/C1858-17AR21. Annual ASTM Book of Standards, Vol.04.06.
Copyright © ASTM International, 100 Barr Harbor Drive, PO Box C700, West Conshohocken, PA 19428-2959. United States
C1858 − 17a (2021)
3.2.5 main runner, n—the primary or main beams (supports) and sharply bent to prevent any vertical movement or rotation
of the ceiling suspension system. of the member within the loops. The wire shall be wrapped
around itself a minimum of three full turns (360° each) within
3.2.6 t-bar ceiling, n—modular interlocking suspended ceil-
a 3-in [75 mm] length. For safety purposes, the bottom of the
ing system containing framing members with inverted
hanger wires shall either be cut close to the vertical portion of
T-shaped profiles.
the wire or shall be bent upward parallel to the vertical portion
4. Summary of Practice
of the hanger wire.
7.2.6 Hangers formed from galvanized sheet metal stock
4.1 This practice outlines the design and installation re-
shall be suitable for suspending main runners from an existing
quirements of direct hung gypsum t-bar ceilings exempt from
structure provided
...




Questions, Comments and Discussion
Ask us and Technical Secretary will try to provide an answer. You can facilitate discussion about the standard in here.
Loading comments...