ASTM C1460-21
(Specification)Standard Specification for Shielded Transition Couplings for Use with Dissimilar DWV Pipe and Fittings Above Ground
Standard Specification for Shielded Transition Couplings for Use with Dissimilar DWV Pipe and Fittings Above Ground
ABSTRACT
This specification deals with the performance of shielded transition couplings to join dissimilar DWV pipe and fittings above ground. All steel parts made from round stock shall be 300 series stainless steel. The elastomeric gasket shall consist of one piece and shall have an inside center stop-ring spaced equal distance from the ends. The clamp assembly shall be tested to withstand the stated installation torque. The following shall also be done: deflection test, shear test, and unrestrained hydrostatic joint test.
SCOPE
1.1 This specification covers the performance of shielded transition couplings to join dissimilar DWV pipe and fittings above ground up to and including 15-in. pipe and fittings. This standard is intended to cover reducing couplings used to join pipes and fittings of different sizes, materials, and different outside diameters.
1.2 The values stated in inch-pound units are to be regarded as standard. The values given in parentheses are mathematical conversions to SI units that are provided for information only and are not considered standard.
1.3 The committee with jurisdiction over this standard is not aware of any comparable standards published by other organizations.
1.4 The following precaution comment pertains only to the test method portion, Section 7, of this specification. This standard does not purport to address all of the safety concerns, if any, associated with its use. It is the responsibility of the user of this standard to establish appropriate safety, health, and environmental practices and determine the applicability of regulatory limitations prior to use.
1.5 This international standard was developed in accordance with internationally recognized principles on standardization established in the Decision on Principles for the Development of International Standards, Guides and Recommendations issued by the World Trade Organization Technical Barriers to Trade (TBT) Committee.
General Information
- Status
- Published
- Publication Date
- 28-Feb-2021
- Technical Committee
- A04 - Iron Castings
- Drafting Committee
- A04.75 - Gaskets and Coupling for Plumbing and Sewer Piping
Relations
- Effective Date
- 01-Nov-2023
- Refers
ASTM C564-20a - Standard Specification for Rubber Gaskets for Cast Iron Soil Pipe and Fittings - Effective Date
- 01-May-2020
- Effective Date
- 15-Mar-2020
- Effective Date
- 01-Nov-2017
- Effective Date
- 01-Mar-2016
- Effective Date
- 01-Oct-2014
- Effective Date
- 01-May-2014
- Effective Date
- 01-Oct-2013
- Effective Date
- 01-May-2013
- Effective Date
- 01-Oct-2012
- Effective Date
- 01-Jun-2011
- Refers
ASTM C564-09a - Standard Specification for Rubber Gaskets for Cast Iron Soil Pipe and Fittings - Effective Date
- 01-Dec-2009
- Effective Date
- 01-Sep-2009
- Effective Date
- 01-Jul-2009
- Effective Date
- 01-Jun-2009
Overview
ASTM C1460-21: Standard Specification for Shielded Transition Couplings for Use with Dissimilar DWV Pipe and Fittings Above Ground establishes requirements for shielded couplings designed to connect dissimilar drain, waste, and vent (DWV) pipes and fittings up to 15 inches in diameter. This standard focuses on connecting pipes and fittings of differing materials, sizes, and outside diameters, specifically for above-ground applications. ASTM C1460-21 ensures the performance, identification, and testing of these transition couplings, helping plumbing professionals, engineers, and manufacturers maintain durable and leak-resistant piping systems in commercial and residential buildings.
Key Topics
- Material Requirements: All steel components manufactured from round stock must be 300 series stainless steel, ensuring corrosion resistance and long-term durability. Elastomeric gaskets must meet requirements for one-piece construction, effective sealing, and presence of an integral center stop ring.
- Performance Testing: Couplings are subject to a series of tests:
- Deflection Test: Assesses leak resistance with pipes under angular misalignment.
- Shear Test: Evaluates joint integrity under applied mechanical stress.
- Unrestrained Hydrostatic Joint Test: Verifies sealing under hydraulic pressure without external restraint.
- Markings and Identification: All couplings and gaskets must be clearly marked with manufacturer’s identification, country of origin, pipe size/class, and relevant ASTM specifications. This supports product traceability and compliance verification in the field.
- Test Methods: Testing procedures are specified to validate mechanical integrity and leak-free performance after installation and under operational loads.
- Dimensional Compatibility: Designed for use with reducing couplings, the standard accommodates pipes and fittings with various outside diameters and made from different materials.
Applications
ASTM C1460-21 is vital in plumbing and construction industries for joining dissimilar DWV pipes and fittings above ground. Key applications include:
- Renovation and Retrofit Projects: Frequently used to adapt or extend existing DWV systems when original and new piping differ in size, material, or manufacturer.
- Commercial and Institutional Buildings: Provides a reliable solution for large-scale facilities requiring robust, above-ground drainage and venting systems with mixed components.
- Residential Plumbing: Used in new construction or repairs where local code permits joining different types of pipes, such as transitioning from cast iron to PVC or ABS.
- Maintenance and Repairs: Enables efficient, code-compliant repairs of damaged DWV lines where replacing with identical materials is impractical.
By following ASTM C1460-21, professionals can ensure that transition couplings will perform safely and reliably, reducing the risk of leaks, joint failure, and subsequent property damage.
Related Standards
When specifying or working with shielded transition couplings for DWV systems, the following ASTM standards are commonly referenced alongside ASTM C1460-21:
- ASTM A493 - Specification for Stainless Steel Wire and Wire Rods for Cold Heading and Cold Forging.
- ASTM C564 - Specification for Rubber Gaskets for Cast Iron Soil Pipe and Fittings.
- ASTM A644 - Terminology Relating to Iron Castings.
Compliance with these related standards ensures that all materials and components used in DWV transition couplings meet recognized quality and performance benchmarks, supporting overall system reliability and safety.
Keywords: ASTM C1460-21, shielded transition couplings, DWV pipe fittings, dissimilar pipe connections, above ground plumbing, DWV systems, plumbing standards, gasket requirements, mechanical testing, stainless steel couplings, plumbing code compliance.
Buy Documents
ASTM C1460-21 - Standard Specification for Shielded Transition Couplings for Use with Dissimilar DWV Pipe and Fittings Above Ground
REDLINE ASTM C1460-21 - Standard Specification for Shielded Transition Couplings for Use with Dissimilar DWV Pipe and Fittings Above Ground
Get Certified
Connect with accredited certification bodies for this standard
Institut za varilstvo d.o.o. (Welding Institute)
Slovenia's leading welding institute since 1952. ISO 3834, EN 1090, pressure equipment certification, NDT personnel, welder qualification. Only IIW Au
Sponsored listings
Frequently Asked Questions
ASTM C1460-21 is a technical specification published by ASTM International. Its full title is "Standard Specification for Shielded Transition Couplings for Use with Dissimilar DWV Pipe and Fittings Above Ground". This standard covers: ABSTRACT This specification deals with the performance of shielded transition couplings to join dissimilar DWV pipe and fittings above ground. All steel parts made from round stock shall be 300 series stainless steel. The elastomeric gasket shall consist of one piece and shall have an inside center stop-ring spaced equal distance from the ends. The clamp assembly shall be tested to withstand the stated installation torque. The following shall also be done: deflection test, shear test, and unrestrained hydrostatic joint test. SCOPE 1.1 This specification covers the performance of shielded transition couplings to join dissimilar DWV pipe and fittings above ground up to and including 15-in. pipe and fittings. This standard is intended to cover reducing couplings used to join pipes and fittings of different sizes, materials, and different outside diameters. 1.2 The values stated in inch-pound units are to be regarded as standard. The values given in parentheses are mathematical conversions to SI units that are provided for information only and are not considered standard. 1.3 The committee with jurisdiction over this standard is not aware of any comparable standards published by other organizations. 1.4 The following precaution comment pertains only to the test method portion, Section 7, of this specification. This standard does not purport to address all of the safety concerns, if any, associated with its use. It is the responsibility of the user of this standard to establish appropriate safety, health, and environmental practices and determine the applicability of regulatory limitations prior to use. 1.5 This international standard was developed in accordance with internationally recognized principles on standardization established in the Decision on Principles for the Development of International Standards, Guides and Recommendations issued by the World Trade Organization Technical Barriers to Trade (TBT) Committee.
ABSTRACT This specification deals with the performance of shielded transition couplings to join dissimilar DWV pipe and fittings above ground. All steel parts made from round stock shall be 300 series stainless steel. The elastomeric gasket shall consist of one piece and shall have an inside center stop-ring spaced equal distance from the ends. The clamp assembly shall be tested to withstand the stated installation torque. The following shall also be done: deflection test, shear test, and unrestrained hydrostatic joint test. SCOPE 1.1 This specification covers the performance of shielded transition couplings to join dissimilar DWV pipe and fittings above ground up to and including 15-in. pipe and fittings. This standard is intended to cover reducing couplings used to join pipes and fittings of different sizes, materials, and different outside diameters. 1.2 The values stated in inch-pound units are to be regarded as standard. The values given in parentheses are mathematical conversions to SI units that are provided for information only and are not considered standard. 1.3 The committee with jurisdiction over this standard is not aware of any comparable standards published by other organizations. 1.4 The following precaution comment pertains only to the test method portion, Section 7, of this specification. This standard does not purport to address all of the safety concerns, if any, associated with its use. It is the responsibility of the user of this standard to establish appropriate safety, health, and environmental practices and determine the applicability of regulatory limitations prior to use. 1.5 This international standard was developed in accordance with internationally recognized principles on standardization established in the Decision on Principles for the Development of International Standards, Guides and Recommendations issued by the World Trade Organization Technical Barriers to Trade (TBT) Committee.
ASTM C1460-21 is classified under the following ICS (International Classification for Standards) categories: 23.040.60 - Flanges, couplings and joints. The ICS classification helps identify the subject area and facilitates finding related standards.
ASTM C1460-21 has the following relationships with other standards: It is inter standard links to ASTM A493-23, ASTM C564-20a, ASTM C564-20, ASTM A644-17, ASTM A493-16, ASTM A644-14, ASTM C564-14, ASTM A493-09(2013), ASTM A644-13, ASTM C564-12, ASTM C564-11, ASTM C564-09a, ASTM C564-09, ASTM A644-09a, ASTM A644-09. Understanding these relationships helps ensure you are using the most current and applicable version of the standard.
ASTM C1460-21 is available in PDF format for immediate download after purchase. The document can be added to your cart and obtained through the secure checkout process. Digital delivery ensures instant access to the complete standard document.
Standards Content (Sample)
This international standard was developed in accordance with internationally recognized principles on standardization established in the Decision on Principles for the
Development of International Standards, Guides and Recommendations issued by the World Trade Organization Technical Barriers to Trade (TBT) Committee.
Designation:C1460 −21
Standard Specification for
Shielded Transition Couplings for Use with Dissimilar DWV
Pipe and Fittings Above Ground
This standard is issued under the fixed designation C1460; the number immediately following the designation indicates the year of
original adoption or, in the case of revision, the year of last revision. A number in parentheses indicates the year of last reapproval. A
superscript epsilon (´) indicates an editorial change since the last revision or reapproval.
1. Scope A644 Terminology Relating to Iron Castings
C564 Specification for Rubber Gaskets for Cast Iron Soil
1.1 This specification covers the performance of shielded
Pipe and Fittings
transition couplings to join dissimilar DWV pipe and fittings
above ground up to and including 15-in. pipe and fittings. This
3. Terminology
standard is intended to cover reducing couplings used to join
3.1 Definitions—The following definitions used in this
pipes and fittings of different sizes, materials, and different
specification are found in Terminology A644: elastomeric,
outside diameters.
thermoset, and thermoplastic.
1.2 The values stated in inch-pound units are to be regarded
3.2 Definitions of Terms Specific to This Standard:
as standard. The values given in parentheses are mathematical
3.2.1 center stop, n—an integral part of the gasket centered
conversions to SI units that are provided for information only
on the axial length of the gasket intended to limit the insertion
and are not considered standard.
depth of the pipe to be coupled.
1.3 Thecommitteewithjurisdictionoverthisstandardisnot
3.2.2 clamp assembly, n—that portion of the coupling ex-
aware of any comparable standards published by other orga-
cluding the gasket.
nizations.
3.2.3 coupling, n—the complete assembly.
1.4 The following precaution comment pertains only to the
test method portion, Section 7, of this specification. This 3.2.4 dissimilar DWV pipe and fittings, n—pipe and fittings
made of different materials or different outside diameters, or
standard does not purport to address all of the safety concerns,
if any, associated with its use. It is the responsibility of the user both.
of this standard to establish appropriate safety, health, and
3.2.5 fitting, n—parts of a pipeline other than straight pipes,
environmental practices and determine the applicability of
valves, or couplings.
regulatory limitations prior to use.
3.2.6 gasket, n—the elastomeric portion of the coupling.
1.5 This international standard was developed in accor-
3.2.7 joint, n—the point of assembly consisting of the
dance with internationally recognized principles on standard-
coupling and the joined pipes or fittings, or both.
ization established in the Decision on Principles for the
Development of International Standards, Guides and Recom- 3.2.8 shield, n—an external metallic protective device de-
mendations issued by the World Trade Organization Technical signed to protect the sealing gasket from external elements that
Barriers to Trade (TBT) Committee. could cause failure of the sealing assembly.
2. Referenced Documents
4. Materials and Manufacture
2.1 ASTM Standards: 4.1 Physical properties of gaskets shall be in accordance
A493 Specification for Stainless Steel Wire and Wire Rods
with Table 1 of Specification C564, using the durometer
for Cold Heading and Cold Forging hardness column as specified by the manufacturer.
4.2 Allsteelpartsmadefromroundstockshallbe300series
stainless steel and shall conform to the requirements of
This specification is under the jurisdiction of ASTM Committee A04 on Iron
Castings and is the direct responsibility of Subcommittee A04.75 on Gaskets and
Specification A493 (excluding copper-bearing alloys).
Coupling for Plumbing and Sewer Piping.
Current edition approved March 1, 2021. Published March 2021. Originally
5. Elastomeric Gasket Requirements
approved in 2000. Last previous edition approved in 2020 as C1460 – 20. DOI:
10.1520/C1460-21.
5.1 The elastomeric gasket shall consist of one piece in
For referenced ASTM standards, visit the ASTM website, www.astm.org, or
accordance with the physical requirements of 4.1.
contact ASTM Customer Service at service@astm.org. For Annual Book of ASTM
5.1.1 The elastomeric gasket shall have an inside center
Standards volume information, refer to the standard’s Document Summary page on
the ASTM website. stop-ring spaced equal distance from the ends to serve as a stop
Copyright © ASTM International, 100 Barr Harbor Drive, PO Box C700, West Conshohocken, PA 19428-2959. United States
C1460−21
between the pipe/fitting ends that does not create an enlarge- adjacent to the coupling of the pipe having one support only.
ment chamber or recess with a ledge, shoulder, or reduction of When testing reducing couplings, apply the load to the reduced
pipe area or offer an obstruction to flow. A gasket without an size. Under this loading there shall be no visible leakage
inside center stop shall be permitted where telescoping of the displacement of more than ⁄8 in. from true alignment when an
piping is necessary. internal pressure equivalent to a 10-ft head of water (4.3 psi) is
5.1.2 The elastomeric gasket shall be free of defects that applied. Maintain the load and internal pressure 15 min and do
affect the use and performance. not permit leakage.
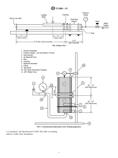
7.2 Unrestrained Hydrostatic Joint Test:
6. Clamp Assembly Requirements
7.2.1 Each coupling tested shall be assembled in
...
This document is not an ASTM standard and is intended only to provide the user of an ASTM standard an indication of what changes have been made to the previous version. Because
it may not be technically possible to adequately depict all changes accurately, ASTM recommends that users consult prior editions as appropriate. In all cases only the current version
of the standard as published by ASTM is to be considered the official document.
Designation: C1460 − 20 C1460 − 21
Standard Specification for
Shielded Transition Couplings for Use with Dissimilar DWV
Pipe and Fittings Above Ground
This standard is issued under the fixed designation C1460; the number immediately following the designation indicates the year of
original adoption or, in the case of revision, the year of last revision. A number in parentheses indicates the year of last reapproval. A
superscript epsilon (´) indicates an editorial change since the last revision or reapproval.
1. Scope
1.1 This specification covers the performance of shielded transition couplings to join dissimilar DWV pipe and fittings above
ground up to and including 15-in. pipe and fittings. This standard is intended to cover reducing couplings used to join pipes and
fittings of different sizes, materials, and different outside diameters.
1.2 The values stated in inch-pound units are to be regarded as standard. The values given in parentheses are mathematical
conversions to SI units that are provided for information only and are not considered standard.
1.3 The committee with jurisdiction over this standard is not aware of any comparable standards published by other organizations.
1.4 The following precaution comment pertains only to the test method portion, Section 7, of this specification. This standard
does not purport to address all of the safety concerns, if any, associated with its use. It is the responsibility of the user of this
standard to establish appropriate safety, health, and environmental practices and determine the applicability of regulatory
limitations prior to use.
1.5 This international standard was developed in accordance with internationally recognized principles on standardization
established in the Decision on Principles for the Development of International Standards, Guides and Recommendations issued
by the World Trade Organization Technical Barriers to Trade (TBT) Committee.
2. Referenced Documents
2.1 ASTM Standards:
A493 Specification for Stainless Steel Wire and Wire Rods for Cold Heading and Cold Forging
A644 Terminology Relating to Iron Castings
C564 Specification for Rubber Gaskets for Cast Iron Soil Pipe and Fittings
3. Terminology
3.1 Definitions—The following definitions used in this specification are found in Terminology A644: elastomeric,thermoset, and
thermoplastic.
3.2 Definitions of Terms Specific to This Standard:
This specification is under the jurisdiction of ASTM Committee A04 on Iron Castings and is the direct responsibility of Subcommittee A04.75 on Gaskets and Coupling
for Plumbing and Sewer Piping.
Current edition approved Nov. 1, 2020March 1, 2021. Published December 2020March 2021. Originally approved in 2000. Last previous edition approved in 20172020
as C1460 – 17.C1460 – 20. DOI: 10.1520/C1460-20.10.1520/C1460-21.
For referenced ASTM standards, visit the ASTM website, www.astm.org, or contact ASTM Customer Service at service@astm.org. For Annual Book of ASTM Standards
volume information, refer to the standard’s Document Summary page on the ASTM website.
Copyright © ASTM International, 100 Barr Harbor Drive, PO Box C700, West Conshohocken, PA 19428-2959. United States
C1460 − 21
3.2.1 center stop, n—an integral part of the gasket centered on the axial length of the gasket intended to limit the insertion depth
of the pipe to be coupled.
3.2.2 clamp assembly, n—that portion of the coupling excluding the gasket.
3.2.3 coupling, n—the complete assembly.
3.2.4 dissimilar DWV pipe and fittings, n—pipe and fittings made of different materials or different outside diameters, or both.
3.2.5 fitting, n—parts of a pipeline other than straight pipes, valves, or couplings.
3.2.6 gasket, n—the elastomeric portion of the coupling.
3.2.7 joint, n—the point of assembly consisting of the coupling and the joined pipes or fittings, or both.
3.2.8 shield, n—an external metallic protective device designed to protect the sealing gasket from external elements that could
cause failure of the sealing assembly.
4. Materials and Manufacture
4.1 Physical properties of gaskets shall be in accordance with Table 1 of Specification C564, using the durometer hardness column
as specified by the manufacturer.
4.2 All steel parts made from round stock shall be 300 series stainless steel and shall conform to the requirements of Specification
A493 (excluding copper-bearing alloys).
5. Elastomeric Gasket Requirements
5.1 The elastomeric gasket shall consist of one piece in accordance with the physical requirements of 4.1.
5.1.1 The elastomeric gasket shall have an inside center stop-ring spaced equal distance from the ends to serve as a stop between
the pipe/fitting ends that does not create an enlargement chamber or recess with a ledge, shoulder, or reduction of pipe area or offer
an obstruction to flow. A gasket without an inside center stop shall be permitted where telescoping of the piping is necessary.
5.1.2 The elastomeric gasket shall be free of defects that affect the use and performance.
6. Clamp Assembly Requirements
6.1 Clamp assemblies shall be tested to withstand no less than 125 % of the manufacturer-stated installation torque, 60 lb ⁄in.
minimum (6.78 N-m) of applied torque, whichever is greater, without visible signs of failure. The clamp assembly shall be tested
over a steel mandrel sized within the range of the clamp and torqued as required.
6.2 Clamp assembly screws or bolts shall not have screwdriver slots.
7. Coupling Requi
...








Questions, Comments and Discussion
Ask us and Technical Secretary will try to provide an answer. You can facilitate discussion about the standard in here.
Loading comments...