ASTM A532/A532M-10(2023)
(Specification)Standard Specification for Abrasion-Resistant Cast Irons
Standard Specification for Abrasion-Resistant Cast Irons
ABSTRACT
This specification deals with abrasion-resistant cast irons used for mining, milling, earth-handling, and manufacturing industries. These alloys may be made by melting process and shall have microstructures that consist of carbides, martensite, bainite, austenite, and in exceptional cases, minor amounts of graphite or pearlite. The following conditions for casting will be supplied: as-cast, as-cast and stress relieved, hardened, hardened and stress relieved, or softened for machining. Heat treatment shall be done. The chemical composition of a class and type (that is, Class I, Type A) shall conform to the range of values specified for carbon, manganese, silicon, nickel, chromium, molybdenum, copper, phosphorus, and sulfur. Hardness test shall also be made.
SCOPE
1.1 This specification covers a group of white cast irons that have been alloyed to secure high resistance to abrasive wear in the applications of the mining, milling, earth-handling, and manufacturing industries.
1.2 Simple and low-alloy white cast irons that consist essentially of iron carbides and pearlite are specifically excluded from this specification.
1.3 The values stated in either SI units or inch-pound units are to be regarded separately as standard. The values stated in each system may not be exact equivalents; therefore, each system shall be used independently of the other. Combining values from the two systems may result in nonconformance with the standard.
1.4 This international standard was developed in accordance with internationally recognized principles on standardization established in the Decision on Principles for the Development of International Standards, Guides and Recommendations issued by the World Trade Organization Technical Barriers to Trade (TBT) Committee.
General Information
- Status
- Published
- Publication Date
- 31-Oct-2023
- Technical Committee
- A04 - Iron Castings
- Drafting Committee
- A04.01 - Grey and White Iron Castings
Relations
- Effective Date
- 01-Nov-2023
- Effective Date
- 15-Nov-2023
- Effective Date
- 15-Mar-2018
- Effective Date
- 01-Nov-2023
- Referred By
ASTM F1899-14a(2019) - Standard Specification for Food Waste Pulper Without Waterpress Assembly - Effective Date
- 01-Nov-2023
- Effective Date
- 01-Nov-2023
- Referred By
ASTM F1150-22 - Standard Specification for Commercial Food Waste Pulper and Waterpress Assembly - Effective Date
- 01-Nov-2023
- Effective Date
- 01-Nov-2023
Overview
ASTM A532/A532M-10(2023) is the globally recognized standard specification for abrasion-resistant cast irons, developed by ASTM International. This standard outlines requirements for a family of white cast irons specially alloyed to provide high resistance to abrasive wear. These materials are widely used in industries such as mining, milling, earth handling, and manufacturing, where durability under severe wear conditions is essential.
ASTM A532/A532M-10(2023) encompasses various alloy classes and types, covering melting, chemical composition, heat treatment, microstructure, hardness, and quality requirements. The specification ensures that castings produced for heavy-duty applications maintain consistent performance and longevity.
Key Topics
- Scope and Coverage
- Focuses on a group of white cast irons engineered for high abrasion resistance.
- Excludes low-alloy white cast irons mainly consisting of iron carbides and pearlite.
- Material Conditions
- Castings can be supplied as-cast, as-cast and stress relieved, hardened, hardened and stress relieved, or softened for machining.
- Heat Treatment
- Defines proper heat-treatment procedures to achieve required mechanical properties and performance for each class and type.
- Allows post-machining hardening when necessary.
- Chemical Composition
- Specifies precise allowable ranges for elements such as carbon, manganese, silicon, nickel, chromium, molybdenum, copper, phosphorus, and sulfur.
- Detailed chemical analysis methods are referenced to ensure compositional accuracy.
- Microstructure
- Cast iron microstructures typically consist of carbides, martensite, bainite, and austenite, with minor amounts of graphite or pearlite permitted only in exceptional cases.
- Hardness and Testing
- Requires minimum hardness levels, with testing to be performed using Brinell, Rockwell, or Vickers methods as specified in the order.
- Details specific surface and section hardness requirements to guarantee abrasion resistance.
- Quality
- Surface finish and integrity standards ensure castings are free from cracks, sand, scale, and unacceptable discontinuities.
Applications
Abrasion-resistant cast irons conforming to ASTM A532/A532M-10(2023) are essential materials for components exposed to extreme wear in:
- Mining: Chute liners, mill liners, crusher parts, grinding balls, and slurry pump bodies benefit from the standard’s high abrasion protection.
- Milling: Equipment such as pulverizer hammers and food processing mill liners require superior wear resistance.
- Earth-Handling: Components like excavator teeth and scraper blades demand abrasion-resistant cast irons for longevity.
- Manufacturing: Textile machinery, shot-blast equipment, and cement industry parts utilize these materials for improved efficiency and reduced maintenance frequency.
By ensuring materials meet the strict chemical and mechanical criteria laid out in ASTM A532/A532M-10(2023), industries can achieve reliable uptime, reduced downtime, and lower total cost of ownership.
Related Standards
- ASTM E10: Standard Test Method for Brinell Hardness of Metallic Materials
- ASTM E18: Standard Test Methods for Rockwell Hardness of Metallic Materials
- ASTM E92: Standard Test Methods for Vickers Hardness and Knoop Hardness of Metallic Materials
- ASTM E350: Standard Test Methods for Chemical Analysis of Carbon Steel, Low-Alloy Steel, Silicon Electrical Steel, Ingot Iron, and Wrought Iron
- ASTM E351: Standard Test Methods for Chemical Analysis of Cast Iron - All Types
These related standards provide supporting methodologies for chemical analysis and hardness testing, crucial for ensuring compliance with ASTM A532/A532M-10(2023) in abrasion-resistant cast iron castings.
Keywords: abrasion-resistant cast iron, ASTM A532, high chromium cast iron, white cast iron, wear-resistant materials, mining equipment, industrial castings, hardness testing.
Buy Documents
ASTM A532/A532M-10(2023) - Standard Specification for Abrasion-Resistant Cast Irons
Get Certified
Connect with accredited certification bodies for this standard

Element Materials Technology
Materials testing and product certification.
Inštitut za kovinske materiale in tehnologije
Institute of Metals and Technology. Materials testing, metallurgical analysis, NDT.
Sponsored listings
Frequently Asked Questions
ASTM A532/A532M-10(2023) is a technical specification published by ASTM International. Its full title is "Standard Specification for Abrasion-Resistant Cast Irons". This standard covers: ABSTRACT This specification deals with abrasion-resistant cast irons used for mining, milling, earth-handling, and manufacturing industries. These alloys may be made by melting process and shall have microstructures that consist of carbides, martensite, bainite, austenite, and in exceptional cases, minor amounts of graphite or pearlite. The following conditions for casting will be supplied: as-cast, as-cast and stress relieved, hardened, hardened and stress relieved, or softened for machining. Heat treatment shall be done. The chemical composition of a class and type (that is, Class I, Type A) shall conform to the range of values specified for carbon, manganese, silicon, nickel, chromium, molybdenum, copper, phosphorus, and sulfur. Hardness test shall also be made. SCOPE 1.1 This specification covers a group of white cast irons that have been alloyed to secure high resistance to abrasive wear in the applications of the mining, milling, earth-handling, and manufacturing industries. 1.2 Simple and low-alloy white cast irons that consist essentially of iron carbides and pearlite are specifically excluded from this specification. 1.3 The values stated in either SI units or inch-pound units are to be regarded separately as standard. The values stated in each system may not be exact equivalents; therefore, each system shall be used independently of the other. Combining values from the two systems may result in nonconformance with the standard. 1.4 This international standard was developed in accordance with internationally recognized principles on standardization established in the Decision on Principles for the Development of International Standards, Guides and Recommendations issued by the World Trade Organization Technical Barriers to Trade (TBT) Committee.
ABSTRACT This specification deals with abrasion-resistant cast irons used for mining, milling, earth-handling, and manufacturing industries. These alloys may be made by melting process and shall have microstructures that consist of carbides, martensite, bainite, austenite, and in exceptional cases, minor amounts of graphite or pearlite. The following conditions for casting will be supplied: as-cast, as-cast and stress relieved, hardened, hardened and stress relieved, or softened for machining. Heat treatment shall be done. The chemical composition of a class and type (that is, Class I, Type A) shall conform to the range of values specified for carbon, manganese, silicon, nickel, chromium, molybdenum, copper, phosphorus, and sulfur. Hardness test shall also be made. SCOPE 1.1 This specification covers a group of white cast irons that have been alloyed to secure high resistance to abrasive wear in the applications of the mining, milling, earth-handling, and manufacturing industries. 1.2 Simple and low-alloy white cast irons that consist essentially of iron carbides and pearlite are specifically excluded from this specification. 1.3 The values stated in either SI units or inch-pound units are to be regarded separately as standard. The values stated in each system may not be exact equivalents; therefore, each system shall be used independently of the other. Combining values from the two systems may result in nonconformance with the standard. 1.4 This international standard was developed in accordance with internationally recognized principles on standardization established in the Decision on Principles for the Development of International Standards, Guides and Recommendations issued by the World Trade Organization Technical Barriers to Trade (TBT) Committee.
ASTM A532/A532M-10(2023) is classified under the following ICS (International Classification for Standards) categories: 77.140.80 - Iron and steel castings. The ICS classification helps identify the subject area and facilitates finding related standards.
ASTM A532/A532M-10(2023) has the following relationships with other standards: It is inter standard links to ASTM A532/A532M-10(2019), ASTM E350-23, ASTM E350-18, ASTM A834-95(2020), ASTM F1899-14a(2019), ASTM F3215-22, ASTM F1150-22, ASTM F917-19. Understanding these relationships helps ensure you are using the most current and applicable version of the standard.
ASTM A532/A532M-10(2023) is available in PDF format for immediate download after purchase. The document can be added to your cart and obtained through the secure checkout process. Digital delivery ensures instant access to the complete standard document.
Standards Content (Sample)
This international standard was developed in accordance with internationally recognized principles on standardization established in the Decision on Principles for the
Development of International Standards, Guides and Recommendations issued by the World Trade Organization Technical Barriers to Trade (TBT) Committee.
Designation: A532/A532M − 10 (Reapproved 2023)
Standard Specification for
Abrasion-Resistant Cast Irons
This standard is issued under the fixed designation A532/A532M; the number immediately following the designation indicates the year
of original adoption or, in the case of revision, the year of last revision. A number in parentheses indicates the year of last reapproval.
A superscript epsilon (´) indicates an editorial change since the last revision or reapproval.
This standard has been approved for use by agencies of the U.S. Department of Defense.
1. Scope E351 Test Methods for Chemical Analysis of Cast Iron—All
Types
1.1 This specification covers a group of white cast irons that
have been alloyed to secure high resistance to abrasive wear in
3. Ordering Information
the applications of the mining, milling, earth-handling, and
3.1 Orders for material in this specification should include
manufacturing industries.
the following information:
1.2 Simple and low-alloy white cast irons that consist
3.1.1 Quantity,
essentially of iron carbides and pearlite are specifically ex-
3.1.2 Specification number, class, and type,
cluded from this specification.
3.1.3 Description of the casting, pattern number, or drawing,
1.3 The values stated in either SI units or inch-pound units
3.1.4 Chilling of the casting, if required (see 4.2),
are to be regarded separately as standard. The values stated in
3.1.5 Heat-treat condition (see 5.1),
each system may not be exact equivalents; therefore, each
3.1.6 Hardness level, if supplied hardened or hardened and
system shall be used independently of the other. Combining
stress relieved, and
values from the two systems may result in nonconformance
3.1.7 Hardness method, Brinell, Rockwell, Vickers (see
with the standard.
Section 9). If the hardness method is not specified, it shall be
at the manufacturer’s option.
1.4 This international standard was developed in accor-
dance with internationally recognized principles on standard-
4. Method of Manufacture
ization established in the Decision on Principles for the
Development of International Standards, Guides and Recom-
4.1 These alloys may be made by any suitable melting
mendations issued by the World Trade Organization Technical
process.
Barriers to Trade (TBT) Committee.
4.2 If the casting is to be chilled or otherwise specially
treated on any portion, the inquiries and the purchase order
2. Referenced Documents
shall so state and a properly marked drawing of the casting will
2.1 ASTM Standards:
accompany both the inquiry and the purchase order.
E10 Test Method for Brinell Hardness of Metallic Materials
5. Heat Treatment
E18 Test Methods for Rockwell Hardness of Metallic Ma-
terials
5.1 The casting will be supplied in one of the following
E92 Test Methods for Vickers Hardness and Knoop Hard-
conditions:
ness of Metallic Materials
5.1.1 As cast,
E350 Test Methods for Chemical Analysis of Carbon Steel,
5.1.2 As cast and stress relieved,
Low-Alloy Steel, Silicon Electrical Steel, Ingot Iron, and
5.1.3 Hardened,
Wrought Iron
5.1.4 Hardened and stress relieved, or
5.1.5 Softened for machining.
5.2 Unless otherwise specified by the purchaser, the manu-
This specification is under the jurisdiction of ASTM Committee A04 on Iron
facturer shall supply the castings in the heat treatment he
Castings and is the direct responsibility of Subcommittee A04.01 on Grey and White
deems best for the application.
Iron Castings.
Current edition approved Nov. 1, 2023. Published November 2023. Originally
5.3 If the heat treatment specified for delivered condition is
approved in 1965. Last previous edition approved in 2019 as A532/A532M – 10
not that of final use, it shall be the responsibility of the
(2019). DOI: 10.1520/A0532_A0532M-10R23.
For referenced ASTM standards, visit the ASTM website, www.astm.org, or purchaser to provide the additional heat treatment.
contact ASTM Customer Service at service@astm.org. For Annual Book of ASTM
5.4 Class II and Class III alloys are frequently ordered in the
Standards volume information, refer to the standard’s Document Summary page on
the ASTM website. annealed condition with a maximum hardness of 400 HB. After
Copyright © ASTM International, 100 Barr Harbor Drive, PO Box C700, West Conshohocken, PA 19428-2959. United States
A532/A532M − 10 (2023)
machining operations are performed the castings may then be 6.3.2.1 Molybdenum by the Photometric Method.
hardened. If both annealing and machining are to be performed
by the manufacturer as specified in the inquiry, contract, or
7. Microstructure
order, the purchaser may then specify delivery in the hardened
7.1 The alloys covered by this specification are expected to
condition. If the purchaser specifies delivery in the annealed
have microstructures that consist essentially of carbides,
condition, subsequent hardening (and stress relief, if it is
martensite, bainite, austenite, and in exceptional cases, minor
desired) is the responsibility of the purchaser.
amounts of graphite or pearlite.
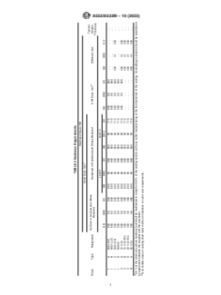
6. Chemical Composition 7.2 The microstructure will not be routinely determined nor
reported except in accordance with special agreement between
6.1 The composition of the metal of a class and type
the manufacturer and the purchaser, or in cases of dispute.
produced under this specification shall fall within the ranges
prescribed in Table 1 for that class and type.
8. Hardne
...




Questions, Comments and Discussion
Ask us and Technical Secretary will try to provide an answer. You can facilitate discussion about the standard in here.
Loading comments...