ASTM F467M-06a(2018)
(Specification)Standard Specification for Nonferrous Nuts for General Use (Metric)
Standard Specification for Nonferrous Nuts for General Use (Metric)
ABSTRACT
This specification covers the requirements for commercial wrought nonferrous nuts in nominal thread diameters M6 to M36 inclusive in a number of alloys in common use and intended for general service applications. Materials shall be tested and shall conform to the chemical composition, hardness, proof stress, proof load, and tensile stress requirements.
SIGNIFICANCE AND USE
11.1 For purposes of determining compliance with the specified limits for requirements of the properties listed in this specification, an observed value or calculated value shall be rounded in accordance with Practice E29.
SCOPE
1.1 This specification covers the requirements for commercial wrought nonferrous nuts in nominal thread diameters M6 to M36 inclusive in a number of alloys in common use and intended for general service applications.
1.2 Applicable bolts, cap screws, and studs for use with nuts covered by this specification are covered by Specification F468M.
1.3 The values stated in SI units are to be regarded as standard. No other units of measurement are included in this standard.
Note 1: This specification is the metric companion of Specification F467.
1.4 This international standard was developed in accordance with internationally recognized principles on standardization established in the Decision on Principles for the Development of International Standards, Guides and Recommendations issued by the World Trade Organization Technical Barriers to Trade (TBT) Committee.
General Information
Relations
Standards Content (Sample)
This international standard was developed in accordance with internationally recognized principles on standardization established in the Decision on Principles for the
Development of International Standards, Guides and Recommendations issued by the World Trade Organization Technical Barriers to Trade (TBT) Committee.
Designation:F467M −06a (Reapproved 2018)
Standard Specification for
Nonferrous Nuts for General Use (Metric)
This standard is issued under the fixed designation F467M; the number immediately following the designation indicates the year of
original adoption or, in the case of revision, the year of last revision.Anumber in parentheses indicates the year of last reapproval.A
superscript epsilon (´) indicates an editorial change since the last revision or reapproval.
This standard has been approved for use by agencies of the U.S. Department of Defense.
1. Scope* E18Test Methods for Rockwell Hardness of Metallic Ma-
terials
1.1 This specification covers the requirements for commer-
E29Practice for Using Significant Digits in Test Data to
cial wrought nonferrous nuts in nominal thread diameters M6
Determine Conformance with Specifications
to M36 inclusive in a number of alloys in common use and
E34Test Methods for Chemical Analysis of Aluminum and
intended for general service applications.
Aluminum-Base Alloys (Withdrawn 2017)
1.2 Applicablebolts,capscrews,andstudsforusewithnuts
E38Methods for Chemical Analysis of Nickel-Chromium
covered by this specification are covered by Specification
and Nickel-Chromium-Iron Alloys (Withdrawn 1989)
F468M.
E53Test Method for Determination of Copper in Unalloyed
Copper by Gravimetry
1.3 The values stated in SI units are to be regarded as
standard. No other units of measurement are included in this E54Test Methods for ChemicalAnalysis of Special Brasses
and Bronzes (Withdrawn 2002)
standard.
E55Practice for Sampling Wrought Nonferrous Metals and
NOTE 1—This specification is the metric companion of Specification
Alloys for Determination of Chemical Composition
F467.
E62Test Methods for Chemical Analysis of Copper and
1.4 This international standard was developed in accor-
CopperAlloys(PhotometricMethods)(Withdrawn2010)
dance with internationally recognized principles on standard-
E75Test Methods for Chemical Analysis of Copper-Nickel
ization established in the Decision on Principles for the
and Copper-Nickel-Zinc Alloys (Withdrawn 2010)
Development of International Standards, Guides and Recom-
E76Test Methods for Chemical Analysis of Nickel-Copper
mendations issued by the World Trade Organization Technical
Alloys (Withdrawn 2003)
Barriers to Trade (TBT) Committee.
E92Test Methods for Vickers Hardness and Knoop Hard-
ness of Metallic Materials
2. Referenced Documents
E101TestMethodforSpectrographicAnalysisofAluminum
2.1 ASTM Standards:
and Aluminum Alloys by the Point-to-Plane Technique
B154Test Method for Mercurous Nitrate Test for Copper
(Withdrawn 1996)
Alloys
E120Test Methods for Chemical Analysis of Titanium and
B574 Specification for Low-Carbon Nickel-Chromium-
Titanium Alloys (Withdrawn 2003)
Molybdenum, Low-Carbon Nickel-Molybdenum-
E165Practice for Liquid Penetrant Examination for General
Chromium, Low-Carbon Nickel-Molybdenum-
Industry
Chromium-Tantalum, Low-Carbon Nickel-Chromium-
E227Test Method for Optical Emission Spectrometric
Molybdenum-Copper, and Low-Carbon Nickel-
Analysis of Aluminum and Aluminum Alloys by the
Chromium-Molybdenum-Tungsten Alloy Rod
Point-to-Plane Technique (Withdrawn 2002)
D3951Practice for Commercial Packaging
E354 Test Methods for Chemical Analysis of High-
Temperature,Electrical,Magnetic,andOtherSimilarIron,
Nickel, and Cobalt Alloys
This specification is under the jurisdiction of ASTM Committee F16 on
E478Test Methods for ChemicalAnalysis of CopperAlloys
Fasteners and is the direct responsibility of Subcommittee F16.04 on Nonferrous
E1409TestMethodforDeterminationofOxygenandNitro-
Fasteners.
gen in Titanium and TitaniumAlloys by Inert Gas Fusion
Current edition approved Sept. 1, 2018. Published September 2018. Originally
F468MSpecificationforNonferrousBolts,HexCapScrews,
approved in 1979. Last previous edition approved in 2012 as F467M–06a(2012).
DOI: 10.1520/F0467M-06AR18.
For referenced ASTM standards, visit the ASTM website, www.astm.org, or
contact ASTM Customer Service at service@astm.org. For Annual Book of ASTM
Standards volume information, refer to the standard’s Document Summary page on The last approved version of this historical standard is referenced on
the ASTM website. www.astm.org.
*A Summary of Changes section appears at the end of this standard
Copyright © ASTM International, 100 Barr Harbor Drive, PO Box C700, West Conshohocken, PA 19428-2959. United States
F467M−06a (2018)
and Studs for General Use (Metric) 4.2.3 Stress Relieving—Whenrequired,stressrelievingshall
F606/F606MTest Methods for Determining the Mechanical be specified by the purchaser for all copper alloys and nickel
Properties of Externally and Internally Threaded alloys 400 and 405.
Fasteners, Washers, Direct Tension Indicators, and Rivets
5. Chemical Composition
F1470Practice for Fastener Sampling for Specified Me-
chanical Properties and Performance Inspection
5.1 Chemical Composition—The nuts shall conform to the
2.2 ASME Standards:
chemical composition specified in Table 1 for the specified
B1.13MMetric Screw Threads
alloy.
B18.2.4.1M MetricHex Nuts, Style 1
5.2 Manufacturer’s Analysis:
5.2.1 Except as provided in 5.2.2, when test reports are
3. Ordering Information
required on the inquiry or purchase order (3.1.8), the manu-
3.1 Orders for nuts under this specification shall include the
facturer shall make individual analyses of randomly selected
following information:
nutsfromtheproducttobeshippedandreporttheresultstothe
3.1.1 Quantity (numbers of pieces of each item and size);
purchaser. Alternatively, if heat and lot identities have been
3.1.2 Name of item;
maintained, the analysis of the raw material from which the
3.1.3 Nominal thread diameter and thread pitch;
nuts have been manufactured may be reported instead of
3.1.4 Alloy number (Table 1);
product analysis.
3.1.5 Stress relieving, if required (4.2.3);
5.2.2 For aluminum nuts, instead of 5.2.1, the manufacturer
3.1.6 “Shipment lot” testing, as required (Section 9);
mayfurnishacertificateofconformancecertifyingcompliance
3.1.7 Source inspection, if required (Section 14);
with the chemical composition specified in Table 1.
3.1.8 Certificate of compliance or test report, if required
5.3 Product Analysis:
(Section 16);
5.3.1 Product analyses may be made by the purchaser from
3.1.9 Additional requirements, if any, to be specified on the
nuts representing each lot. The chemical composition thus
purchase order (4.2.1, 7.2, 8.2, 11.1, and 12.1),
determined shall conform to the requirements in Table 1.
3.1.10 Supplementary requirements, if any; and
5.3.2 In the event of disagreement, a referee chemical
3.1.11 ASTM specification and year of issue.
analysis of samples from each lot shall be made in accordance
NOTE 2—A typical ordering description is as follows: 10000 pieces,
with 11.1 and 12.1.
Hex Nut, M8 × 1.25 Alloy 270, Furnish Certificate of Compliance,
Supplementary Requirement S1, ASTM Specification F467M–XX.
6. Mechanical Properties
4. Materials and Manufacture
6.1 Thenutsshallbetestedinaccordancewiththemechani-
cal testing requirements for the applicable type and shall meet
4.1 Materials:
the mechanical requirements in Table 2 for the specified alloy.
4.1.1 The nuts shall be manufactured from material having
a chemical composition conforming to the requirements in
6.2 Wherebothproofloadandhardnesstestsareperformed,
Table 1 and capable of developing the required mechanical
the proof load test results shall take precedence for acceptance
properties for the specified alloy in the nut. See Specification
purposes.
B574 for nickel alloys.
4.1.2 The starting condition of the raw material shall be at
7. Dimensions
the discretion of the fastener manufacturer but shall be such
7.1 Nuts—Unless otherwise specified, the dimensions of
that the nuts conform to all the specified requirements.
nuts shall be in accordance with the requirements of ASME
4.2 Manufacture:
B18.2.4.1M.
4.2.1 Forming—Unless otherwise specified, the nuts shall
7.2 Threads—Unless otherwise specified, the nuts shall
be hot pressed, cold formed, or machined from suitable
have threads in accordance with ASME B1.13M, tolerance
material at the option of the manufacturer.
Class 6H.
4.2.2 Condition—Except as provided in 4.2.3, the nuts shall
be furnished in the condition specified below:
8. Workmanship, Finish, and Appearance
Alloy Condition
8.1 Workmanship—Nuts shall have a workmanlike finish
Copper (all alloys) As formed or stress relieved at manufacturer’s option
Nickel alloys 400 and As formed or stress relieved at manufacturer’s option free of injurious burrs, seams, laps, irregular surfaces, and
other imperfections affecting serviceability.
Nickel alloy 500 Solution annealed and aged
Aluminum alloys:
8.2 Finish—Unless otherwise specified, the nuts shall be
2024-T4 Solution treated and naturally aged
furnished without any additive chemical or metallic finish.
6061-T6 Solution treated and artificially aged
6262-T9 Solution treated, artificially aged, and cold worked
Titanium As formed 9. Sampling
9.1 Alot, for the purposes of selecting test specimens, shall
consist of not more than 100000 pieces offered for inspection
Available from American Society of Mechanical Engineers (ASME), ASME
at one time having the following common characteristics:
International Headquarters, Two Park Ave., New York, NY 10016-5990, http://
www.asme.org. 9.1.1 One type of item,
F467M−06a (2018)
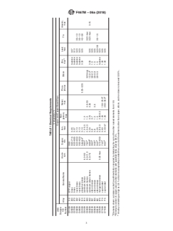
TABLE 1 Chemical Requirements
Composition, %
Copper and Copper-Base Alloys
UNS
Designa-
Man-
Alumi- Copper, Iron, Nickel, Phos- Zinc, Lead, Arsenic,
tion
Alloy General Name ganese, Silicon Tin
A
num min max max phorus max max max
Number
max
C11000 110 ETP copper 99.9
C26000 260 brass 68.5–71.5 0.05 balance 0.07
C27000 270 brass 63.0–68.5 0.07 balance 0.10
C46200 462 naval brass 62.0–65.0 0.10 balance 0.20 0.5–1.0
C46400 464 naval brass 59.0–62.0 0.10 balance 0.20 0.5–1.0
A
C51000 510 phosphor bronze balance 0.10 0.03–0.35 0.30 0.05 4.2–5.8
B
C61400 614 aluminum bronze 6.0–8.0 88.0 1.5–3.5 1.0
B
C63000 630 aluminum bronze 9.0–11.0 78.0 2.0–4.0 1.5 4.0–5.5 0.25 max 0.20 max
B C
C64200 642 aluminum silicon bronze 6.3–7.6 88.65 0.30 0.10 0.25 1.5–2.2 0.50 0.05 0.20 max 0.15
B
C65100 651 silicon bronze 96.0 0.8 0.7 0.8–2.0 1.5 0.05
B
C65500 655 silicon bronze 94.8 0.8 1.5 0.6 2.8–3.8 1.5 0.05
B
C66100 661 silicon bronze 94.0 0.25 1.5 2.8–3.5 1.5 0.20–0.8 0.5–1.5
C67500 675 manganese bronze 0.25 max 57.0–60.0 0.8–2.0 0.05–0.5 balance 0.20
B A
C71000 710 cupro-nickel 74.0 0.60 1.00 19.0–23.0 1.00 0.05
B A
C71500 715 cupro-nickel 65.0 0.40–0.7 1.00 29.0–33.0 1.00 0.05
A
Elements shown as balance shall be arithmetically computed by deducting the sum of the other named elements from 100.
B
Minimum content of copper plus all other elements with specified limits shall be 99.5 %.
C
An alloy containing as high as 2.6 % silicon is acceptable provided the sum of all the elements other than copper, silicon, and iron does not exceed 0.30 %.
F467M−06a (2018)
TABLE1 Continued
Nickel and Nickel-Base Alloys
UNS Mang Phos
General Alumi- Carbon, Chro- Iron, Silicon, Tita- Cobalt, Molyb- Sulfur, Vana- Tung
A A †
Designation Alloy Copper agese, Nickel phorus, Niobium
Name num max mium max max nium max denum max dium sten
Number max max
N10001 335 Ni-Mo 0.05 1.0 max 4.0– 1.0 balance 0.025 1.00 2.50 26.0– 0.030 0.2–
6.0 30.0 0.4
N10276 276 Ni-Mo-Cr 0.02 14.5– 4.0– 1.00 balance 0.040 0.08 2.50 15.0– 0.030 0.35 3.0–
16.5 7.0 17.0 max 4.5
B
N04400 400 Ni-Cu 0.3 balance 2.5 2.0 63.0– 0.5 0.024
Class A 70.0
B
N04405 405 Ni-Cu 0.3 balance 2.5 2.0 63.0– 0.5 0.025–
Class B 70.0 0.060
B
N05500 500 Ni-Cu-Al 2.30– 0.25 balance 2.0 1.5 63.0–7 0.5 0.35– 0.01
3.15 0.0 0.85
N06059 59 Ni-Cr-Mo 0.1– 0.010 22.0– 0.5 max 1.5 0.5 balance 0.015 0.010 0.3 max 15.0– 0.010
0.4 max 24.0 max max max max 16.5 max
C
N06625 625 Ni-Cr- 0.40 0.10 20.0– 5.0 0.50 58.0 min 0.015 0.50 0.40 1.00 8.0– 0.015 3.2–4.2
Mo-Cb max 23.0 max max max max 10.0
N06686 686 Ni-Cr- 0.010 19.0– 5.0 0.75 balance 0.04 0.08 0.02– 15.0– 0.02 3.0–
Mo-W max 23.0 max max max max 0.25 17.0 max 4.4
A
Elements shown as balance shall be arithmetically computed by deducting the sum of the other named elements from 100.
B
Cobalt is to be counted as nickel.
C
Alloy 625 material shall be refined using the electroslag remelting process (ESR), or the vacuum arc remelting process (VAR).
F467M−06a (2018)
TABLE1 Continued
Composition, %
A
Aluminum-Base Alloys
UNS
Other Elements,
Desig-
General Alumi- Chro- Iron, Manganese, Silicon, Titanium, Zinc, Magne- max
nation Alloy Copper
A
Name num mium max max max max max sium
Num-
Each Total
ber
B
A92024 2024 Aluminum balance 0.10 3.8– 0.50 0.30–0.9 0.50 0.15 0.25 1.2– 0.05 0.15
2024 max 4.9 1.8
A96061 6061 Aluminum balance 0.04– 0.15– 0.7 0.15 0.40– 0.15 0.25 0.8– 0.05 0.15
6061 0.35 0.40 0.8 1.2
C
A96262 6262 Aluminum balance 0.04– 0.15– 0.7 0.15 0.40– 0.15 0.25 0.8–
6262 0.14 0.40 0.8 1.2
A
Analysis shall regularly be made only for the elements specified in this table. If, however, the presence of other elements is suspected or indicated in amounts greater than the specified limits, further analysis shall be
made to determine that these elements are not present in excess of the specified limits.
B
Titanium + zirconium 0.20 %, max.
C
Lead 0.4–0.7 %; bismuth 0.4–0.7 %.
F467M−06a (2018)
TABLE1 Continued
A
Titanium and Titanium-Base Alloys
B
UNS
Residuals
Car- Nitro- Oxy- Molyb- Zirco- Sili Ruthe-
Des- General Alumi- Iron, Tita- Hydro- Palla- Vana- Chro- Tin,
Alloy bon, gen, gen, denum, nium, con, nium,
each, total,
ignation Name num, Al Fe nium, Ti gen, H dium, Pd dium, V mium, Cr Sn
C N O Mo Zr Si Ru
max max
Number
R50250 1 Titanium Gr 1 0.10 0.20 balance 0.0125 0.05 0.18 0.1 0.4
R50400 2 Titanium Gr 2 0.10 0.30 balance 0.0125 0.05 0.25 0.1 0.4
R50700 4 Titanium Gr 4 0.10 0.50 balance 0.0125 0.07 0.40 0.1 0.4
R56400 5 Titanium Gr 5 5.5– 0.10 0.40 balance 0.0125 0.05 0.20 3.5– 0.1 0.4
6.75 4.5
R56401 23 Titanium Ti-6Al-4V 5.5– 0.08 0.25 balance 0.0125 0.05 0.13 3.5– 0.1 0.4
ELI 6.5 4.5
R52400 7 Titanium Gr 7 0.10 0.30 balance 0.0125 0.05 0.25 0.12– 0.1 0.4
0.25
C B
R58640 19 Titanium Ti-38-6-44 3.0– 0.05 0.30 balance 0.0200 0.03 0.12 0.10 7.5– 5.5– 3.5– 3.5– 0.10 0.15 0.4
4.0 8.5 6.5 4.5 4.5
R55111 32 Titanium Ti-5-1-1-1 4.5– 0.08 0.25 balance 0.0125 0.03 0.11 0.6– 0.6– 0.6– 0.6– 0.06– 0.1 0.4
5.5 1.4 1.2 1.4 1.4 0.14
A
All reported
...








Questions, Comments and Discussion
Ask us and Technical Secretary will try to provide an answer. You can facilitate discussion about the standard in here.